Главная // Актуальные документы // Акт (форма)СПРАВКА
Источник публикации
М.: Стандартинформ, 2018
Примечание к документу
Текст данного документа приведен с учетом
поправки, опубликованной в "ИУС", N 2, 2020.
Документ
введен в действие с 1 апреля 2019 года.
Название документа
"ГОСТ 34339-2017. Межгосударственный стандарт. Автомобильные транспортные средства. Амортизаторы гидравлические телескопические. Технические требования и методы испытаний"
(введен в действие Приказом Росстандарта от 12.07.2018 N 413-ст)
"ГОСТ 34339-2017. Межгосударственный стандарт. Автомобильные транспортные средства. Амортизаторы гидравлические телескопические. Технические требования и методы испытаний"
(введен в действие Приказом Росстандарта от 12.07.2018 N 413-ст)
агентства по техническому
регулированию и метрологии
от 12 июля 2018 г. N 413-ст
МЕЖГОСУДАРСТВЕННЫЙ СТАНДАРТ
АВТОМОБИЛЬНЫЕ ТРАНСПОРТНЫЕ СРЕДСТВА
АМОРТИЗАТОРЫ ГИДРАВЛИЧЕСКИЕ ТЕЛЕСКОПИЧЕСКИЕ
ТЕХНИЧЕСКИЕ ТРЕБОВАНИЯ И МЕТОДЫ ИСПЫТАНИЙ
Motor vehicles. Hydraulic telescopic shock absorbers.
Technical requirements and test methods
ГОСТ 34339-2017
Дата введения
1 апреля 2019 года
Цели, основные принципы и основной порядок проведения работ по межгосударственной стандартизации установлены в
ГОСТ 1.0-2015 "Межгосударственная система стандартизации. Основные положения" и
ГОСТ 1.2-2015 "Межгосударственная система стандартизации. Стандарты межгосударственные, правила и рекомендации по межгосударственной стандартизации. Правила разработки, принятия, обновления и отмены"
1 РАЗРАБОТАН Федеральным государственным унитарным предприятием "Центральный ордена Трудового Красного Знамени научно-исследовательский автомобильный и автомоторный институт "НАМИ" (ФГУП "НАМИ")
2 ВНЕСЕН Межгосударственным техническим комитетом по стандартизации МТК 56 "Дорожный транспорт"
3 ПРИНЯТ Межгосударственным советом по стандартизации, метрологии и сертификации (протокол от 30 ноября 2017 г. N 52)
За принятие проголосовали:
Краткое наименование страны по МК (ИСО 3166) 004-97 | Код страны по МК (ИСО 3166) 004-97 | Сокращенное наименование национального органа по стандартизации |
Казахстан | KZ | Госстандарт Республики Казахстан |
Киргизия | KG | Кыргызстандарт |
Россия | RU | Росстандарт |
Узбекистан | UZ | Узстандарт |
Украина | UA | Минэкономразвития Украины |
4
Приказом Федерального агентства по техническому регулированию и метрологии от 12 июля 2018 г. N 413-ст межгосударственный стандарт ГОСТ 34339-2017 введен в действие в качестве национального стандарта Российской Федерации с 1 апреля 2019 г.
5 ВВЕДЕН ВПЕРВЫЕ
Информация об изменениях к настоящему стандарту публикуется в ежегодном информационном указателе "Национальные стандарты", а текст изменений и поправок - в ежемесячном информационном указателе "Национальные стандарты". В случае пересмотра (замены) или отмены настоящего стандарта соответствующее уведомление будет опубликовано в ежемесячном информационном указателе "Национальные стандарты". Соответствующая информация, уведомление и тексты размещаются также в информационной системе общего пользования - на официальном сайте Федерального агентства по техническому регулированию и метрологии в сети Интернет (www.gost.ru)
Настоящий стандарт распространяется на гидравлические телескопические (в том числе газонаполненные) амортизаторы (демпферы), включая амортизаторные стойки и патроны к ним, предназначенные для применения в автотранспортных средствах (АТС).
Стандарт устанавливает технические требования к амортизаторам, методы и объемы стендовых испытаний амортизаторов.
В настоящем стандарте использованы нормативные ссылки на следующие межгосударственные стандарты:
ГОСТ 15140-78 Материалы лакокрасочные. Методы определения адгезии
ГОСТ 15150-69 Машины, приборы и другие технические изделия. Исполнения для различных климатических районов. Категории, условия эксплуатации, хранения и транспортирования в части воздействия климатических факторов внешней среды
ГОСТ ISO 2859-1-2009 Статистические методы. Процедуры выборочного контроля по альтернативному признаку. Часть 1. Планы выборочного контроля последовательных партий на основе приемлемого уровня качества <1>
--------------------------------
<1> В Российской Федерации действует
ГОСТ Р ИСО 2859-1-2007 "Статистические методы. Процедуры выборочного контроля по альтернативному признаку. Часть 1. Планы выборочного контроля последовательных партий на основе приемлемого уровня качества".
Примечание - При пользовании настоящим стандартом целесообразно проверить действие ссылочных стандартов в информационной системе общего пользования - на официальном сайте Федерального агентства по техническому регулированию и метрологии в сети Интернет или по ежегодному информационному указателю "Национальные стандарты", который опубликован по состоянию на 1 января текущего года, и по выпускам ежемесячного информационного указателя "Национальные стандарты" за текущий год. Если ссылочный стандарт заменен (изменен), то при пользовании настоящим стандартом следует руководствоваться заменяющим (измененным) стандартом. Если ссылочный стандарт отменен без замены, то положение, в котором дана ссылка на него, применяется в части, не затрагивающей эту ссылку.
3.1 Амортизаторы должны соответствовать требованиям настоящего стандарта и конструкторской документации (КД), утвержденной в установленном порядке.
3.2 На поверхности амортизатора не допускается наличие неокрашенных зон (кроме зон, допускаемых чертежами), следов амортизаторной жидкости, механических повреждений и дефектов, затрудняющих монтаж и обусловливающих ухудшение работы амортизаторов, а также не допускаются изгибы штока, повреждение его рабочей поверхности и присоединительных деталей, деформация резервуаров, проушин, кожухов и т.п.
3.3 Лакокрасочное покрытие должно соответствовать требованиям стандартов, указанных в КД, быть стойким при воздействии жидких топлив и влажной среды в условиях повышенной температуры, а также иметь достаточное сцепление (адгезию) с металлическими поверхностями. Контроль качества окраски амортизаторов производят в соответствии с
5.7.
3.4 Амортизаторы должны работать без стуков, скрипов и заеданий на всей длине полного хода поршня при любом относительном повороте подвижных деталей. Усилия, необходимые для сдвига и перемещения подвижных деталей, должны соответствовать КД на амортизатор.
3.5 При контроле шумности работы амортизаторов легковых автомобилей характер и уровень шума необходимо сопоставлять с контрольными образцами амортизаторов, утвержденными в качестве эталона. При этом уровень шума не должен превышать 75 дБА.
3.6 Рабочие диаграммы амортизаторов должны соответствовать значениям, приведенным в КД. При максимальных скоростях поршня от 0,25 до 0,52 м/с (клапанный режим) отклонения сил сопротивления амортизаторов от средних значений должны находиться в пределах +/- 15% при отбое и +/- 20% при сжатии. При максимальных скоростях поршня от 0,08 до 0,20 м/с (дроссельный режим) предельные отклонения сил сопротивления амортизаторов от их средних значений должны находиться в пределах +/- 30% при отбое и +/- 50% при сжатии.
3.7 Сила сопротивления амортизатора не должна уменьшаться при повышении температуры от 20 °C до 80 °C более чем на 30% от первоначального значения как при отбое, так и при сжатии.
3.8 Долговечность амортизаторов, устанавливаемых на АТС, определяют по снижению их сил сопротивлений до предельно допускаемого уровня, равного 75% минимальной силы сопротивления амортизатора, как при отбое, так и при сжатии. Контроль рабочих диаграмм амортизаторов в процессе их эксплуатации на базовых АТС проводят в соответствии с требованиями
раздела 5 при максимальных скоростях поршня от 0,25 до 0,52 м/с, соответствующих режиму стендовых испытаний на предприятии-изготовителе. Ресурс амортизатора должен быть не менее 50% ресурса до первого капитального ремонта базового АТС.
4.1 Изготовленные амортизаторы (далее в разделе - изделия) до их отгрузки, передачи или продажи потребителю подлежат приемке с целью удостоверения их годности для использования в соответствии с требованиями, установленными в настоящем стандарте и в КД, договорах, контрактах (далее в разделе - нормативная и техническая документация).
4.2 Для контроля качества выпускаемой продукции изделия подвергают:
- приемке (контролю) службой технического контроля (СТК);
- периодическим испытаниям (сертификационным);
- типовым испытаниям (при внесении предлагаемых изменений в конструкцию выпускаемых изделий и (или) технологию их изготовления).
4.3 Приемка СТК и периодические испытания в совокупности должны обеспечивать достоверную проверку всех свойств выпускаемых изделий, подлежащих контролю на соответствие требованиям нормативной и технической документации.
4.4 Применяемые при испытаниях и контроле средства измерений и контроля должны быть поверены, а испытательное оборудование аттестовано в установленном порядке.
4.5 Результаты испытаний и контроля единиц изделия считают положительными, а единицы изделия - выдержавшими испытания, если они испытаны в объеме и последовательности, которые установлены для данной категории испытаний (контроля), а результаты подтверждают соответствие испытуемых единиц изделия заданным требованиям.
4.6 Результаты испытаний единиц изделия считают отрицательными, а единицы изделия - не выдержавшими испытания, если по результатам испытаний будет установлено несоответствие единицы изделия хотя бы одному требованию, установленному в нормативной и технической документации для проводимой категории испытаний.
4.7 Приемка изделий службой технического контроля
4.7.1 Изделия должны быть приняты СТК предприятия-изготовителя согласно технологическому процессу и должны иметь ее приемочное клеймо. Места и тип клеймения СТК должны быть установлены в технической документации предприятия-разработчика.
Приемку СТК проводят методом сплошного и выборочного контроля.
Сплошным контролем определяются параметры рабочих диаграмм при клапанном режиме работы, для чего у всех изготовляемых амортизаторов должна проводиться запись рабочих диаграмм при клапанном режиме.
При выборочном контроле проводят испытания, указанные в таблице 1, при этом объем выборки должен быть не меньше, чем указано в таблице 1.
Таблица 1
Цель испытания | Количество ежедневно подвергаемых испытаниям амортизаторов каждого наименования в процентах к суточному выпуску, не менее |
Выпуск амортизаторов, млн/год |
до 0,5 | от 0,5 до 1,5 | от 1,5 до 5,0 |
1 Испытание на герметичность | 5,0 | 2,5 | 1,0 |
2 Определение усилия сдвига штока и плавности перемещения подвижных деталей | 5,0 | 2,5 | 1,0 |
3 Контроль шумности работы амортизаторов легковых автомобилей | 5,0 | 2,5 | 1,0 |
4 Запись рабочих диаграмм на клапанном и дроссельном режимах, согласованных с потребителем | 0,5 | 0,4 | 0,1 |
При выборочном контроле рекомендуется применять процедуры выборочного контроля по
ГОСТ ISO 2859-1. При этом значения объема выборки и приемлемого уровня качества (AQL) должны назначаться из установленных в
ГОСТ ISO 2859-1 для одноступенчатого плана при нормальном контроле с приемочным числом Ac = 0 и браковочным числом Re = 1.
4.7.2 Основанием для принятия решения о приемке единиц (партий) изделий СТК являются положительные результаты предшествующих периодических испытаний, проведенных в установленные сроки.
4.7.3 Правила отбора образцов:
а) предъявление изделий на приемку СТК осуществляют поштучно либо партиями, что отражают в предъявительском документе, оформляемом в порядке, принятом у изготовителя. Партией считают изделия одного варианта конструкции (модели, модификации, вариантного исполнения, комплектации), изготовленные за одну смену;
б) образцы изделий, предъявляемые на приемку СТК, должны быть укомплектованы в соответствии с требованиями нормативной и технической документации;
в) в процессе контроля СТК не допускается подстраивать (регулировать) образцы изделий и заменять входящие в них сменные элементы, если это не предусмотрено специальными требованиями нормативной и технической документации.
4.7.4 Приемку изделий СТК приостанавливают в следующих случаях:
- изделия не выдержали периодических испытаний;
- обнаружены нарушения выполнения технологического процесса (в том числе обнаружены несоответствия установленным требованиям средств испытаний и контроля), приводящие к неисправимым дефектам изделий.
Примечания
1 Приемку изделий могут приостанавливать также в других случаях по усмотрению предприятия-изготовителя, что рекомендуется отражать в документации, действующей у предприятия-изготовителя, в соответствии с действующей на предприятии системой менеджмента качества.
2 В случае приостановки приемки изделий изготовление и проводимую техническую проверку (или приемку) деталей и сборочных единиц, не подлежащих самостоятельной поставке, разрешается продолжать (кроме тех, дефекты которых являются причиной приостановки приемки).
4.7.5 Решение о возобновлении приемки изделий СТК принимает руководство предприятия-изготовителя после устранения причин приостановки приемки и оформления соответствующего документа.
Если приемка изделий была приостановлена вследствие отрицательных результатов периодических испытаний, то решение о возобновлении приемки принимают после выявления причин возникновения дефектов, их устранения и получения положительных результатов повторно проводимых периодических испытаний.
4.7.6 Изделия, принятые СТК, подлежат отгрузке или передаче на ответственное хранение. Изготовитель должен обеспечить сохранение качества изделий после приемки СТК вплоть до доставки к месту назначения, если это определено условиями договора (контракта).
4.8 Правила проведения периодических испытаний
4.8.1 Периодические испытания проводят для периодического подтверждения качества изделий и стабильности технологического процесса в установленный период с целью подтверждения возможности продолжения изготовления изделий по действующей конструкторской и технологической документации и продолжения ее приемки СТК.
Последовательность проведения испытаний должна быть установлена в технической документации предприятия-разработчика.
4.8.2 При периодических испытаниях амортизаторы проверяют на соответствие требованиям настоящего стандарта в объеме и с периодичностью, указанными в таблице 2.
Таблица 2
Цель испытания | Количество ежедневно подвергаемых испытаниям амортизаторов каждого наименования, шт., не менее |
Выпуск амортизаторов, млн/год |
до 0,5 | от 0,5 до 1,5 | от 1,5 до 5,0 |
1 Определение стендовой долговечности | 2 | 3 | 4 |
2 Испытание лакокрасочного покрытия: | | | |
- на воздействие жидких топлив; | 8 | 8 | 8 |
- на воздействие влажной среды при повышенной температуре; | 8 | 8 | 8 |
- контроль адгезии | 8 | 8 | 8 |
Примечание - Количество образцов для сертификационных испытаний устанавливает испытательная лаборатория. |
Календарные сроки проведения периодических испытаний устанавливают в графиках, которые составляет предприятие-изготовитель.
В графике указывают: место и сроки проведения испытаний, сроки оформления документации по результатам испытаний.
Графики оформляют в соответствии с порядком, принятым на предприятии-изготовителе.
4.8.3 Периодические испытания проводит изготовитель с привлечением, при необходимости, других заинтересованных сторон, в том числе представителей потребителя.
4.8.4 Правила отбора образцов:
а) образцы изделий для проведения очередных периодических испытаний отбирают, как правило, из числа единиц изделий, изготовленных за одну смену производственного цикла, предшествующую очередным испытаниям, и прошедших приемку СТК;
б) образцы изделий, предъявляемые на периодические испытания, должны быть укомплектованы в соответствии с требованиями нормативной и технической документации;
в) в процессе периодических испытаний не допускается подстраивать (регулировать) образцы изделий и заменять входящие в них сменные элементы, если это не предусмотрено специальными требованиями нормативной и технической документации;
г) отбор изделий оформляют документально в порядке, установленном предприятием-изготовителем.
4.8.5 Периодические испытания проводят методом выборочного контроля. Система, схема и план приемочного контроля, включая объем выборки, устанавливаются в КД.
4.8.6 При получении положительных результатов периодических испытаний качество изделий контролируемого периода считается подтвержденным по показателям, проверяемым в составе периодических испытаний. Также считается подтвержденной возможность дальнейшего изготовления и приемки изделий (по той же документации, по которой изготовлены изделия, подвергнутые данным периодическим испытаниям) до получения результатов очередных (последующих) периодических испытаний, проведенных с соблюдением установленных норм периодичности.
Примечание - При условии применения единого технологического процесса для изготовления вариантов конструкций (комплектаций и вариантных исполнений) базовой модели (или модификации базовой модели) изделия допускается положительные результаты периодических испытаний образцов базовой модели (или модификации базовой модели) распространять на совокупность вариантов конструкций (комплектации и вариантные исполнения).
4.8.7 Если образцы изделий не выдержали периодических испытаний, то приемку изделий СТК и их отгрузку потребителю приостанавливают до выявления причин возникновения дефектов, их устранения и получения положительных результатов повторных периодических испытаний.
Предприятие-изготовитель должно проанализировать результаты периодических испытаний для выявления причин появления и характера дефектов, составить перечень дефектов и мероприятий по устранению дефектов и (или) причин их появления, который оформляют в порядке, принятом на предприятии-изготовителе.
4.8.8 Если данные проведенного анализа показывают, что обнаруженные дефекты существенно снижают технические характеристики изделий, а также могут привести к причинению вреда для жизни, здоровья и имущества граждан и окружающей среды, то все принятые (но неотгруженные) изделия, в которых могут быть подобные дефекты, возвращают на доработку (замену), а по всем принятым и отгруженным изделиям, в которых могут быть подобные дефекты, принимают решение, не противоречащее интересам потребителей.
4.8.9 Повторные периодические испытания проводят в полном объеме периодических испытаний на доработанных (или вновь изготовленных) образцах изделий после устранения дефектов.
К моменту проведения повторных периодических испытаний должны быть представлены материалы, подтверждающие устранение дефектов, выявленных при периодических испытаниях, и принятие мер по их предупреждению.
В технически обоснованных случаях в зависимости от характера дефектов повторные периодические испытания допускается проводить по сокращенной программе, включая только те виды испытаний, при проведении которых обнаружено несоответствие изделий установленным требованиям, а также виды, по которым испытания не проводились.
4.8.10 При положительных результатах повторных периодических испытаний приемку изделий СТК и их отгрузку потребителю возобновляют.
4.8.11 При получении отрицательных результатов повторных периодических испытаний предприятие-изготовитель принимает решение о прекращении приемки изделий, изготовленных по той же документации, по которой изготовлялись единицы изделий, не подтвердившие качество изделий за установленный период, и о принимаемых мерах по отгруженным (реализованным) изделиям.
В случае невозможности устранения изготовителем причин выпуска изделий с дефектами, которые могут принести вред здоровью и имуществу граждан и окружающей среде, такие конструкции изделий снимаются с производства.
4.8.12 Решение об использовании образцов изделий, подвергавшихся периодическим испытаниям, принимают руководство предприятия-изготовителя и потребитель на взаимоприемлемых условиях, руководствуясь условиями договоров на поставку изделий и рекомендациями соответствующих правовых актов.
4.9 Правила проведения типовых испытаний
4.9.1 Типовые испытания изделий проводят с целью оценки эффективности и целесообразности предлагаемых изменений в конструкции или технологии изготовления, которые могут повлиять на технические характеристики изделий, связанные с безопасностью для жизни, здоровья или имущества граждан или на соблюдение условий охраны окружающей среды, либо могут повлиять на эксплуатацию изделий, в том числе на важнейшие потребительские свойства изделий.
4.9.2 Необходимость внесения изменений в конструкцию изделий или технологию их изготовления и проведения типовых испытаний определяет держатель подлинников КД на изделия (далее - разработчик изделия) с учетом действия и защиты авторского права.
4.9.3 Типовые испытания проводит предприятие-изготовитель или по договору с ним и при его участии испытательная (сторонняя) организация с участием, при необходимости, представителей разработчика изделия, потребителя, природоохранных органов и других заинтересованных сторон.
4.9.4 Типовые испытания проводят по разработанным разработчиком изделия программе и методикам, которые в основном должны содержать:
- необходимые проверки из состава периодических испытаний;
- требования по количеству образцов, необходимых для проведения типовых испытаний;
- указание об использовании образцов, подвергнутых типовым испытаниям.
В программу типовых испытаний, при необходимости, могут быть включены также специальные испытания (например, сравнительные испытания образцов изделий, изготовленных без учета и с учетом предлагаемых изменений, а также испытания из состава проводившихся испытаний опытных образцов изделий или испытаний, проводившихся при постановке изделий на производство).
Объем испытаний и контроля, включаемых в программу, должен быть достаточным для оценки влияния вносимых изменений на характеристики изделий, в том числе на ее безопасность, на взаимозаменяемость и совместимость, на ремонтопригодность, на производственную и эксплуатационную технологичность, а также на утилизируемость изделий.
4.9.5 Программу и методики (при отсутствии стандартизованных) типовых испытаний разрабатывает разработчик изделий, который в установленном порядке утверждает конструкторскую или технологическую документацию на изделия.
4.9.6 Типовые испытания проводят на образцах изделий, изготовленных с внесением в конструкцию или технологию изготовления предлагаемых изменений.
4.9.7 Результаты типовых испытаний считают положительными, если полученные фактические данные по всем видам проверок, включенных в программу типовых испытаний, свидетельствуют о достижении требуемых значений показателей изделий (технологического процесса), оговоренных в программе и методике, и достаточны для оценки эффективности (целесообразности) внесения изменений.
4.9.8 Если эффективность и целесообразность предлагаемых изменений конструкции (технологии изготовления) подтверждены положительными результатами типовых испытаний, то эти изменения вносят в документацию на изделия в соответствии с установленным порядком.
4.9.9 Если эффективность и целесообразность предлагаемых изменений не подтверждены положительными результатами типовых испытаний, то эти изменения в соответствующую утвержденную и действующую документацию на продукцию не вносят и принимают решение по использованию образцов изделий, изготовленных для проведения типовых испытаний (в соответствии с требованиями программы испытаний).
4.10 Отчетность о результатах испытаний
4.10.1 Результаты каждого испытания, проведенного испытательной лабораторией (далее - лаборатория), должны быть оформлены точно, четко, недвусмысленно и объективно.
Примечание - Под "испытательной лабораторией" в настоящем стандарте подразумеваются предприятия (организации), центры, специальные лаборатории, подразделения предприятий (организаций), являющиеся первой, второй или третьей стороной и осуществляющие испытания, которые, в том числе, составляют часть контроля при производстве и сертификации продукции.
4.10.2 Результаты испытаний оформляют протоколом испытаний, в котором указывают всю информацию, необходимую для толкования результатов испытаний.
4.10.3 Каждый протокол испытаний должен содержать, по крайней мере, следующую информацию (если лаборатория не имеет обоснованных причин не указывать ту или иную информацию):
а) наименование документа - "Протокол испытаний";
б) вид испытаний (периодические, типовые и др.);
в) уникальную идентификацию протокола испытаний (например, серийный номер), а также идентификацию на каждой странице, чтобы обеспечить признание страницы как части протокола испытаний;
г) нумерацию страниц с указанием общего числа страниц;
д) наименование и адрес лаборатории, а также место проведения испытаний, если оно не находится по адресу лаборатории;
е) наименование и адрес изготовителя испытываемого изделия;
ж) идентификацию используемого метода;
и) описание, состояние и недвусмысленную идентификацию испытываемого изделия (модель, тип, марка и т.п.);
к) дату получения изделия, подлежащего испытаниям, если это существенно для достоверности и применения результатов, а также дату проведения испытаний;
л) ссылку на метод отбора образцов, используемый лабораторией, если он имеет отношение к достоверности и применению результатов;
м) результаты испытаний с указанием (при необходимости) единиц измерений;
н) имя, должность и подпись лица, утвердившего протокол испытаний;
п) при необходимости указание на то, что результаты относятся только к изделиям, прошедшим испытания.
Примечание - Лабораториям рекомендуется делать запись в протоколе испытаний или прилагать заявление о том, что протокол испытаний не может быть полностью или частично воспроизведен без письменного разрешения лаборатории.
4.10.4 В дополнение к требованиям, перечисленным в
4.10.3, протоколы испытаний должны, если это необходимо для толкования результатов испытаний, включать следующее:
а) отклонения, дополнения или исключения, относящиеся к методу испытаний, а также информацию о специальных условиях испытаний, таких как условия окружающей среды;
б) указание на соответствие/несоответствие требованиям и/или техническим условиям;
в) мнения и толкования, которые могут, в частности, касаться следующего:
- мнения о соответствии/несоответствии результатов требованиям;
- рекомендаций по использованию результатов;
- мнения по улучшению образцов.
4.10.5 В дополнение к требованиям, приведенным в
4.10.3 и
4.10.4, протоколы испытаний, содержащие результаты отбора образцов, должны включать, если это необходимо для толкования результатов испытаний, следующее:
- дату отбора образцов;
- однозначную идентификацию изделий, образцы которых отбирались (включая, при необходимости, наименование производителя, обозначение модели или типа и серийные номера);
- место, где проводился отбор образцов, включая любые графики, эскизы или фотографии;
- ссылку на план и процедуры отбора образцов;
- подробное описание условий окружающей среды во время проведения отбора образцов, которые могут повлиять на истолкование результатов испытаний;
- ссылку на любой стандарт или другую нормативную и техническую документацию, касающиеся метода или процедуры отбора образцов, а также отклонения, дополнения или исключения из соответствующей нормативной и технической документации.
4.10.6 Рекомендуемая форма протокола испытаний приведена в приложении А
(форма А.1).
4.10.7 По результатам испытаний (периодических, типовых и др.) также оформляют акт. Рекомендуемые формы актов испытаний приведены в приложении А (
формы А.2 и
А.3).
5.1 Условия проведения испытаний
5.1.1 Требования к стендам
5.1.1.1 Для проведения испытаний по
5.2,
5.4 -
5.8 применяют стенды, обеспечивающие прямолинейное возвратно-поступательное движение поршня или рабочего цилиндра по закону колебаний, близкому к синусоидальному.
Стенды должны обеспечивать возможность регулировать амплитуды и частоты колебаний поршня или цилиндра амортизатора. Допускается применение стендов с постоянной амплитудой и частотой колебаний поршня.
5.1.1.2 Стенды для записи рабочих диаграмм должны быть однопозиционными или двухпозиционными, стенды для определения герметичности должны обеспечивать испытания одного или нескольких амортизаторов.
5.1.1.3 Стенды для испытаний в соответствии с
5.5 и
5.6 должны быть оснащены аппаратурой для записи рабочих диаграмм амортизаторов.
5.1.1.4 Стенд для определения плавности перемещения подвижных деталей амортизатора должен иметь:
- механизм, обеспечивающий возвратно-поступательное перемещение подвижных деталей амортизатора с постоянной скоростью на длине не менее 80% максимального хода;
- устройство для замера усилий сдвига подвижных деталей в начале ходов отбоя и сжатия, а также при их движении.
5.1.2 Требования к точности стендов
5.1.2.1 Погрешность установки хода ползуна - +/- 1 мм.
5.1.2.2 Отклонение частоты колебаний - не более 2%.
5.1.3 Требования к измерениям и измерительной аппаратуре
5.1.3.1 Погрешность измерения температуры амортизатора - +/- 2 °C.
5.1.3.2 Комплекс измерительной и записывающей аппаратуры стенда для записи рабочих диаграмм амортизаторов должен обеспечивать фиксирование сил при статической тарировке с погрешностью не более 2%. Общая погрешность определения сопротивлений амортизатора не должна превышать +/- 5%.
5.1.4 При испытаниях в соответствии
5.2 -
5.5 (кроме
5.3.3) установка амортизатора на стенд должна имитировать установку на АТС - осевое усилие на шток, создаваемое стендом, должно создавать изгибающий момент на штоке равный по величине и направлению моменту, возникающему от такого же осевого усилия при работе амортизатора на АТС, для которого амортизатор предназначен.
При испытаниях в соответствии с
5.4,
5.5 амортизаторы (кроме телескопических амортизаторных стоек) следует устанавливать на стенд с применением резиновых деталей, используемых на соответствующих автомобилях.
5.2 Перед испытаниями на стендах должен быть проведен наружный осмотр амортизатора, при котором проверяют комплектность, отсутствие механических повреждений, наличие контрольных клейм и маркировки, а также определяют длины амортизатора в растянутом и сдвинутом состояниях, величину полного хода поршня и массу амортизатора.
5.3 Испытания на герметичность
5.3.1 Герметичность амортизаторов определяют прокачкой на стенде с последующим вылеживанием.
5.3.2 При проверке на герметичность прокачкой амортизатор должен проработать на стенде не менее 6 с при скоростях поршня, согласно
5.5.1.1. При этом температура амортизатора должна быть не более 100 °C.
5.3.3 Проверку амортизатора на герметичность вылеживанием в статическом положении проводят в чистом сухом помещении не менее 12 ч, а амортизаторной стойки не менее 4 ч. При этом амортизатор находится в горизонтальном положении, а его шток вдвинут до упора.
5.3.4 При проверке амортизаторов на герметичность методом прокачки подтекания жидкости через уплотнения штока (помимо неизбежной смазки трущихся поверхностей штока) не допускаются. После вылеживания амортизаторов их нижние опорные наружные поверхности резервуара и кожуха должны быть сухими без следов жидкости.
5.4 Определение плавности перемещения подвижных деталей
5.4.1 Испытания проводят на специальном стенде, обеспечивающем медленное (при постоянной скорости в пределах от 0,005 до 0,010 м/с) перемещение штока на длине не менее 80% от максимального хода S амортизатора, но не более 200 мм. При этом одновременно производят запись статической рабочей диаграммы амортизатора (зависимость силы сопротивления F от хода поршня S при медленном его перемещении) - рисунок 1.
Рисунок 1 - Статические рабочие диаграммы амортизаторов
5.4.2 Испытания проводят при трех различных угловых положениях штока относительно резервуара с относительным углом сдвига, равным 120°.
5.4.3 В процессе испытаний подвижные детали амортизаторов, установленных вертикально, должны перемещаться плавно, без заеданий, а уровни регистрируемых сил сопротивлений не должны превышать предельных значений Fп, указанных в КД.
- максимальные (для трех положений) значения сил сопротивлений хода сжатия Fс и отбоя Fо при среднем положении поршня S;
- силы механического трения T при среднем положении поршня, вычисляемые по формулам:
- для двухтрубных амортизаторов

, (1)
- для однотрубных амортизаторов

, (2)
- выталкивающую силу газа Pв газонаполненных амортизаторов вычисляют по формуле

. (3)
5.5 Запись рабочих диаграмм
5.5.1 Запись рабочих диаграмм (зависимость силы сопротивления F от хода поршня S) амортизаторов проводят на стенде при скоростях поршня, обеспечивающих работу амортизаторов как с открытыми, так и с закрытыми клапанами отбоя и сжатия.
5.5.1.1 Запись рабочих диаграмм при работе амортизаторов с открывающимися клапанами отбоя и сжатия проводят при максимальной скорости поршня в пределах от 0,25 до 0,52 м/с.
При этом величина хода поршня должна быть не менее 80% его полного хода (с округлением до целых десятков миллиметров), но не более 100 мм.
Частота колебаний должна обеспечивать указанную выше скорость.
Примечание - Полным ходом поршня следует считать разность длин амортизаторов в растянутом и сдвинутом состояниях. Полный ход меньше максимального у амортизаторов с ограничителями хода, у которых полный ход соответствует поставленным, а максимальный - снятым ограничителям.
5.5.1.2 Запись рабочих диаграмм при работе амортизаторов с закрытыми клапанами проводят при максимальной скорости поршня в пределах от 0,08 до 0,20 м/с.
5.5.2 Температура амортизатора перед испытаниями должна быть в пределах от 15 °C до 30 °C.
5.5.3 В начале испытаний и в случае их перерывов запись рабочих диаграмм следует проводить после выполнения прокачки (не менее четырех циклов).
5.5.4 По рабочей диаграмме (примеры диаграмм -
рисунки 2 и
3) определяют следующие параметры:
- максимальные силы сопротивления хода отбоя Fо и хода сжатия Fс;
- энергию (работу), поглощаемую амортизатором в течение полного цикла, а также отдельно энергию ходов отбоя и сжатия.
Энергию следует определять по площади рабочей диаграммы (или ее части) с учетом масштабов по осям S и F.
Рисунок 2 - Рабочая диаграмма при работе амортизатора
с открывающимися клапанами отбоя и сжатия
Рисунок 3 - Рабочая диаграмма при работе амортизатора
с закрытыми клапанами отбоя и сжатия
5.6 Построение характеристики амортизатора
5.6.1 Характеристику амортизатора, являющуюся зависимостью сопротивления амортизатора от скорости перемещения поршня, строят по рабочим диаграммам, записанным на ходах поршня и частотах, обеспечивающих максимальные скорости поршня в пределах от 0,08 до 1,00 м/с. В этом диапазоне должно быть записано не менее 10 рабочих диаграмм в соответствии с
5.5.
5.6.2 Для определения влияния нагрева амортизатора на характеристику испытания повторяют при температуре от 80 °C до 100 °C.
5.6.3 По записанным рабочим диаграммам определяют максимальные значения сил сопротивления отбоя и сжатия, а по величинам хода и частотам колебаний поршня максимальные скорости последнего. По этим данным строят характеристику зависимости сопротивления амортизатора от скорости перемещения поршня (рисунок 4).
Рисунок 4 - Зависимость сопротивления амортизатора
от скорости перемещения поршня
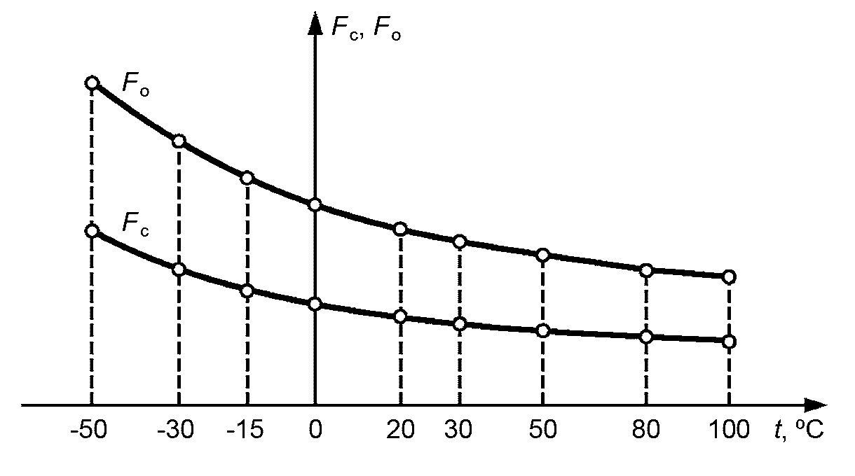
5.6.4 Построение температурной характеристики амортизатора
5.6.4.1 Температурную характеристику (зависимость сил сопротивления амортизатора от температуры) строят по рабочим диаграммам
(5.5.1.1) при следующих температурах амортизатора: минус 50 °C, минус 30 °C, минус 15 °C, 0 °C, 20 °C, 30 °C, 50 °C, 80 °C, 100 °C.
Амортизатор перед началом испытаний охлаждают до температуры минус 60 °C, а затем работой на стенде постепенно доводят его температуру до указанных значений и записывают рабочие диаграммы при постоянной максимальной скорости.
Место замера температуры должно быть указано в КД на амортизатор.
5.6.4.2 По полученным максимальным значениям сил сопротивления отбоя и сжатия строят температурную характеристику (рисунок 5).
Рисунок 5 - Температурная характеристика амортизатора
5.6.4.3 Величина минимальной температуры начала испытаний может быть повышена в зависимости от типа исполнения амортизаторов по
ГОСТ 15150.
5.7 Испытание лакокрасочного покрытия
5.7.1 Испытания на воздействие особых сред
Облить окрашенную наружную поверхность амортизатора этилированным бензином АИ 93 по
ГОСТ 2084. Установить амортизатор под углом 45° к вертикали и выдержать до полного испарения бензина. По окончании испытаний краска не должна иметь шероховатостей, пузырей, наплывов.
5.7.2 Испытания на влагоустойчивость
Амортизатор выдерживают в камере при температуре в пределах от 38 °C до 42 °C и относительной влажности воздуха 90% в течение 96 ч без перерыва в вертикальном положении, монтажным концом штока вверх. По окончании испытаний краска не должна иметь шероховатостей, пузырей, наплывов.
5.7.3 Контроль адгезии
При оценке испытаний лакокрасочного покрытия адгезию определяют по ГОСТ 15140
(метод 2). Покрытие считается выдержавшим испытания, если адгезия в пределах 1 - 3 балла.
5.8 Испытания шумности работы амортизаторов легковых автомобилей
5.8.1 Установить амортизатор на стенд для записи рабочих диаграмм, закрепив его с помощью эластичных элементов, применяющихся при монтаже на автомобиле.
5.8.2 Включить стенд и, медленно увеличивая частоту колебаний от 0 до 200 мин-1, прослушать работу амортизатора.
Стуки, скрипы и прочие шумы не допускаются. Допускается "шипение", обусловленное истечением жидкости через клапаны.
5.8.3 При контроле шумности работы амортизаторов легковых автомобилей характер и уровень шума необходимо сопоставлять с контрольными образцами амортизаторов, утвержденными в качестве эталона.
5.9 Ресурсные стендовые испытания
Амортизаторы при стендовых ресурсных испытаниях с одночастотным режимом нагружения должны выдерживать не менее 2 млн циклов. При этом на рабочих диаграммах амортизаторов не должны наблюдаться "провалы" (отсутствие сопротивлений) и чрезмерные (более чем на 25%) снижения максимальных сил сопротивления амортизаторов при ходе отбоя и сжатия по сравнению с первоначальными значениями.
5.9.1 При стендовых ресурсных испытаниях амортизаторов с двухчастотным режимом нагружения технические требования к амортизаторам и режимы должны согласовываться с потребителями и регламентироваться в КД.
6.1 Гарантийный срок эксплуатации и гарантийная наработка амортизаторов должны быть не менее гарантийного срока и гарантийной наработки, установленных для базового АТС.
6.2 Гарантийный срок хранения амортизаторов устанавливается в технических условиях на конкретный вид амортизатора, и должен быть не менее 12 месяцев с даты отгрузки потребителю.
(рекомендуемое)
ТИПОВЫЕ ФОРМЫ ДОКУМЕНТОВ, ОФОРМЛЯЕМЫХ В ПРОЦЕССЕ ИСПЫТАНИЙ
┌──────────────────────────────────────────────────────────────────────────┐
│ Лист 1 Всего листов 2 │
│ │
│ УТВЕРЖДАЮ │
│ _________________________________ │
│ должность руководителя │
│ испытательной лаборатории
<*> │
│ _______________ _________________ │
│ личная подпись инициалы, фамилия │
│ М.П. Дата ________________ │
│ │
│ Протокол ___________________ испытаний │
│ вид испытаний │
│ N _____ от ___________ 20__ г. │
│ │
│ 1 Испытываемое изделие _________________________________________________ │
│ наименование и чертежное обозначение, │
│ ________________________________________________________________________ │
│ идентификационный номер изделия │
│ 2 Предприятие - изготовитель испытываемого изделия _____________________ │
│ ________________________________________________________________________ │
│ наименование и адрес │
│ 3 Испытательная лаборатория ____________________________________________ │
│ ________________________________________________________________________ │
│ наименование и адрес │
│ 4 Дата поступления образцов на испытания _______________________________ │
│ 5 Количество испытываемых образцов _____________________________________ │
│ 6 Дата проведения испытаний ____________________________________________ │
│ 7 Технические требования _______________________________________________ │
│ наименование документа │
│ 8 Методы испытаний _____________________________________________________ │
│ наименование документа │
└──────────────────────────────────────────────────────────────────────────┘
--------------------------------
<*> Предприятие (организация), испытательный центр, специальная лаборатория, подразделение предприятия (организации) и т.п., осуществляющие испытания.
┌──────────────────────────────────────────────────────────────────────────┐
│ Лист 2 Всего листов 2 │
│ │
│ Продолжение протокола ___________________ испытаний │
│ вид испытаний │
│ N _____ от ___________ 20__ г. │
│ │
│ 9 Результаты испытаний: │
│ │
│ ┌──────────────────────┬──────────────────────────┬────────────────────┐ │
│ │Испытываемый параметр │ Установленные требования │ Результат испытания│ │
│ ├──────────────────────┼──────────────────────────┼────────────────────┤ │
│ ├──────────────────────┼──────────────────────────┼────────────────────┤ │
│ ├──────────────────────┼──────────────────────────┼────────────────────┤ │
│ ├──────────────────────┼──────────────────────────┼────────────────────┤ │
│ ├──────────────────────┼──────────────────────────┼────────────────────┤ │
│ └──────────────────────┴──────────────────────────┴────────────────────┘ │
│ │
│ 10 Заключение __________________________________________________________ │
│ ________________________________________________________________________ │
│ ________________________________________________________________________ │
│ │
│ Испытания провел (должностное лицо): │
│ │
│ _____________________________ ________________ _______________________ │
│ должность личная подпись инициалы, фамилия │
│ │
│ Дата _________________ │
└──────────────────────────────────────────────────────────────────────────┘
Акт о результатах периодических испытаний
┌──────────────────────────────────────────────────────────────────────────┐
│ Лист 1 Всего листов 1 │
│ │
│ УТВЕРЖДАЮ │
│ _________________________________ │
│ должность руководителя │
│ предприятия-изготовителя │
│ _______________ _________________ │
│ личная подпись инициалы, фамилия │
│ М.П. Дата ________________ │
│ │
│ АКТ N _____ │
│ о результатах периодических испытаний │
│ N _____ от ___________ 20__ г. │
│ │
│ 1 Испытанное изделие ___________________________________________________ │
│ наименование и чертежное обозначение, │
│ ________________________________________________________________________ │
│ идентификационный номер изделия │
│ 2 Предприятие - изготовитель изделия ___________________________________ │
│ наименование и адрес │
│ 3 Результаты испытаний _________________________________________________ │
│ положительный или отрицательный результат в целом; │
│ ________________________________________________________________________ │
│ при отрицательном результате перечисляют выявленные дефекты │
│ или приводят ссылки на перечень дефектов │
│ 4 Заключение ___________________________________________________________ │
│ выдержали или не выдержали изделия периодические испытания │
│ 5 Акт составлен на основании протокола периодических испытаний N _______ │
│ от "__" _________________ 20__ г. │
│ Данные результаты периодических испытаний распространяются на продукцию,│
│ выпускаемую до ___________________________ │
│ месяц, год │
│ │
│ Акт составил (должностное лицо): │
│ │
│ _____________________________ ________________ _______________________ │
│ должность личная подпись инициалы, фамилия │
│ │
│ Дата _________________ │
└──────────────────────────────────────────────────────────────────────────┘
Акт о результатах типовых испытаний
┌──────────────────────────────────────────────────────────────────────────┐
│ Лист 1 Всего листов 1 │
│ │
│ УТВЕРЖДАЮ │
│ _________________________________ │
│ должность руководителя │
│ предприятия-изготовителя │
│ _______________ _________________ │
│ личная подпись инициалы, фамилия │
│ М.П. Дата ________________ │
│ │
│ АКТ N _____ │
│ о результатах типовых испытаний │
│ N _____ от ___________ 20__ г. │
│ │
│ 1 Испытанное изделие ___________________________________________________ │
│ наименование и чертежное обозначение, │
│ _______________________________, изготовленное _________________________ │
│ идентификационный номер изделия месяц и год изготовления │
│ 2 Предприятие - изготовитель изделия ___________________________________ │
│ наименование и адрес │
│ 3 Цель испытаний: оценка эффективности и целесообразности предлагаемых│
│ изменений ______________________________________________________________ │
│ ________________________________________________________________________ │
│ внесенные изменения │
│ 4 Результаты испытаний _________________________________________________ │
│ положительный или отрицательный результат в целом; │
│_________________________________________________________________________ │
│ при наличии отрицательных результатов их перечисляют │
│ 5 Заключение ___________________________________________________________ │
│ соответствует (не соответствует) образец изделий требованиям │
│ программы испытаний; подтверждена (не подтверждена) │
│ целесообразность внесения предлагаемых изменений │
│ в конструкцию, в технологический процесс изготовления │
│ 6 Акт составлен на основании протокола типовых испытаний N ______ │
│ от "__" _________________ 20__ г. │
│ │
│ Акт составил (должностное лицо): │
│ │
│ _____________________________ ________________ _______________________ │
│ должность личная подпись инициалы, фамилия │
│ │
│ Дата _________________ │
└──────────────────────────────────────────────────────────────────────────┘