Главная // Актуальные документы
СПРАВКА
Источник публикации
В данном виде документ опубликован не был.
Первоначальный текст документа опубликован в издании
Официальный сайт Ространснадзора https://rostransnadzor.gov.ru/.
Информацию о публикации документов, создающих данную редакцию, см. в справке к этим документам.
Примечание к документу
Изменения, внесенные Протоколом от 15.06.2022, введены в действие с 1 января 2023 года.
Название документа
"Инструкция по ремонту и обслуживанию автосцепного устройства подвижного состава железных дорог"
(ред. от 15.06.2022)
(Вместе с "Примерным перечнем оборудования и рекомендуемой технологической оснастки...", "Шаблонами (калибрами) или другими средствами измерения, применяемые при ремонте и осмотре...", "Перечнем дефектов, при наличии которых детали автосцепного устройства не допускаются к ремонту и подлежат сдаче в металлолом", <Образцами бланков донесения о саморасцепе поезда, об обрыве тягового хомута, корпуса автосцепки>, "Сроками гарантии заводов-изготовителей на детали...", <Образцами бланков для составления актов полного осмотра и об исключении из эксплуатации корпуса автосцепки и тягового хомута>)
(Утверждена в г. Вильнюсе 21.10.2010 на 53-ом заседании Совета по железнодорожному транспорту СНГ)
Договаривающиеся стороны

"Инструкция по ремонту и обслуживанию автосцепного устройства подвижного состава железных дорог"
(ред. от 15.06.2022)
(Вместе с "Примерным перечнем оборудования и рекомендуемой технологической оснастки...", "Шаблонами (калибрами) или другими средствами измерения, применяемые при ремонте и осмотре...", "Перечнем дефектов, при наличии которых детали автосцепного устройства не допускаются к ремонту и подлежат сдаче в металлолом", <Образцами бланков донесения о саморасцепе поезда, об обрыве тягового хомута, корпуса автосцепки>, "Сроками гарантии заводов-изготовителей на детали...", <Образцами бланков для составления актов полного осмотра и об исключении из эксплуатации корпуса автосцепки и тягового хомута>)
(Утверждена в г. Вильнюсе 21.10.2010 на 53-ом заседании Совета по железнодорожному транспорту СНГ)


Содержание


Утверждена
Решением
пятьдесят третьего заседания
Совета по железнодорожному транспорту
государств-участников Содружества
(Протокол от 20 - 21 октября 2010 г.)
ИНСТРУКЦИЯ
ПО РЕМОНТУ И ОБСЛУЖИВАНИЮ АВТОСЦЕПНОГО УСТРОЙСТВА
ПОДВИЖНОГО СОСТАВА ЖЕЛЕЗНЫХ ДОРОГ
Список изменяющих документов
(в ред. Протокола от 15.06.2022)
(с изменениями и дополнениями,
утвержденными 65 заседанием Совета,
протокол от 26 - 27 сентября 2016 года)
--------------------------------
<*> Рассылается железнодорожным администрациям, участвующим в финансировании.
1. ОБЩИЕ ПОЛОЖЕНИЯ
1.1 Ремонт и проверка автосцепного устройства подвижного состава производятся в контрольных пунктах автосцепки (КПА) депо и отделениях по ремонту автосцепки вагоно- и локомотиворемонтных заводов, а также в специализированных подразделениях предприятий по ремонту подвижного состава любой формы собственности, имеющих аттестат установленной формы, выданный железнодорожной администрацией.
1.2 Размещение технологической оснастки в пунктах ремонта автосцепного устройства должно обеспечивать выполнение требований настоящей Инструкции, а также техники безопасности и промышленной санитарии.
1.3 Контрольные пункты автосцепки депо и отделения ремонтных заводов должны иметь необходимую технологическую оснастку, не менее двух комплектов проверочных шаблонов в соответствии с приложениями N 1 и N 2 настоящей Инструкции. Шаблоны должны соответствовать действующим техническим условиям, утвержденным владельцем инфраструктуры. Шаблоны проверяются на ремонтных предприятиях не реже одного раза в год с постановкой даты проверки согласно РД 32 ЦВ 088-2007 "Методические указания. Контроль комплекта шаблонов Т416.00.000 для проверки автосцепных устройств при ремонте".
1.4 Изменения норм, допусков и дополнения к требованиям настоящей Инструкции согласовываются и утверждаются в порядке аналогичном утверждению Инструкции. Порядок применения шаблонов в зависимости от вида ремонта подвижного состава указан в приложении N 2 настоящей Инструкции.
1.5 Для поддержания автосцепного устройства в исправном состоянии установлены следующие виды осмотра: полный осмотр, наружный осмотр, проверка автосцепного устройства при техническом обслуживании подвижного состава.
1.6 Полный осмотр автосцепного устройства производится при капитальном и деповском ремонтах вагонов, капитальном ремонте локомотивов и вагонов дизель- и электропоездов, текущих ремонтах ТР-2, ТР-3 тепловозов, электровозов и вагонов дизель- и электропоездов, подъемочном ремонте паровозов и специального подвижного состава.
Наружный осмотр осуществляется при текущем отцепочном ремонте вагонов, единой технической ревизии пассажирских вагонов, промывочном ремонте паровозов, текущем ремонте ТР-1 тепловозов, электровозов и вагонов дизель- и электропоездов.
Проверяют автосцепное устройство при техническом обслуживании во время осмотра вагонов в составах на пунктах технического обслуживания (ПТО), при подготовке вагонов под погрузку и при техническом обслуживании локомотивов ТО-2, ТО-3, а также в других случаях, установленных организационно-распорядительными документами владельца инфраструктуры.
Регламентный осмотр (РО) поглощающих аппаратов классов Т2 и Т3 производится при деповском или капитальном ремонтах подвижного состава.
(в ред. Протокола от 15.06.2022)
Регламентный осмотр поглощающего аппарата (РО) производится в соответствии со сроком очередного РО, указанным на консольной части концевой балки в верхней строке "РО 00 (месяц). 00 (год)" при ближайшем плановом ремонте вагона. После РО или установки нового/отремонтированного аппарата указывается его модель и дата следующего РО через 4 года.
(в ред. Протокола от 15.06.2022)
Капитальный (сервисный) ремонт аппарата в сервисном центре (КР) производится в соответствии со сроком очередного КР, указанным на консольной части концевой балки в нижней строке "КР 00.00" при ближайшем плановом ремонте вагона. После установки нового/отремонтированного в сервисном центре аппарата указывается его модель и дата следующего КР через 16 лет.
(в ред. Протокола от 15.06.2022)
1.7 При полном осмотре съемные узлы и детали автосцепного устройства снимают с подвижного состава независимо от их состояния и направляют в КПА или отделение по ремонту автосцепки завода для проверки и ремонта в соответствии с требованиями, изложенными в главе 2 настоящей Инструкции. На каждый корпус автосцепки и тяговый хомут составляется акт по рекомендованной форме, установленной Приложением N 8. Допускается данные каждого корпуса автосцепки и тягового хомута записывать в журнал по форме, установленной железнодорожной администрацией.
К несъемным деталям автосцепного устройства относятся: ударная розетка, передние и задние упоры, располагающиеся на хребтовой балке, детали расцепного привода (фиксирующий кронштейн, кронштейн и расцепной рычаг). Ремонт и проверку несъемных деталей производят на подвижном составе, за исключением случаев, требующих их демонтажа.
1.8 При наружном осмотре, а также при проверке автосцепного устройства во время технического обслуживания производится освидетельствование узлов и деталей в соответствии с требованиями, изложенными в главах 3 и 4 настоящей Инструкции, без снятия с подвижного состава. Снимают только неисправные узлы и детали с заменой их исправными.
1.9 Детали автосцепного устройства, снятые с подвижного состава и подлежащие проверке и ремонту, должны быть очищены от грязи средствами, имеющимися в распоряжении пункта ремонта. После очистки корпус автосцепки, тяговый хомут, клин (валик) тягового хомута, маятниковые подвески центрирующего прибора, болты паровозной розетки должны быть подвергнуты неразрушающему контролю. Корпус автосцепки и тяговый хомут после ремонта сваркой подвергают повторному неразрушающему контролю.
1.10 Неразрушающий контроль производится в соответствии с руководящими документами, принятыми железнодорожной администрацией <1>.
--------------------------------
<1> - Для грузовых вагонов действуют "Правила неразрушающего контроля деталей автосцепного устройства, тормозной рычажной передачи, транспортера и стяжного хомута вагонов при ремонте. Специальные требования. ПР НК В.4"
(сноска введена Протоколом от 15.06.2022)
1.11 Детали с дефектами, указанными в приложении N 3, или не имеющие читаемой маркировки предприятия-изготовителя, ремонту не подлежат и изымаются из эксплуатации с последующей сдачей в металлолом в соответствии с национальным законодательством. При этом на каждый корпус автосцепки и каждый тяговый хомут составляется акт исключения из эксплуатации по форме, установленной Приложением N 9.
1.12 Все сварочные и наплавочные работы при ремонте автосцепного устройства выполняются в соответствии с требованиями инструкций: "Инструкция по сварке и наплавке при ремонте грузовых вагонов", утвержденная Советом по железнодорожному транспорту государств-участников Содружества от 04 - 05.11.2015, ЦЛ-201-2011 "Инструкция по сварке и наплавке узлов и деталей при ремонте пассажирских вагонов", ЦТ-336-96 "Инструкция по сварочным и наплавочным работам при ремонте тепловозов, электровозов, электропоездов и дизель поездов" и утвержденными изменениями к ним.
1.13 Слесарные, станочные работы и правка изогнутых деталей выполняются в соответствии с действующими технологическими инструкциями на производство этих работ и с требованиями Типовых технологических карт для ремонта автосцепного устройства.
1.14 Соблюдение действующих нормативно-технических требований по ремонту автосцепного устройства проверяют руководители вагонной, пассажирской и локомотивной служб, дирекций по ремонту грузовых вагонов, региональных дирекций по обслуживанию пассажиров, начальники отделов вагонного, локомотивного хозяйств и пассажирских сообщений отделений, начальники вагонного (локомотивного) депо или их заместители в соответствии с личными нормативами, а на ремонтных заводах - главный инженер и начальник отдела технического контроля (ОТК) с записью в журнале ремонта. Для предприятий, не входящих в структурные подразделения железных дорог, проверку производят уполномоченные в данной области лица.
1.15 Узлы и детали автосцепного устройства, не представленные в настоящей Инструкции, обслуживаются и ремонтируются в соответствии с требованиями ремонтных и эксплуатационных документов заводов-изготовителей.
ПОЛНЫЙ ОСМОТР
Требования, указанные в настоящей главе, относятся к осмотру, проверке и ремонту автосцепного устройства при капитальном и деповском ремонтах вагонов, капитальном и текущих ремонтах ТР-2, ТР-3 тепловозов, электровозов и вагонов дизель- и электропоездов, подъемочном ремонте паровозов и специального подвижного состава.
ИС МЕГАНОРМ: примечание.
Нумерация разделов дана в соответствии с официальным текстом документа.
2.1. АВТОСЦЕПКА
КОРПУС АВТОСЦЕПКИ
2.1.1 Ширину зева корпуса автосцепки проверяют непроходным шаблоном 821р-1 по всей высоте носка большого зуба. Шаблон прикладывают одним концом к углу малого зуба (рисунок 2.1), а другим подводят к носку большого зуба. Если кромка шаблона пройдет мимо носка большого зуба, то зев расширен и подлежит исправлению.
Рисунок 2.1 - Поверка ширины зева корпуса автосцепки
шаблоном 821р-1: I - корпус годен; II - корпус негоден
2.1.2 Длину малого зуба (рисунок 2.2, а) корпуса и расстояние между ударной стенкой зева и тяговой поверхностью большого зуба (рисунок 2.2, б) проверяют шаблонами 892р, 893р и 884р в зависимости от видов ремонта подвижного состава (приложение N 2). Проверку выполняют в средней части по высоте зубьев на расстоянии 80 мм вверх и вниз от продольной оси корпуса. При этом зону тяговой поверхности большого зуба, находящуюся напротив окна для лапы замкодержателя, не проверяют, так как ударная стенка зева имеет литейный уклон.
Если ударная стенка зева была наплавлена и обработана, то расстояние от тяговой поверхности большого зуба до ударной стенки зева должно быть проверено и в этой зоне шаблоном 884р.
а)
б)
Рисунок 2.2 - Проверка шаблонами 892р, 893р, 884р:
а - длины малого зуба; б - расстояния между ударной стенкой
зева и тяговой поверхностью большого зуба; I - корпус
годен; II - корпус негоден (внутренняя грань 1 шаблона
должна быть параллельна боковой поверхности 2 большого зуба)
2.1.3 Контур зацепления корпуса контролируют проходным шаблоном 827р (рисунок 2.3), который перемещают в контуре зацепления по всей высоте так, чтобы направляющая труба 1 шаблона располагалась по закруглению в месте перехода малого зуба в ударную стенку 2 зева, а плоская часть проходила через зев и охватывала малый зуб. Контур годен, если шаблон свободно проходит через него по всей высоте головы корпуса.
Рисунок 2.3 - Проверка контура зацепления корпуса
автосцепки проходным шаблоном 827р
2.1.4 Если поверхности контура зацепления корпуса автосцепки или одна из них не соответствуют требованиям проверки шаблонами 892р, 893р или 827р, автосцепка должна быть отремонтирована с доведением до альбомных размеров соответственно шаблону 914р-м с профильной планкой 914/24-1м и непроходным щупом 914р/21а, проходным шаблонам 914р/22-м и 914р/25, непроходному 884р и проходному 827р шаблонам, шаблону 822р.
При наличии на корпусе автосцепки верхнего и/или нижнего кронштейна вместо шаблонов 914р-м, 914р/22-м следует использовать шаблоны 914р-2м и 914р/22-2м.
2.1.5 Шаблоном 914р-м (914р-2м) проверяют ударную поверхность малого зуба и ударную стенку зева. Шаблон устанавливают в корпусе так, чтобы упоры c (рисунок 2.4, а) были прижаты к ударной стенке зева, а нижняя часть n основания опиралась на нижнюю перемычку малого зуба. Пружины d, опираясь на кромки окна для замка, прижимают опоры f и q основания шаблона к внутренней стенке малого зуба.
После установки шаблона проверяют состояние ударных поверхностей контура с помощью профильной планки 914р/24-1м и непроходного щупа 914р/21а (рисунок 2.4, г).
Профили рабочих поверхностей ребер планки соответствуют вертикальным профилям ударных поверхностей стенок зева и малого зуба.
Ребром 1 профильной планки 3 с надписью "Зев" проверяют ударную поверхность стенки зева, а ребром 2 с надписью "Малый зуб" - ударную поверхность малого зуба.
Для проверки ударной поверхности профильную планку прикладывают к контурным листам шаблона так, чтобы плоскость планки была перпендикулярна к проверяемой поверхности. Затем планку перемещают по кромкам контурных листов, как по копирам, по всей ширине проверяемой поверхности, а пластинку щупа вводят в зазор между ребром профильной планки и проверяемой поверхностью контура зацепления.
Если профильная планка 3 прилегает одновременно к верхнему 4 и нижнему 5 контурным листам (рисунок 2.4, б), то проверяемая поверхность годна. Проверяемая поверхность будет негодна (рисунок 2.4, в), если профильная планка прилегает плотно к нижнему 5 контурному листу, но не прилегает к верхнему 4 контурному листу или наоборот.
Проверяемая поверхность автосцепки годна (рисунок 2.4, г, поз. I), если щуп 6 не проходит между профильной планкой и ударной поверхностью малого зуба.
Корпус автосцепки бракуют, если непроходной щуп по всей своей ширине проходит до упора в прилив рукоятки в зазор между профильной планкой, плотно прижатой по концам к контурным листам шаблона, и проверяемой поверхностью (поз. II).
Разность зазоров между профильной планкой и ударными поверхностями малого зуба и зева вверху и внизу не должна превышать 2 мм.
Зазор между профильной планкой и ударной стенкой зева в зоне, лежащей ниже носка большого зуба, не контролируется.
а)
б)
в)
г)
Рисунок 2.4 - Проверка ударных поверхностей зева
и малого зуба автосцепки профильной планкой 914р/24-1м
шаблона 914р-м
2.1.6 Шаблонами 914р/22-м (914р/22-2м) и 914р/25 проверяют тяговые поверхности малого и большого зубьев корпуса. При этом шаблон 914р/22-м (914р/22-2м) должен свободно надеваться на малый зуб до упора в его боковую поверхность (рисунок 2.5, а), а шаблон 914р/25 свободно проходить между ударной стенкой зева и тяговой поверхностью большого зуба в зоне 3 до упора ограничителей (рисунок 2.5, б) в боковую поверхность этого зуба, при этом выступ 1 шаблона должен опираться на кромку большого зуба 2.
а)
б)
Рисунок 2.5 - Проверка малого зуба проходным шаблоном
914р/22-м (а) и тяговой поверхности большого зуба
шаблоном 914р/25 (б)
2.1.7 Если при проверке корпуса установлено, что профильная планка своими концами прилегает к контурным поверхностям шаблона неплотно, или проходной шаблон для малого зуба полностью на него не находит, или проходной шаблон для большого зуба не проходит до упора в его боковую поверхность, значит на проверяемых поверхностях имеется лишний металл, который необходимо снять до плотного прилегания профильной планки к контурным поверхностям или до свободного прохода проходных шаблонов на малый и большой зубья.
Если необходимо наплавить ударные поверхности зева и малого зуба корпуса автосцепки, то толщину наплавляемого слоя определяют по зазорам а и б (рисунок 2.6) между наплавляемой поверхностью и ребром профильной планки 914р/24-1м.
Для определения наибольшей допускаемой толщины наплавки тяговой поверхности малого зуба нужно из значения зазора в между ребром шаблона 914р/22-м, плотно прижатого к ударной поверхности малого зуба, и тяговой поверхностью вычесть значение ранее определенного с помощью шаблона 914р-м зазора а.
Для определения толщины слоя наплавки тяговой поверхности большого зуба надо из значения зазора г между ребром шаблона 914р/25, плотно прижатого к ударной поверхности зева, и тяговой поверхностью вычесть значение ранее определенного с помощью шаблона 914р-м зазора б.
Рисунок 2.6 - Зазоры для определения толщины слоя наплавки
поверхностей по контуру зацепления корпуса автосцепки
2.1.8 После ремонта поверхности контура зацепления корпуса должны быть параллельны кромкам шаблона 827р.
2.1.9 Углы зева и малого зуба корпуса проверяют шаблоном 822р (рисунок 2.7).
Рисунок 2.7 - Проверка закруглений углов зева 1 и малого
зуба 2 шаблоном 822р: I1 - угол зева годен, II1 - угол зева
негоден; I2 - угол малого зуба годен; II2 - угол
малого зуба негоден
2.1.10 При ремонте поверхностей контура зацепления корпуса не разрешается накладывать сварные швы ближе 15 мм к местам закруглений (рисунок 2.8, а). Переход от наплавленной ударной поверхности стенки зева к неизнашиваемой должен быть плавным на длине не менее 15 мм для беспрепятственного скольжения автосцепок друг по другу в момент сцепления. Кромка угла, образуемого наплавленной ударной поверхностью малого зуба и поверхностью, к которой прилегает замок, должна быть без закруглений по всей высоте (рисунок 2.8, б). Твердость наплавляемого металла ударно-тяговых поверхностей для грузового подвижного состава должна быть 250 - 300 НВ, для пассажирского подвижного состава, рефрижераторных вагонов и вагонов электропоездов - 450 - 520 НВ (45 - 53 HRC).
а)
б)
Рисунок 2.8 - Требования к поверхностям контура зацепления
корпуса автосцепки после их наплавки
2.1.11 Ширина кармана для замка в корпусе считается увеличенной, если при вращении валика подъемника подъемник замка проходит мимо нижнего плеча предохранителя, не задевая его своим верхним широким пальцем. В этом случае соосно с малым отверстием для валика подъемника должна быть приварена шайба такой толщины, чтобы ширина исправленного кармана отвечала требованиям проверки непроходным шаблоном 845р и проходным 848р.
Для проверки шаблон 845р вводят в карман корпуса автосцепки через большое отверстие для валика подъемника до упора во внутреннюю стенку кармана так, чтобы шаблон касался стенки корпуса всей торцовой поверхностью (рисунок 2.9, а). При этом цилиндрическая часть шаблона не должна проходить между стенками кармана. Шаблон 848р вводят внутрь головы корпуса через окно для замка и пропускают между стенками кармана. Ширина кармана признается правильной, если мерительная полоса шаблона свободно проходит между стенками по всей ширине кармана (рисунок 2.9, б).
а)
б)
Рисунок 2.9 - Проверка ширины кармана корпуса автосцепки:
а - непроходным шаблоном 845р; б - проходным шаблоном 848р;
I - корпус годен; II - корпус негоден
Шаблоном 845р также контролируют расстояние от передней кромки отверстия для валика подъемника до стенки отверстия для запорного болта (рисунок 2.10). Для этого шаблон устанавливают так, чтобы прямолинейная поверхность а непроходной его планки входила в паз для запорного болта, при этом полукруглая поверхность б шаблона не должна проходить мимо передней кромки отверстия для валика подъемника (положение I). Если поверхность б проходит мимо передней кромки отверстия для валика подъемника (положение II), то необходимо наплавить стенку паза для запорного болта, а затем обработать ее заподлицо с поверхностью задней кромки отверстия для валика подъемника.
Рисунок 2.10 - Проверка положения отверстия для запорного
болта валика подъемника шаблоном 845р
После обработки отверстие проверяют шаблоном 845р с установкой запорного болта, который должен свободно входить на свое место и легко извлекаться.
2.1.12 Диаметры и соосность малого и большого отверстий для валика подъемника проверяют шаблоном 797р (рисунок 2.11), а положение отверстий относительно контура зацепления автосцепки - шаблонами 937р и 797р (рисунок 2.12).
Рисунок 2.11 - Проверка диаметров и соосности малого
и большого отверстий для валика подъемника в корпусе
автосцепки шаблоном 797р
Корпус считается годным, если проходная часть шаблона 797р свободно входит в соответствующее отверстие, а непроходная часть шаблона не входит в отверстие до упора в торец прилива корпуса.
Если непроходные части шаблона входят в соответствующие отверстия, значит стенки отверстий изношены и их надо отремонтировать наплавкой с последующей обработкой. После ремонта положение отверстий проверяют шаблонами 937р и 797р (см. рисунок 2.12). Для проверки шаблон 937р вводят в карман корпуса, а через отверстие этого шаблона пропускают шаблон 797р. Затем, прижимая шаблон к внутренней стенке и нижней перемычке малого зуба, перемещают его по направлению стрелки A, проверяя при этом зазора между упором 1 и ударной стенкой 2 зева. Положение отверстий признается правильным, если этот зазор составляет не более 4 мм.
Рисунок 2.12 - Проверка положения отверстий для валика
подъемника относительно контура зацепления
автосцепки шаблонами 937р и 797р
2.1.13 Размеры шипа для замкодержателя и его положение относительно контура зацепления корпуса автосцепки проверяют шаблонами 849р-1, 806р и 816р.
Шаблоном 849р-1 контролируют высоту шипа (рисунок 2.13). Если в пространство между стенкой со стороны малого зуба и торцом шипа проходит проходная часть шаблона и не проходит непроходная, значит высота шипа соответствует требованиям. Если в это пространство проходит непроходная часть шаблона (шип короткий) или не проходит проходная (шип длинный), то шип должен быть отремонтирован. Проверка производится по всей поверхности торца шипа.
Рисунок 2.13 - Проверка высоты шипа для замкодержателя
шаблоном 849р-1: I - шип годен; II - шип негоден
Диаметр и состояние кромки торца шипа проверяют шаблоном 806р (рисунок 2.14). С этой целью шаблон плотно прижимают к торцу шипа и перемещают вдоль рукоятки (показано стрелками), последовательно поворачивая рукоятку в зоне А. Если при этом шип проходит в проходной вырез шаблона и не проходит в непроходной, то он считается исправным (годным). В противном случае шип должен быть отремонтирован.
Рисунок 2.14 - Проверка диаметра и состояния кромки торца
шипа для замкодержателя шаблоном 806р
Положение передней поверхности шипа относительно контура зацепления автосцепки проверяют шаблоном 816р (рисунок 2.15). Для проверки шаблон вводят в карман корпуса автосцепки и устанавливают так, чтобы опоры 4 были прижаты к внутренней стенке малого зуба, опоры 5 упирались в ударную стенку зева, а внутренняя опора 3 своей нижней плоской частью опиралась на верх шипа для замкодержателя. Удерживая шаблон в таком положении, поднимают заостренный конец стрелки 1 до тех пор, пока выступ 2 на другом ее конце не упрется в переднюю часть поверхности шипа.
Рисунок 2.15 - Проверка положения шипа для замкодержателя
относительно контура зацепления автосцепки шаблоном 816р
Положение шипа считается правильным, если заостренный конец стрелки 1 не выходит за пределы контрольного выреза б в листе шаблона. Шип негоден, если острие стрелки выходит за пределы выреза.
Если шип не удовлетворяет требованиям проверки хотя бы одного из шаблонов 849р-1, 806р и 816р, то его необходимо отремонтировать и затем проверить вышеуказанным порядком. Но в этом случае к шипу предъявляется более жесткое требование: конец стрелки 1 не должен выходить за пределы более глубокого выреза а шаблона.
Кроме того, нужно проверить положение отремонтированного шипа относительно отверстия для валика подъемника шаблоном 938р (рисунок 2.16). Это положение считается правильным, если шаблон отверстием а надевается на шип, а выступом б входит в малое отверстие для валика подъемника. Как у отверстия, так и у шипа шаблон должен прилегать к плоскости кармана корпуса.
Рисунок 2.16 - Проверка положения шипа для замкодержателя
относительно отверстия для валика подъемника шаблоном 938р
2.1.14 Положение полочки для верхнего плеча предохранителя в корпусе относительно шипа для замкодержателя и контура зацепления проверяют шаблоном 834р (рисунок 2.17), после того, как будет установлено, что шип для навешивания замкодержателя удовлетворяет требованиям проверки шаблонами 849р-1, 806р и 816р.
Для проверки шаблон 834р нужно взять за основание 6, ввести в карман корпуса и установить так чтобы упоры 3 и выступы 4 были плотно прижаты к неизнашиваемой части ударной поверхности зева и внутренней стенке малого зуба, а прямоугольная опора 1 опиралась на шип для замкодержателя.
После такой установки шаблона положение полочки по вертикали проверяют поворотом стрелки 2, заостренный конец которой поднимают вверх до тех пор, пока ее задний конец не упрется в верхнюю поверхность полочки. Положение полочки по горизонтали проверяют с помощью движка 5, который передвигают до упора в переднюю кромку полочки. Если острие стрелки 2, опирающейся другим своим концом на рабочую поверхность полочки, располагается вне пределов обеих ступеней контрольного выреза б, значит положение полочки по вертикали неправильное (поз. А). Если указатель движка 5, упирающегося в полочку, располагается вне пределов обеих ступеней контрольного выреза г, то это указывает на неправильное положение полочки по горизонтали (поз. Б).
Рисунок 2.17 - Проверка положения полочки для верхнего плеча
предохранителя относительно шипа для замкодержателя
и контура зацепления автосцепки шаблоном 834р
Для правильного показания шаблона при проверке положения полочки по вертикали необходимо поворачивать стрелку 2 при полностью выдвинутом на себя движке 5, а положение полочки по горизонтали проверять при крайнем нижнем положении указателя стрелки 2.
Полочка, не удовлетворяющая требованиям проверки шаблоном 834р, должна быть отремонтирована или заменена новой.
Новую или отремонтированную полочку также проверяют шаблоном 834р, как описано выше. Но при этом предъявляются повышенные требования, а именно: положение полочки считается правильным, когда указатели стрелки и движка располагаются соответственно в пределах более глубоких вырезов а и в.
2.1.15 Толщина перемычки хвостовика автосцепки СА-3 должна отвечать требованиям проверки непроходным шаблоном 897р-1 или 898р-1 в зависимости от видов ремонта и подвижного состава (приложение N 2) как со стороны верхней, так и со стороны нижней плоскости (рисунок 2.18, а).
Перемычка считается годной, если шаблон не надевается на нее полностью (поз. I); если шаблон доходит до упора в перемычку, то она негодна (поз. II). Перемычка, изношенная клином тягового хомута и имеющая размеры менее допустимых, подлежит наплавке. Изношенную торцовую часть хвостовика восстанавливают наплавкой в случае, если длина хвостовика автосцепки менее 645 мм, а для автосцепки СА-3М <*> - менее 654 мм.
--------------------------------
<*> Автосцепка СА-3М устанавливается на 8-осных и некоторых специальных вагонах, а также маневровых 8-осных локомотивах. Допускается при ремонте производить замену автосцепки СА-3М на автосцепку СА-3 с нижним кронштейном (ограничителем вертикальных перемещений) при одновременной замене упряжного устройства (тяговый хомут, поглощающий аппарат, клин тягового хомута, плита упорная) в соответствии с проектом ПКБ ЦВ N М 1497.00.000
Толщина перемычки хвостовика автосцепки СА-3М, измеренная в средней части и на расстоянии 35 мм от верхней и нижней кромок, должна быть не менее 44 мм при всех видах периодического ремонта подвижного состава. Измерение производится кронциркулем, снабженным мерительной планкой.
а)
б)
в)
Рисунок 2.18 - Проверка толщины перемычки хвостовика
автосцепки СА-3: а - непроходным шаблоном 897р-1 или 898р-1;
б - непроходным шаблоном 900р-1; в - проходным шаблоном 46г
(I - перемычка годна; II - перемычка негодна)
2.1.16 Перемычка хвостовика автосцепки СА-3 со стороны клина должна быть обработана таким образом, чтобы получилась ровная цилиндрическая поверхность с радиусом кривизны от 18 до 20 мм, с плавным переходом в боковые поверхности стенок отверстия.
После ремонта перемычку хвостовика проверяют непроходным 900р-1 (рисунок 2.18, б) и проходным 46г (рисунок 2.18, в) шаблонами.
Поверхности хвостовика корпуса, соприкасающиеся с тяговым хомутом, центрирующей балочкой, стенками ударной розетки и клином тягового хомута (боковые стенки отверстия), изношенные на глубину от 3 до 8 мм, должны быть наплавлены, а затем обработаны заподлицо с литейной поверхностью.
2.1.17 Погнутый хвостовик автосцепки должен быть выправлен в том случае, если его изгиб г (рисунок 2.19), измеряемый от первоначальной продольной оси корпуса в средней части, превышает 3 мм.
Разметка корпуса для определения изгиба в горизонтальной плоскости производится, как показано на рисунке 2.19, а. Сначала находят и обозначают середину хвостовика на расстоянии 20 мм от упора головы, а также на торце и в средней части. После этого соединяют линией точки, обозначающие середину хвостовика в начале и в конце. Изгиб определяют как отклонение указанной линии от середины хвостовика в его средней части.
а)
б)
Рисунок 2.19 - Разметка корпуса автосцепки
для определения изгиба хвостовика в горизонтальной (а)
и вертикальной (б) плоскостях:
а - ширина хвостовика у основания; б - ширина хвостовика
у торца; в - ширина хвостовика в середине; г - изгиб
хвостовика; д - высота хвостовика; L - длина хвостовика
Изгиб г в вертикальной плоскости отсчитывают в средней части хвостовика от первоначальной продольной оси корпуса, которая является продолжением литейного шва на большом зубе (рисунок 2.19, б).
Не разрешается выправлять хвостовик автосцепки с заваренными или незаваренными трещинами в зоне выправляемых мест.
2.1.18 Трещины в хвостовике корпуса автосцепки глубиной до 5 мм допускается вырубать с плавным переходом на литейную поверхность без последующей заварки. Мелкие трещины (сетчатые) глубиной не более 8 мм в перемычке хвостовика разрешается вырубать с последующей заваркой при условии, что после их вырубки толщина перемычки будет не менее 40 мм.
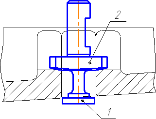
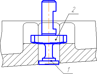
2.1.19 Верхний и/или нижний кронштейны (ограничители вертикальных перемещений) пассажирских вагонов, вагонов электропоездов, рефрижераторных, восьмиосных и других грузовых вагонов, на которые предусмотрена постановка кронштейнов, не должны иметь изгибов, износов более 5 мм. Расстояние от продольной оси (литейного шва) корпуса автосцепки до горизонтальной полки ограничителя должно быть 280+5 мм (рисунок 2.20, а). Автосцепки вагонов для перевозки опасных грузов должны иметь как нижний, так и верхний кронштейн (рисунок 2.20, б).
а)
б)
Рисунок 2.20 - Автосцепка СА-3 с кронштейнами
2.1.20 Износ стенок отверстия в хвостовике паровозной автосцепки более 4 мм по диаметру по сравнению с номинальным (альбомным) размером не допускается. Изношенные поверхности стенок отверстия восстанавливают наплавкой с последующей расточкой до альбомного размера.
Разрешается изношенные стенки отверстия растачивать до диаметра 86Н8 мм с последующей запрессовкой в него стальной втулки с внутренним диаметром 76 мм и наружным 86 x 8 мм. Выступы а (рисунок 2.21) при износе на глубину более 5 мм допускается наплавлять с последующей обработкой до альбомных размеров.
Рисунок 2.21 - Паровозная автосцепка
Предохранительный крюк паровозной автосцепки не должен иметь трещин, изгибов и износов более 5 мм.
ДЕТАЛИ МЕХАНИЗМА СЦЕПЛЕНИЯ
Замок
2.1.21 Замок считается неисправным, если:
а) он не проходит в проходной вырез шаблона 852р (для грузового подвижного состава - 852рг; для пассажирского подвижного состава - 852рп, см. Приложение N 2) и проходит после ремонта в непроходной вырез;
б) рабочая замыкающая часть замка входит в непроходной шаблон 899р (для грузового подвижного состава - 899рг; для пассажирского - 899рп);
в) положение задней кромки овального отверстия относительно торца замка не соответствует шаблону 839р;
г) положение шипа, его диаметр и кромка прилива не соответствуют шаблону 833р;
д) направляющий зуб не соответствует шаблону 943р;
е) имеются трещины, изломы.
2.1.22 Замок проверяют проходной частью шаблона 852р (рисунок 2.22, а) и признают годным, если он свободно проходит через вырез а этого шаблона.
2.1.23 Толщину замыкающей части замка по всей ее высоте проверяют после ремонта непроходным вырезом б шаблона 852р, а до ремонта - шаблоном 899р (рисунок 2.22, б). Замок признают годным, если замыкающая часть его не входит в вырез шаблона (поз. I) и негодным, если она входит в вырез шаблона (поз. II). Замыкающая поверхность замка после наплавки и обработки должна иметь угол наклона 5° и твердость 250 - 300 НВ для грузового подвижного состава и 450 - 520 НВ (45 - 53 HRC) для пассажирского подвижного состава, рефрижераторных вагонов и вагонов электропоездов.
а)
б)
Рисунок 2.22 - Проверка толщины замка:
а - проходным шаблоном 852р; б - непроходным шаблоном 899р
2.1.24 Положение задней кромки к овального отверстия относительно торцовой части замка проверяют шаблоном 839р (рисунок 2.23), который накладывают на замок так, чтобы шаблон своим основанием 2 плотно прилегал к плоскости замка. Затем перемещением шаблона за рукоятку 3 в направлении стрелки А обеспечивают плотное прилегание опорных площадок 4 к торцовой поверхности замка, а угольника 5 - к его нижней опорной части.
Удерживая шаблон в таком положении, поворачивают за рукоятку мерительный сектор 1 по часовой стрелке. Замок считают годным, если проходная часть мерительного сектора 1 свободно проходит мимо кромки отверстия замка, а непроходная часть не проходит (упирается в кромку отверстия).
Рисунок 2.23 - Проверка задней кромки овального отверстия
в замке шаблоном 839р: I - замок годен; II - замок негоден
2.1.25 Положение и диаметр шипа замка проверяют шаблоном 833р.
При проверке расстояния от торцовой поверхности замка до задней боковой кромки шипа для предохранителя шаблон надвигают на замок сверху так, чтобы опорная поверхность угольника 1 (рисунок 2.24), была прижата к торцовой поверхности замка, а основание 2 шаблона прилегало к боковой поверхности замка. Замок признают годным, если при перемещении шаблона вниз проходная часть гребенки 3 проходит мимо шипа для предохранителя, а непроходная не проходит.
Рисунок 2.24 - Проверка положения шипа замка шаблоном 833р
Диаметр шипа замка для предохранителя проверяют непроходным и проходным стаканами этого шаблона (рисунок 2.25).
Рисунок 2.25 - Проверка диаметра шипа замка шаблоном 833
Шип 1 считают годным, если проходной стакан 2 свободно надевают на него до упора торцом в замок у основания шипа, а непроходной стакан 3 не надевается или надевается частично так, что торец шипа не выступает за верхнюю кромку кольца непроходного стакана.
Износ прилива для шипа по поверхности, очерченной радиусом 24 мм, проверяется шаблоном 833р как показано на рисунке 2.26. Зазор а более 3 мм не допускается.
Рисунок 2.26 - Проверка износа прилива для шипа
шаблоном 833р
Направляющий зуб замка должен соответствовать очертаниям шаблона 943р (рисунок 2.27). Шаблон своим вырезом должен проходить по всей ширине зуба, причем суммарный зазор между кромками зуба и шаблоном не должен превышать 2 мм.
Рисунок 2.27 - Проверка направляющего зуба замка
шаблоном 943р
2.1.26 Замок со вставкой автосцепки СА-3М считают неисправным, если:
а) диаметр отверстия в замке для валика более 17 мм, а отверстия вставки более 17,5 мм. Такие отверстия надо заварить и просверлить вновь с соблюдением размеров, указанных на рисунке 2.28;
б) замыкающая поверхность вставки не отвечает требованиям проверки шаблонами 852р и 899р. В этом случае замыкающая часть должна быть восстановлена наплавкой с последующей обработкой и проверкой указанными шаблонами;
в) диаметр валика замка менее 15,5 мм или на нем имеются трещина или изгиб, препятствующий свободному перемещению вставки в замке. Валик с любым из этих дефектов надо заменить новым.
В остальном замок со вставкой должен отвечать тем же требованиям, что и замок автосцепки СА-3.
Рисунок 2.28 - Вставка к замку автосцепки:
1 - замок, 2 - валик, 3 - вставка замка
2.1.27 После ремонта замок проверяют шаблонами 852р, 839р, 833р и 943р, как указано выше.
Замкодержатель
2.1.28 Замкодержатель признают неисправным и направляют в ремонт, если:
а) он погнут или его толщина и ширина лапы не соответствуют очертаниям вырезов шаблона 841р;
б) овальное отверстие, расцепной угол, упорная часть противовеса не соответствуют требованиям проверки шаблоном 826р;
в) наружное очертание (контур) замкодержателя не соответствует шаблону 916р;
г) имеется трещина.
2.1.29 Толщину замкодержателя и возможные изгибы проверяют шаблоном 841р (рисунок 2.29), который надевают на замкодержатель вначале вырезом, охватывающим противовес и стенку замкодержателя. Шаблон должен дойти до верхней плоскости лапы (положение I), затем его поворачивают наклонно (положение II) так, чтобы лапа замкодержателя вошла в соответствующий вырез шаблона. Замкодержатель годен, если он свободно проходит через вырез шаблона. Далее проверяют ширину лапы замкодержателя непроходным вырезом этого шаблона, который надвигают на лапу. Рабочая поверхность лапы должна быть параллельна кромке шаблона (положение III). Лапа не должна входить в непроходной вырез.
Рисунок 2.29 - Проверка толщины замкодержателя автосцепки
и ширины его лапы шаблоном 841р
2.1.30 Расстояние а (рисунок 2.30, а) от передней боковой поверхности стенки овального отверстия до упорной поверхности противовеса замкодержателя проверяют шаблоном 826р. Для этого замкодержатель навешивают овальным отверстием на опору 1 так, чтобы противовес его был обращен вниз, и поворотом замкодержателя против часовой стрелки подводят противовес к сухарю 2. Замкодержатель считают годным, если упорная поверхность противовеса проходит мимо проходной части сухаря 2 и не проходит мимо непроходной (поз. I), и негодным, если противовес проходит мимо непроходной части сухаря или не проходит мимо проходной (поз. II).
Высоту угла противовеса замкодержателя 9 проверяют этим же шаблоном (рисунок 2.30, б). Замкодержатель навешивают овальным отверстием на опору 1 так, чтобы лапа замкодержателя прилегала к угольнику 7, а боковая поверхность была прижата к поверхности фланца опоры 1 и опорной планке 8 шаблона. Высота угла противовеса считается правильной, если проходная часть планки 5, поворачиваемой по часовой стрелке, проходит мимо угла противовеса замкодержателя, а непроходная не проходит (замкодержатель годен, поз. I). Если проходная часть сухаря не проходит или непроходная часть проходит мимо противовеса, то высота считается неправильной, замкодержатель негоден (поз. II). При этой же установке производят проверку расцепного угла замкодержателя. Проходная часть планки 6, поворачиваемой против часовой стрелки, должна пройти мимо угла, а непроходная не должна (замкодержатель годен, поз. I). Если проходная часть планки 6 не проходит мимо расцепного угла или непроходная проходит, замкодержатель негоден (поз. II).
а)
в)
б)
Рисунок 2.30 - Проверка противовеса, расцепного угла
и отверстия замкодержателя шаблоном 826р
Для проверки размеров овального отверстия замкодержателя используют пробки 3 и 4 шаблона 826р (рисунок 2.30, в). Ширину овального отверстия считают правильной (поз. I), если замкодержатель не надевается на непроходную пробку 4 или надевается частично, но не доходит до упора в лист шаблона. Ширина овального отверстия бракуется, если замкодержатель надевается на непроходную пробку 4 (поз. II).
Длину овального отверстия считают правильной (поз. III), если замкодержатель не надевается на непроходную часть пробки 3.
Длину овального отверстия бракуют, если:
замкодержатель не надевается на верхнюю удлиненную часть пробки шаблона (поз. IV);
стержень пробки не проходит по всей длине отверстия (поз. V);
замкодержатель не надевается (поз. VI) на проходную часть или надевается (поз. VII) на непроходную часть пробки шаблона.
2.1.31 Наружное очертание замкодержателя проверяют шаблоном 916р, как показано на рисунок 2.31. Замкодержатель годен, если его боковая стенка плотно лежит на плите шаблона, а профильная призма а шаблона своим выступом касается упора б или зазор между ними не превышает 1 мм.
Рисунок 2.31 - Проверка наружного очертания замкодержателя
шаблоном 916р
2.1.32 После ремонта замкодержатель должен быть проверен шаблонами 841р, 826р, 916р, как указано выше.
Предохранитель
2.1.33 Предохранитель признают неисправным и направляют в ремонт, если:
а) он погнут;
б) диаметр отверстия, длина верхнего плеча, высота его торца или очертания верхнего и нижнего плеч не соответствуют шаблону 800р-1.
Наличие изгиба предохранителя определяют, пропуская его в вырезы а и б шаблона 800р-1 (рисунок 2.32). Если предохранитель не проходит в вырезы, то его надо выправить. Пропуская предохранитель через вырез а, надевают его отверстием на шип 1, укрепленный в обойме 2, до упора в основание. Предохранитель годен, если он свободно проходит через вырез в листе шаблона и располагается заподлицо с верхней плоскостью листа или ниже ее.
При проверке толщины плеч в вырезе б через отверстие предохранителя пропускают стержень 3 и затем поворачивают предохранитель на нем по часовой стрелке и обратно настолько, чтобы верхнее и нижнее плечи полностью прошли через соответствующие ветви выреза в шаблоне.
Диаметр отверстия в предохранителе проверяют непроходной пробкой 4 шаблона. Предохранитель считается годным, если он не надевается на пробку с обеих сторон, или надевается на нее, но не доходит до упора в лист шаблона.
Для проверки длины верхнего плеча предохранитель надевают на опорный шип 5 шаблона и поворачивают на нем против часовой стрелки. Предохранитель годен, если нижний угол торца верхнего плеча проходит мимо проходной части сухаря 6 и не проходит мимо непроходной.
Высоту торцовой поверхности верхнего плеча предохранителя проверяют непроходным вырезом 7 шаблона. Предохранитель исправен, если торцовая часть его верхнего плеча не полностью входит в вырез, т.е. остается зазор в.
Рисунок 2.32 - Проверка предохранителя замка
шаблоном 800р-1: I - предохранитель годен;
II - предохранитель негоден
2.1.34 После ремонта предохранитель проверяют шаблоном 800р-1, как указано выше.
Подъемник замка
2.1.35 Подъемник замка признают неисправным и направляют в ремонт, если любой из его проверяемых размеров не соответствует требованиям проверки шаблоном 847р (рисунок 2.33), и исправным, если:
а) подъемник, надетый на пробку 2, входит в обойму 5;
б) проходит в вырез 7;
в) буртиком входит в вырез 6;
г) отверстием не надевается на пробку 1;
д) надетый на пробку 3, не подходит широким пальцем под шляпку стойки 4, а узким пальцем проходит мимо проходной части сухаря 8 и не проходит мимо непроходной.
Рисунок 2.33 - Проверка подъемника шаблоном 847р:
I - подъемник годен; II - подъемник негоден
После ремонта подъемник замка проверяют шаблоном 847р, как указано выше.
Валик подъемника
2.1.36 Валик подъемника признают неисправным и направляют в ремонт, если любой из его проверяемых размеров не соответствует требованиям проверки шаблоном 919р (рисунок 2.34), и исправным, если:
а) цилиндрические части стержня проходят в соосно расположенные большое 2 и малое 7 кольца шаблона и вращаются в них;
б) стержень валика не проходит цилиндрической частью большего диаметра в вырез 8, а меньшего диаметра - в вырез 1;
в) цилиндрическая часть большего диаметра не проходит по длине в вырез 6 и проходит в вырез 4;
г) паз для крепящего болта, установленный на контрольный буртик 3, полностью закрывает его;
д) квадратная часть стержня проходит в отверстие 5 и не проходит в вырез 1.
Рисунок 2.34 - Проверка валика подъемника шаблоном 919р
После ремонта валик подъемника проверяют шаблоном 919р, как указано выше. Аналогичным образом проверяется и ремонтируется валик подъемника с двумя цепями.
Проверка собранной автосцепки
2.1.37 Контур зацепления собранной автосцепки проверяют проходным шаблоном 828р, при этом лапу замкодержателя вжимают заподлицо с ударной поверхностью зева корпуса (рисунок 2.35).
Шаблон должен свободно проходить по всей высоте головы автосцепки. При этом плоскость шаблона должна быть перпендикулярна к ударной стенке зева. Зазоры между шаблоном и проверяемыми поверхностями не контролируются.
Рисунок 2.35 - Проверка контура зацепления собранной
автосцепки шаблоном 828р
2.1.38 Проверку действия механизма автосцепки выполняют в следующем порядке:
- проверяют действие предохранителя замка от саморасцепа;
- убеждаются в отсутствии преждевременного включения предохранителя;
- контролируют обеспечение удержания механизма в расцепленном положении;
- выявляют возможность расцепления сжатых автосцепок (т.е. когда лапа замкодержателя прижата заподлицо с ударной стенкой зева);
- проверяют уход замка от вертикальной кромки малого зуба при включенном предохранителе;
- контролируют расстояние от вертикальной кромки малого зуба до кромки замка в его нижнем свободном положении и от кромки замка до кромки лапы замкодержателя по горизонтали;
- проверяют положение лапы замкодержателя относительно ударной стенки зева, когда замок находится в заднем крайнем положении.
А. Для проверки действия предохранителя от саморасцепа шаблон 820рд (рисунок 2.36, а) устанавливают в зеве собранной автосцепки так, чтобы он ребром со стороны непроходного выреза 27 нажимал на лапу замкодержателя и своим листом прилегал к носку большого зуба (рисунок 2.36, б). При этом упоры а должны быть прижаты к ударной стенке зева. Для определения правильного положения шаблона служит выступ в. При капитальном ремонте вагонов и локомотивов используется шаблон 820рк с вырезом 29 (см. Приложение N 2).
Предохранитель считают действующим, если при указанном положении шаблона замок от нажатия на его торец уходит внутрь кармана корпуса только до упора предохранителя в противовес замкодержателя (поз. I). Если же замок уходит внутрь кармана полностью (поз. II), значит механизм автосцепки неисправен.
а)
б)
Рисунок 2.36 - а) общий вид шаблона 820р; б) проверка
действия предохранителя замка от саморасцепа
автосцепки шаблоном 820р
Б. Для выявления возможности опережения, т.е. преждевременного включения предохранителя при сцеплении, шаблон 820р устанавливают так, чтобы он ребром со стороны проходного выреза 35 нажимал на лапу замкодержателя и своим листом прилегал к носку большого зуба (рисунок 2.37). При этом упоры б должны быть прижаты к ударной стенке зева. Механизм автосцепки считают годным, если при нажатии на торец замок беспрепятственно уходит в карман корпуса на весь свой ход (поз. I). Если же замок при нажатии на него не уходит полностью внутрь корпуса (поз. II), то автосцепка негодна.
В. Для проверки надежности удержания замка в расцепленном положении до разведения вагонов шаблон 820р устанавливают так, чтобы на лапу замкодержателя нажимало ребро со стороны выреза 25 (рисунок 2.38).
Удерживая шаблон в таком положении, поворотом валика подъемника уводят замок до отказа внутрь кармана корпуса, а затем освобождают валик. Автосцепка считается годной (поз. I), если замок удерживается в верхнем положении до тех пор, пока лапа замкодержателя прижата ребром шаблона, и если он опускается под действием своего веса после прекращения нажатия, причем другие детали механизма беспрепятственно возвращаются в исходное положение. Автосцепка негодна (поз. II), если замок, уведенный валиком подъемника, не удерживается в расцепленном (поднятом) положении.
Рисунок 2.37 - Выявление возможности преждевременного
включения предохранителя шаблоном 820р
Рисунок 2.38 - Проверка шаблоном 820р надежности удержания
замка в расцепленном состоянии при выходе лапы
замкодержателя в зев на 25 мм
Г. Для определения возможности расцепления автосцепок, когда лапа замкодержателя прижата заподлицо со стенкой зева (положение в сжатом составе), нужно прямолинейным ребром шаблона 820р нажать на лапу замкодержателя так, чтобы ребро по всей длине прилегало к ударной стенке зева автосцепки, причем лист шаблона должен быть прижат к носку большого зуба (рисунок 2.39).
Рисунок 2.39 - Проверка шаблоном 820р возможности
расцепления механизма автосцепки при вжатой заподлицо
со стенкой зева лапе замкодержателя
Удерживая шаблон в таком положении, поворачивают валик подъемника до отказа, чтобы увести замок на весь ход и поставить механизм в расцепленное положение.
Автосцепка годна, если при движении замка лапа замкодержателя не отжимает шаблон от ударной стенки зева, механизм удерживается в положении расцепления и все детали его после отвода шаблона беспрепятственно возвращаются в исходное положение.
Если лапа замкодержателя отталкивает шаблон, значит проход для верхнего плеча предохранителя между потолком корпуса автосцепки и противовесом замкодержателя недостаточен, т.е. механизм автосцепки неисправен.
Д. Величину отхода замка от вертикальной кромки малого зуба проверяют шаблонами 820р и 787р (рисунок 2.40). Для проверки нажимают на лапу замкодержателя непроходной стороной шаблона 820р со стороны выреза
27. Сохраняя такое положение, нажимают шаблоном 787р на торец замка вверху и у начала скоса вертикальной кромки сначала проходной стороной с цифрой 7 (положение I), а затем непроходной с цифрой 16 (положение III).
Автосцепка считается исправной, если в положении I замок уходит в карман корпуса до упора шаблона в ударную поверхность малого зуба, а в положении III между шаблоном и поверхностью малого зуба остается зазор.
Если шаблон 787р располагается относительно ударной поверхности малого зуба так, как показано в положениях II и IV, то механизм автосцепки негоден.
Рисунок 2.40 - Проверка величины отхода замка от кромки
малого зуба шаблонами 787р и 820р
Е. Расстояние от вертикальной кромки малого зуба автосцепки до вертикальной кромки замка в его крайнем нижнем положении должно быть 2 - 8 мм; от кромки замка до кромки лапы замкодержателя по горизонтали - не менее 20 мм (рисунок 2.41). Замеры производят линейкой при свободном положении замка.
Ж. Для проверки положения лапы замкодержателя относительно ударной стенки зева нажимают на замок, устанавливая его в заднее крайнее положение. После этого нажимают на лапу, утапливая ее внутрь кармана корпуса (она не должна выходить в зев от ударной стенки).
Рисунок 2.41 - Положение замка и замкодержателя
в собранной автосцепке
2.1.39 После проверки автосцепки в собранном состоянии при соответствии ее требованиям, изложенным в пп. 2.1.37 и 2.1.38, валик подъемника закрепляют болтом 1 (рисунок 2.42) М10 x 90 с гайкой 3, под головку болта и гайку ставят фасонные шайбы 2, которые загибают на головку болта и гайку.
Рисунок 2.42 - Типовое крепление валика подъемника
2.1.40 Автосцепка паровозного типа должна иметь предохранительный крюк (рисунок 2.43). Предохранительный крюк 1 изготавливается из стальной полосы толщиной 18 - 20 мм, устанавливается в технологическое отверстие малого зуба автосцепки 2 и имеет ограничители 3 и 4, препятствующие перемещению крюка. Ограничитель 4 приваривается к предохранительному крюку после его установки на автосцепку.
Рисунок 2.43 - Паровозная автосцепка
с предохранительным крюком
2.1.41 Автосцепка вагонов рефрижераторных секций, кроме концевой, должна иметь стопорный болт М16 x 60, препятствующий ее расцеплению.
2.2. ПОГЛОЩАЮЩИЕ АППАРАТЫ
ПОГЛОЩАЮЩИЕ АППАРАТЫ КЛАССА Т0
У поглощающих аппаратов класса Т0, подвергавшихся разборке и последующей сборке с заменой комплектующих (конус, клин, пружина, корпус аппарата), должна быть осуществлена проверка энергоемкости, которая должна быть не менее 30 кДж.
ПОГЛОЩАЮЩИЕ АППАРАТЫ Ш-1-ТМ, Ш-2-Т, Ш-2-В
2.2.1 Поглощающий аппарат не подлежит разборке и может быть установлен на подвижной состав если:
а) выход конуса (расстояние между торцом конуса и кромкой горловины корпуса аппарата) для аппаратов Ш-1-ТМ не менее 70 мм, для Ш-2-Т - не менее 110 мм, для Ш-2-В - не менее 90 мм;
б) отсутствуют трещины, изломы в деталях аппарата;
в) толщина стенки корпуса в зоне контакта с клином не менее 14 мм;
г) отсутствует покачивание деталей аппарата, что определяется ударами молотком по ним;
д) габариты аппарата соответствуют требованиям проверки шаблоном 83р (83р-1) (рисунок 2.44).
Рисунок 2.44 - Проходной шаблон 83р для проверки габаритных
размеров собранного поглощающего аппарата
При несоответствии указанным требованиям аппарат должен быть разобран.
2.2.2 При разборке аппарата необходимо на клиньях и на корпусе сделать соответствующие пометки, чтобы при сборке (в случае исправных деталей) клинья были поставлены на прежние места.
2.2.3 Допускаются к сборке:
а) корпус аппарата с толщиной стенки не менее 16 мм;
б) фрикционные клинья с толщиной стенки не менее 17 мм для аппаратов Ш-1-ТМ (рисунок 2.45, размер а) и не менее 32 мм для аппаратов Ш-2-В и Ш-2-Т (размер б);
Рисунок 2.45 - Фрикционные клинья поглощающих аппаратов
в) нажимной конус с износом не более 3 мм при проверке шаблоном 611 (рисунок 2.46) для аппарата Ш-1-ТМ и 611-1 для аппарата Ш-2-В;
г) нажимная шайба с износом не более 5 мм;
д) стяжной болт с износом не более 5 мм и длиной резьбы не более 35 мм;
е) пружины с высотой в свободном состоянии, не менее: наружная 390 мм, внутренняя 362 мм для аппаратов Ш-1-ТМ; наружная 353 мм, внутренняя 375 мм для аппарата Ш-2-Т и наружная 395 мм, внутренняя 360 мм для аппарата Ш-2-В.
Не допускается сборка поглощающего аппарата с новым корпусом.
а)
б)
Рисунок 2.46 - Проверка нажимного конуса поглощающего
аппарата шаблоном 611(611-1). Конус негоден, если между
концом движка и плоскостью конуса имеется зазор
более 3 мм (а), зазор между кольцом шаблона и плитой (б)
2.2.4 После сборки до постановки гайки стяжного болта у аппаратов Ш-1-ТМ выход конуса а должен быть не менее 80 мм, у аппаратов Ш-2-Т - не менее 120 мм, у аппаратов Ш-2-В - не менее 105 мм, причем зазор между нажимным конусом и шайбой менее 4 мм (рисунок 2.47, а) для аппаратов Ш-1-ТМ не допускается. Для определения величины этого зазора сначала ставят нажимной конус непосредственно на нажимную шайбу и измеряют расстояние от кромки корпуса до торцовой поверхности конуса. Затем конус ставят, как обычно, на фрикционные клинья, и измеряют то же расстояние; разность между результатами измерений и будет величиной зазора.
Измерения проводят в трех местах, равномерно расположенных по периметру.
Габаритные размеры отремонтированных и собранных аппаратов Ш-1-ТМ и Ш-2-В должны быть проверены шаблоном 83р, а аппарата Ш-2-Т - шаблоном 83р-1.
а)
б)
Рисунок 2.47 - Положение нажимного конуса в собранном
поглощающем аппарате до постановки гайки стяжного болта (а)
и размещение прокладки под гайкой стяжного болта
поглощающего аппарата (б)
2.2.5 После проверки аппарата и постановки гайки конец стяжного болта над гайкой должен быть расклепан для предупреждения ее самоотвинчивания.
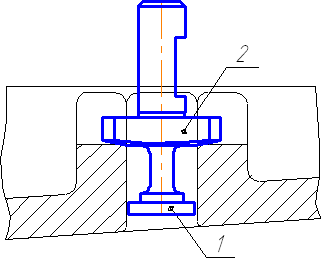
Для постановки собранного аппарата на вагон или локомотив, его необходимо дополнительно сжать на прессе и под гайку стяжного болта поставить металлическую прокладку высотой 15 - 20 мм, изготовленную из стального прутка диаметром 16 - 20 мм (рисунок 2.47, б). Такие форма и размеры прокладки обеспечат свободное ее выпадение при первом сжатии аппарата после установки на вагон или локомотив.
Рекомендуется использовать для сжатия поглощающего аппарата в тяговом хомуте переносную гидравлическую пресс-выжимку с усилием не менее 35 тс и ходом не менее 20 мм.
Аппарат Ш-2-В устанавливают на подвижной состав, имеющий ударную розетку, обеспечивающую расстояние от упора головы автосцепки до розетки не менее 100 мм (при касании торцом хвостовика автосцепки упорной плиты).
2.2.6 Запрещается устанавливать:
а) фрикционные клинья в углы корпуса, где образовались выступы неизношенного металла;
б) прокладки под пружины поглощающего аппарата.
ПОГЛОЩАЮЩИЙ АППАРАТ Ш-6-ТО-4У-120
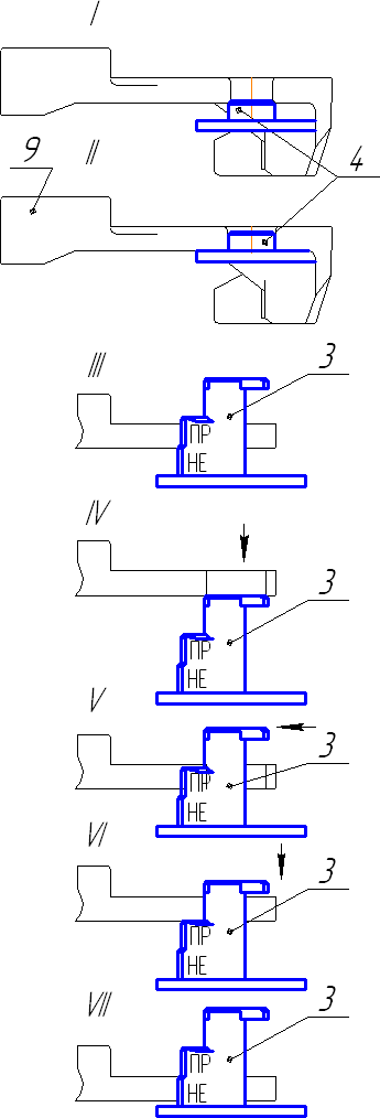
2.2.7 При поступлении вагона в плановый ремонт производится осмотр аппарата на вагоне. Для осмотра аппарата необходимо снять поддерживающую планку, предварительно закрепив аппарат от возможного выпадения с помощью хомутов или подпорок. Аппарат Ш-6-ТО-4У-120 (рисунок 2.48) считается исправным и не требует снятия с вагона, если:
а) он плотно прилегает к задним упорам и через упорную плиту к передним упорам;
б) толщина перемычки хомутовой части корпуса со стороны отверстия для клина не менее 50 мм;
Рисунок 2.48 - Поглощающий аппарат Ш-6-ТО-4У-120
в) толщина стенки горловины не менее 16 мм;
г) фрикционные клинья плотно прилегают к стенкам корпуса и между ними одинаковый зазор;
д) вкладыши расположены в пределах корпуса аппарата;
е) крышка располагается относительно стенок хребтовой балки симметрично;
ж) в деталях аппарата отсутствуют трещины в видимой зоне;
з) износ тяговой полосы корпуса по толщине не более 5 мм.
В случае если аппарат не отвечает хотя бы одному из указанных требований, он должен быть снят с вагона, разобран и отремонтирован.
Исправный поглощающий аппарат, осмотренный без снятия с вагона, клеймению не подлежит.
2.2.8 Допускаются к сборке детали аппарата со следующими размерами и износами элементов:
а) толщина стенки горловины корпуса не менее 18 мм;
б) толщина перемычек в отверстии для клина со стороны верхней и нижней тяговых полос корпуса не менее 50 мм;
в) высота пружин, не менее: наружной 598 мм, внутренней 306 мм;
г) износ рабочих поверхностей тяговых полос не более 4 мм;
д) зазор между конусом и шайбой не менее 5 мм (проверяется, как указано в пп. 2.2.4);
е) износ фрикционных клиньев и конуса не более 3 мм;
ж) износ нажимной шайбы не более 5 мм;
з) износы других деталей и их элементов не более 5 мм.
Для проверки указанных выше нормативов допускается применение шаблонов по проекту ПКБ ЦВ Т1295.
2.2.9 После сборки аппарата проверяют выход конуса, который должен быть не менее 130 мм. Сжатие поглощающего аппарата производится переносной гидравлической пресс-выжимкой с усилием не менее 35 тс и ходом не менее 20 мм.
2.2.10 Соединение аппарата с хвостовиком автосцепки допускается только с помощью клина, не имеющего буртиков.
При постановке аппарата на вагон должна применяться поддерживающая планка с глубиной прогнутой части 10 мм.
ПОГЛОЩАЮЩИЙ АППАРАТ ПМК-110К-23
2.2.11 Снятый при ремонте подвижного состава поглощающий аппарат (рисунок 2.49) не подлежит разборке, если:
а) выход конуса (расстояние в) не менее 110 мм;
б) отсутствуют трещины, изломы его деталей и сквозные протертости корпуса;
в) толщина стенки корпуса в рабочей части горловины не менее 16 мм;
г) среднее арифметическое зазоров а и б (т.е. величина (а + б) / 2) между торцом нажимного конуса и подвижными пластинами не менее 4 мм (при этом между подвижной и опорной пластинами должен быть контакт);
д) отсутствует покачивание деталей аппарата, что определяется постукиванием по ним молотком.
При несоответствии хотя бы одному из указанных требований аппарат должен быть разобран и отремонтирован.
2.2.12 При разборке поглощающего аппарата выполняется требование, изложенное в пп. 2.2.2.
Рисунок 2.49 - Поглощающий аппарат ПМК-110К-23:
1 - неподвижная пластина; 2 - подвижная пластина;
3 - опорная пластина; 4 - фрикционный клин;
5 - нажимной конус
2.2.13 Допускаются к сборке:
а) корпус аппарата с толщиной стенки в рабочей части горловины не менее 16 мм;
б) корпус аппарата с глубиной вмятин не более 3 мм на заплечиках в месте контакта с неподвижными пластинами;
в) наружная пружина высотой не менее 355 мм, внутренняя - не менее 375 мм;
г) неподвижные пластины с выкрашиванием, отколами, отслоением металлокерамических элементов на площади, не превышающей 25% от их общей площади поверхности трения с одной стороны пластины; допускается местный износ металлокерамических элементов от контакта с наружной пружиной;
д) фрикционные клинья с износом рабочих поверхностей до размера г >= 73 мм (см. рисунок 2.49);
е) подвижные пластины (2) толщиной д >= 9 мм, измеренной на расстоянии 15 мм от нижней кромки пластины;
ж) опорная пластина с износом не более 2 мм;
з) стяжной болт, не имеющий изгибов, с износом не более 5 мм и длиной резьбы не более 40 мм.
2.2.14 Зазор между нажимным конусом и опорной пластиной должен быть не менее 4 мм (способ определения величины зазора указан в пп. 2.2.4 настоящей Инструкции). При зазоре менее 4 мм допускается обработка конуса 5 со стороны опорной пластины до размера е = 136 мм (см. рисунок 2.49).
2.2.15 После сборки до постановки гайки стяжного болта размер в выхода конуса относительно корпуса должен быть не менее 120 мм. В случае несоответствия требованию производится замена пружин.
2.2.16 Среднее арифметическое зазоров а и б между торцом нажимного конуса и подвижными пластинами должно быть не менее 4 мм (при этом между подвижной и опорной пластинами должен быть контакт). При зазоре менее 4 мм допускается механическая обработка торца пластины с ее внешней стороны до размера ж = 200 мм.
2.2.17 Неподвижные пластины не должны после их установки выступать за плоскость торца корпуса аппарата.
2.2.18 После сборки проверяют габаритные размеры аппарата шаблоном 83р и выполняют работы, указанные в пп. 2.2.5 настоящей Инструкции.
2.2.19 При установке аппарата на подвижной состав запрещается применение упорных плит с боковыми скосами со стороны контакта с аппаратом, так как это приведет к преждевременному его выходу из строя.
ПОГЛОЩАЮЩИЕ АППАРАТЫ КЛАССА Т1
2.2.20 Разборка поглощающих аппаратов не допускается. Неисправные поглощающие аппараты или аппараты, достигшие срока службы 16 лет, должны быть направлены на завод-изготовитель или иное предприятие, имеющее разрешение на их капитальный (сервисный) ремонт. Непрошедшие капитальный ремонт поглощающие аппараты со сроком службы 16 лет и более к постановке на подвижной состав не допускаются.
(п. 2.2.20 в ред. Протокола от 15.06.2022)
ПОГЛОЩАЮЩИЙ АППАРАТ РТ-120
2.2.21 Поглощающий аппарат (рисунок 2.50) считается исправным и допускается к установке на грузовые вагоны и локомотивы, если:
а) отсутствуют трещины и изломы на корпусе аппарата, фрикционных клиньях и нажимном конусе;
б) толщина стенок горловины корпуса в зоне контакта с клиньями не менее 16 мм;
в) выход конуса не менее 120 мм;
г) отсутствует покачивание деталей фрикционного узла аппарата, что определяется ударами молотком по ним;
д) габариты аппарата соответствуют требованиям проверки шаблоном 83р (см. рисунок 2.44).
Рисунок 2.50 - Поглощающий аппарат РТ-120
2.2.22 Перед установкой на вагон аппарат следует сжать в тяговом хомуте переносной гидравлической пресс-выжимкой с усилием не менее 35 тс и ходом не менее 20 мм.
ПОГЛОЩАЮЩИЕ АППАРАТЫ ПМКП-110, АПМК-120-Т1, КМТ-118С,
АФП-110
(в ред. Протокола от 15.06.2022)
2.2.23 Детали поглощающего аппарата ПМКП-110 (рисунок 2.51) невзаимозаменяемы с деталями аппарата ПМК-110К-23 (см. рисунок 2.49). Замена деталей аппарата ПМКП-110 деталями аппарата ПМК-110К-23 и наоборот не допускается.
Рисунок 2.51 - Поглощающий аппарат пластинчатого типа
ПМКП-110, АПМК-120-Т1, КМТ-118С, АФП-110
(в ред. Протокола от 15.06.2022)
2.2.24 Поглощающие аппараты ПМКП-110, АПМК-120-Т1, КМТ-118С, АФП-110 (рис. 2.51) считаются исправными и допускаются к установке на грузовые вагоны и локомотивы, если:
а) выход конуса (расстояние между торцом конуса и кромкой горловины корпуса аппарата) не менее 120 мм для поглощающего аппарата АПМК-120-Т1, не менее 114 мм для поглощающего аппарата КМТ-118С и не менее 110 мм для поглощающих аппаратов ПМКП-110, АФП-110;
б) отсутствуют трещины, изломы их деталей и сквозные протертости корпуса;
в) толщина стенки корпуса в рабочей части горловины не менее 18 мм для поглощающего аппарата АПМК-120-Т1, не менее 16 мм для поглощающих аппаратов ПМКП-110, КМТ-118С и АФП-110;
г) износ корпуса от взаимодействия с планками против истирания не более 8 мм;
д) среднее арифметическое зазоров а и б (т.е. величина (а + б) / 2) между торцом нажимного конуса и подвижными пластинами не менее 4 мм (см. рис. 2.49). При этом следует убедиться, что между подвижной и опорной пластинами должен быть контакт;
е) отсутствует покачивание деталей фрикционного узла аппаратов, что определяется постукиванием по ним молотком;
ж) габарит поглощающих аппаратов соответствует требованиям проверки шаблоном 83р (см. рис. 2.44).
(п. 2.2.24 в ред. Протокола от 15.06.2022)
2.2.25 При установке аппарата на подвижной состав выполняют требования пп. 2.2.5, пп. 2.2.19 настоящей Инструкции.
ПОГЛОЩАЮЩИЕ АППАРАТЫ КЛАССА Т2
Поглощающие аппараты 73ZW, 73ZWy, АПЭ-90-А, АПЭ-95-УВЗ,
АПЭ-90-ЖДТ и РТ-130
(в ред. Протокола от 15.06.2022)
2.2.26 Ремонт аппаратов производится на заводе-изготовителе или специализированном ремонтном центре (КР). На вагон устанавливается аппарат из обменного фонда сервисного участка.
(в ред. Протокола от 15.06.2022)
2.2.27 При поступлении вагона в плановый ремонт производится осмотр аппарата и тягового хомута на вагоне. Аппарат не требует снятия с вагона, если:
а) срок до следующего РО или КР поглощающего аппарата составляет более 10 месяцев;
(в ред. Протокола от 15.06.2022)
б) отсутствуют трещины и изломы в видимой зоне аппарата и тягового хомута;
в) отсутствует протечка эластомерной массы;
г) суммарный зазор между передним упором и упорной плитой и задним упором и аппаратом менее 5 мм;
д) толщина нижней тяговой полосы хомута, измеренная по кромкам поддерживающей планки, более 23 мм;
е) толщина перемычки тягового хомута со стороны отверстия для клина более 53 мм.
Если аппарат или хомут, не отвечает хотя бы одному, из указанных требований они должны быть сняты с вагона. Неисправный тяговый хомут ремонтируется согласно п. 2.3 настоящей Инструкции. Неисправный аппарат заменяют на исправный аналогичной конструкции.
Исправные поглощающий аппарат и тяговый хомут, осмотренные без снятия с вагона, клеймению не подлежат.
2.2.28 При регламентном осмотре (РО) аппараты снимают с вагона. Амортизаторы аппаратов 73ZW, 73ZWу, АПЭ-90-ЖДТ (рисунок 2.52),
АПЭ-95-УВЗ (рисунок 2.53) вынимают из корпуса, очищают и осматривают.
(п. 2.2.28 в ред. Протокола от 15.06.2022)
Рисунок 2.52 - Поглощающий аппарат 73ZW,73ZWy, АПЭ-90-ЖДТ
(в ред. Протокола от 15.06.2022)
а)
б)
Рисунок 2.53 - Поглощающий аппарат АПЭ-95-УВЗ:
а - выпуск до 2008 г., б - выпуск с 2008 г.
1 - эластичная вставка
2.2.29 Аппараты 73ZW, 73ZWу, АПЭ-90-ЖДТ (рисунок 2.52), АПЭ-95-УВЗ (рисунок 2.53), АПЭ-90-А (рисунок 2.54) считаются неисправными при наличии одного из следующих дефектов:
а) протечка эластомерной массы;
б) трещины и сколы корпуса;
в) забоины глубиной более 3 мм на цилиндрической поверхности амортизатора аппаратов 73ZW, 73ZWу, АПЭ-90-ЖДТ, АПЭ-95-УВЗ или на корпусе аппарата АПЭ-90-А;
г) повреждение хромового покрытия штока;
д) сквозные трещины и разрывы упругого элемента для аппаратов 73ZWу, АПЭ-90-ЖДТ и эластичной вставки для аппарата АПЭ-95-УВЗ;
е) высота упругого элемента менее 29 мм для аппаратов 73ZWу и АПЭ-90-ЖДТ;
ж) износ корпуса от взаимодействия с планками против истирания более 8 мм.
Неисправный аппарат заменяют на исправный аналогичной конструкции.
При отсутствии дефектов амортизатор и внутреннюю поверхность корпуса смазывают смазкой КР-400 (ТУ0254-213оп - 01124323-2006); амортизатор вставляют в корпус, из которого он был извлечен.
(п. 2.2.29 в ред. Протокола от 15.06.2022)
Рисунок 2.54 - Поглощающий аппарат АПЭ-90-А
2.2.30 Установка аппарата на вагон допускается с тяговым хомутом без трещин и ранее выполненных заварок трещин с учетом требований пп. 2.2.27 д, е.
Перед установкой на вагон наружную поверхность аппарата в местах контакта с планками против истирания, с тяговым хомутом, а также сам тяговый хомут в месте контакта с поддерживающей планкой смазать смазкой КР-400 (ТУ0254-213оп - 01124323-2006).
2.2.31 Перед постановкой аппарата 73ZW, 73ZWу, АПЭ-90-ЖДТ в тяговый хомут он должен быть сжат, между монтажной планкой и приливом корпуса должны быть установлены вкладыши высотой 18 - 20 мм и диаметром 16 - 20 мм. Для сжатия аппарата АПЭ-90-А между гайкой болта и проушиной корпуса должны быть установлены четыре полукольца (вкладыша) высотой 18 - 20 мм и внутренним диаметром 25 мм. Перед установкой аппарата АПЭ-95-УВЗ на вагон аппарат должен быть установлен в тяговый хомут вместе с упорной плитой и сжат на 10 - 15 мм.
Рекомендуется использовать для сжатия всех типов эластомерных поглощающих аппаратов в хомуте переносную гидравлическую пресс-выжимку с усилием не менее 35 тс и ходом не менее 20 мм без использования предварительной зарядки вкладышами.
(п. 2.2.31 в ред. Протокола от 15.06.2022)
2.2.31.1 Поглощающий аппарат РТ-130 (рис. 2.54.1) считается исправными и допускается к установке на грузовые вагоны и локомотивы, если:
а) выход конуса (расстояние между торцом конуса и кромкой горловины корпуса аппарата) не менее 120 мм;
б) отсутствуют трещины, изломы их деталей и сквозные протертости корпуса;
в) толщина стенки корпуса в рабочей части горловины не менее 19 мм;
г) износ корпуса от взаимодействия с планками против истирания не более 8 мм;
д) отсутствует покачивание деталей фрикционного узла аппаратов, что определяется постукиванием по ним молотком;
е) габарит поглощающего аппарата соответствует требованиям проверки шаблоном 83р (см. рис. 2.44).
(пп. 2.2.31.1 введен Протоколом от 15.06.2022)
Рисунок 2.54.1 - Поглощающий аппарат РТ-130
(рисунок 2.54.1 введен Протоколом от 15.06.2022)
ПОГЛОЩАЮЩИЕ АППАРАТЫ КЛАССА Т3
Поглощающие аппараты 73ZWy2, АПЭ-120-И и 73ZW12
(в ред. Протокола от 15.06.2022)
2.2.32 Требования к обслуживанию аппаратов соответствуют изложенным в пп. 2.2.26, 2.2.27.
2.2.33 При регламентном осмотре (РО) аппараты снимают с вагона. Амортизатор аппарата 73ZWу2 (рисунок 2.55) вынимают из корпуса, очищают и осматривают. Поверхности корпуса и амортизатора смазывают смазкой КР-400 (ТУ0254-213оп - 01124323-2006) и вставляют в корпус, из которого он был извлечен.
(п. 2.2.33 в ред. Протокола от 15.06.2022)
Рисунок 2.55 - Поглощающий аппарат 73ZWy2
2.2.34 Аппараты 73ZWу2 (рисунок 2.55), АПЭ-120-И, 73ZW12 (рисунок 2.56) считаются неисправными при наличии одного из следующих дефектов:
а) протечка эластомерной массы;
б) трещины и сколы корпуса;
в) забоины глубиной более 3 мм на цилиндрической поверхности амортизатора аппарата 73ZWу2 или на корпусе аппарата АПЭ-120-И, 73ZW12;
г) повреждение хромового покрытия штока;
д) сквозные трещины и разрывы упругого элемента для аппарата 73ZWу2;
е) высота упругого элемента менее 29 мм для аппарата 73ZWу2;
ж) износ корпуса от взаимодействия с планками против истирания более 8 мм.
(п. 2.2.34 в ред. Протокола от 15.06.2022)
Рисунок 2.56 - Поглощающий аппарат АПЭ-120-И, 73ZW12
(в ред. Протокола от 15.06.2022)
2.2.35 Установка аппарата на вагон допускается с тяговым хомутом без трещин и ранее выполненных заварок трещин с учетом требований пп. 2.2.27 д, е.
Перед установкой на вагон наружную поверхность аппарата, в местах контакта с планками против истирания, с тяговым хомутом, а также сам тяговый хомут в месте контакта с поддерживающей планкой смазать смазкой КР-400 (ТУ0254-213оп - 01124323-2006).
2.2.36 Перед постановкой аппарата 73ZWу2 в тяговый хомут он должен быть сжат, между монтажной планкой и приливом корпуса должны быть установлены вкладыши высотой 18 - 20 мм и диаметром 16 - 20 мм. Для сжатия аппарата АПЭ-120-И и 73ZW12 между гайкой болта и проушиной корпуса должны быть установлены четыре полукольца (вкладыша) высотой 18 - 20 мм и внутренним диаметром 25 мм.
Рекомендуется использовать для сжатия всех типов эластомерных поглощающих аппаратов в хомуте переносную гидравлическую пресс-выжимку с усилием не менее 35 тс и ходом не менее 20 мм без использования предварительной зарядки вкладышами.
(п. 2.2.36 в ред. Протокола от 15.06.2022)
ПОГЛОЩАЮЩИЕ АППАРАТЫ ДЛЯ ПАССАЖИРСКОГО ПОДВИЖНОГО СОСТАВА
Поглощающий аппарат ЦНИИ-Н6
2.2.37 При периодических видах ремонта пассажирских вагонов поглощающие аппараты должны быть разобраны и негодные детали заменены. При разборке аппарата необходимо на клиньях и на корпусе сделать соответствующие пометки, чтобы при сборке (в случае исправных деталей) клинья были поставлены на прежние места.
2.2.38 Допускаются к сборке:
а) горловина с толщиной стенок не менее 16 мм;
б) фрикционные клинья с толщиной стенок по краям не менее 17 мм (см. рисунок 2.45);
в) нажимной конус с износом не более 3 мм (см. рисунок 2.46); при проверке шаблоном 611 конус должен быть поставлен на круглую плиту толщиной 35 мм и диаметром 164 мм;
г) нажимная шайба с износом не более 5 мм;
д) большие пружины (горловины и основания) высотой не менее 210 мм;
е) внутренняя пружина фрикционной части и большие (верхние) угловые пружины высотой не менее 188 мм;
ж) малые (нижние) угловые пружины высотой не менее 86 мм;
з) основание или горловина корпуса с износом опорных мест для пружин не более 2 мм;
и) основание с отверстиями для стержней диаметром не более 71 мм;
к) стержень, у которого длина утолщенной цилиндрической части не менее 48 мм и диаметр не менее 60 мм;
л) стяжной болт, не имеющий изгибов, с износом не более 5 мм и длиной резьбы не более 40 мм.
Детали поглощающего аппарата с размерами, не соответствующими указанным нормам, ремонтируют или заменяют новыми.
Сборка аппаратов с новой горловиной и/или основанием корпуса не допускается.
2.2.39 Для предотвращения перекоса горловины и основания при сборке аппарата угловые пружины должны быть подобраны так, чтобы разница высот их в свободном состоянии в комплекте не превышала 2 мм.
Габаритные размеры отремонтированного и собранного аппарата должны быть проверены проходным шаблоном 83р.
2.2.40 При капитальном ремонте пассажирских вагонов должна быть проверена работоспособность поглощающего аппарата ЦНИИ-Н6 на копровой установке или прессе.
Поглощающие аппараты ЦНИИ-Н6 считаются исправными и допускаются к установке на пассажирские вагоны локомотивной тяги и моторвагонного подвижного состава, если:
- энергоемкость аппарата на копровой установке не менее 14 кДж;
- или при нагружении на прессе сила закрытия не менее 600 кН (60 тс).
Поглощающие аппараты Р-2П (класс П1) и Р-5П (класс П2)
2.2.41 Поглощающие аппараты Р-2П и Р-5П (рисунок 2.57) считаются исправными и допускаются к установке на пассажирский подвижной состав при капитальном и деповском ремонтах, если:
а) отсутствуют трещины и изломы в деталях аппарата;
б) износы корпуса, нажимной и промежуточной плит аппарата Р-2П не более 5 мм, износы корпуса-хомута и промежуточных плит аппарата Р-5П не более 5 мм, толщина перемычки в отверстии для клина корпуса-хомута аппарата Р-5П не менее 50 мм;
Рисунок 2.57 - Поглощающий аппарат Р-5П
в) на резинометаллических элементах нет наружных повреждений (надрывов, вырывов). Допускается местное отслоение резины от краев арматуры на глубину не более 50 мм (при наличии надрывов, вырывов или отслоения резины на глубину более 50 мм резинометаллические элементы должны быть заменены);
г) резинометаллические элементы плотно прижаты к нажимной плите и основанию корпуса у аппарата Р-2П и к упорной плите и основанию корпуса хомута у аппарата Р-5П;
д) начальное сопротивление при сжатии аппарата на прессе составляет 20 - 50 кН (2 - 5 тс) для аппарата Р-2П и 20 - 110 кН (2 - 11 тс) для аппарата Р-5П;
е) габаритные размеры аппарата Р-2П соответствуют шаблону 83р (см. рисунок 2.44), длина аппарата Р-5П между опорными поверхностями корпуса хомута и упорной плиты не менее 625 мм (измеряется линейкой);
ж) срок эксплуатации резинометаллических элементов не превышает 9 лет (исчисляется от даты изготовления по маркировке на торцевой поверхности).
2.2.42 При капитальном ремонте должен быть проверен ход поглощающих аппаратов при соответствующем усилии. Ход у аппарата Р-2П при усилии 600+50 кН (60+5 тс) должен составлять 50 - 65 мм, а у аппарата Р-5П при усилии 800+50 кН (80+5 тс) - 60 - 75 мм.
2.2.43 Аппараты, не удовлетворяющие требованиям, указанным в пп. 2.2.41, 2.2.42 подлежат разборке с заменой негодных деталей. К сборке допускаются резинометаллические элементы толщиной не менее 39 мм для аппарата Р-2П и не менее 30 мм для аппарата Р-5П со сроком эксплуатации не более 9 лет.
2.2.44 Заусенцы и края вмятин на металлических деталях, образовавшиеся в процессе эксплуатации, должны быть зачищены.
2.2.45 Аппараты должны храниться в местах, защищенных от прямого солнечного света, от контакта с горюче-смазочными материалами и другими веществами, разъедающими резину. При погрузке и разгрузке не допускается сбрасывать аппараты во избежание повреждения резинометаллических элементов.
Поглощающий аппарат Т-7П (класс П2)
2.2.46 Разборка аппаратов не допускается. Неисправные поглощающие аппараты должны быть направлены на завод-изготовитель или иное предприятие, имеющее разрешение на их ремонт.
2.2.47 Поглощающий аппарат Т-7П (рисунок 2.57а) считается исправными, если:
а) отсутствуют трещины, изломы металлических деталей аппарата,
б) эластичные элементы не имеют наружных повреждений или разрывов на глубину более 10 мм,
в) длина аппарата в свободном состоянии составляет 578 +/- 5 мм,
г) отсутствует повреждение шплинта и/или откручивание гаек,
д) отсутствует свободное перемещение нажимного стакана.
Рис. 2.57а) - Поглощающий аппарат Т-7П
2.2.48 При погрузке и разгрузке не допускается сбрасывать аппараты.
2.2.49 Перед установкой на пассажирские вагоны локомотивной тяги и моторвагонного подвижного состава все модели поглощающих аппаратов следует сжать в тяговом хомуте переносной гидравлической пресс-выжимкой с усилием не менее 15 тс и ходом не менее 30 мм.
2.3. ТЯГОВЫЕ ХОМУТЫ
ТЯГОВЫЙ ХОМУТ АВТОСЦЕПКИ СА-3
2.3.1 Тяговый хомут считается годным если:
а) толщина перемычки со стороны отверстия для клина не менее 50 мм;
б) нет трещины на тяговых полосах; разрешается вырубать и оставлять без заварки поверхностные трещины глубиной не более 3 мм с плавным выводом разделок на литейную поверхность, если они не расположены на тяговых полосах;
в) износы тяговых полос не более 3 мм, а боковых поверхностей головной и задней опорной части - не более 5 мм;
г) хомут отвечает требованиям проверки шаблонами 920р-1 и 861р-м.
2.3.2 Перемычку отверстия для клина тягового хомута наплавляют, если ее толщина менее 50 мм. Наплавку выполняют со стороны отверстия для клина с таким расчетом, чтобы после обработки толщина перемычки была не менее 58 мм и не более 61 мм. После наплавки и обработки отверстия проверяют проходным шаблоном 861р-м. Хомут негоден, если шаблон не проходит через верхнее отверстие (рисунок 2.58, а) или через нижнее отверстие (рисунок 2.58, б) для клина. Если шаблон проходит через оба отверстия (рисунок 2.58, в), то хомут исправен.
2.3.3 Длину хомута, т.е. расстояние от передних кромок отверстий для клина до опорной поверхности корпуса поглощающего аппарата, проверяют шаблоном 920р-1, который плотно прижимают к передним кромкам отверстий для клина (рисунок 2.59, а). Зазор а, определяемый перемещениями движка, допускается не более 3 мм при выпуске из капитального ремонта и не более 5 мм при остальных видах периодического ремонта подвижного состава. Если толщина перемычки находится в пределах 58 - 61 мм, но длина тягового хомута не отвечает требованиям проверки шаблоном 920р-1, то должна быть произведена наплавка поверхности в месте опоры корпуса поглощающего аппарата с последующей проверкой тем же шаблоном.
а)
б)
в)
Рисунок 2.58 - Проверка отверстий для клина в тяговом
хомуте шаблоном 861р-м
2.3.4 Высоту проема в головной части хомута проверяют шаблоном 920р-1, который перемещают, плотно прижав к тяговой полосе (рисунок 2.59, б). Проходной вырез полосы этого шаблона должен проходить мимо проверяемого места, а непроходной не должен. Если это условие не выполняется, то изношенные места необходимо наплавить с последующей обработкой.
Для проверки высоты проема после ремонта в головной части хомута (рисунок 2.60) шаблон 861р-м вставляют в отверстия для клина в хомуте и фиксируют в трех точках: опорными выступами - на стенках отверстий для клина, а опорной планкой - на нижней поверхности проема. Затем подвижную часть шаблона подводят до соприкосновения контролирующей опоры 1 с потолком проема и закрепляют винтом.
Высота проема тягового хомута после ремонта соответствует норме, если стрелка находится в пределах проточки 2.
2.3.5 Тяговые хомуты отлитые до 1970 г. ремонту не подлежат и изымаются из эксплуатации.
а)
б)
Рисунок 2.59 - Проверка длины тягового хомута (а) и высоты
потолка проема в головной части тягового хомута (б)
шаблоном 920р-1
Рисунок 2.60 - Проверка высоты проема тягового хомута
(после ремонта) шаблоном 861р-м
2.3.6 Болт с квадратной головкой, поддерживающий клин тягового хомута, заменяют новым при износе по диаметру более 1 мм при капитальном ремонте и более 2 мм - при остальных видах периодического ремонта подвижного состава. Длина болта должна быть 145 +/-3 мм, диаметр болта - 20 мм. При выполнении резьбы М20 методом накатки допускается применять болт диаметром в гладкой части 18,4 мм.
2.3.7 Резьба болта не должна выходить на его часть, расположенную между ушками тягового хомута, и составляет 42+5 мм.
2.3.8 Ремонтировать болты, поддерживающие клин, не разрешается.
2.3.9 Для надежного запирания болтов, поддерживающих клин тягового хомута, должно быть обеспечено их типовое крепление (рисунок 2.61).
а)
б)
Рисунок 2.61 - Типовое крепление клина тягового хомута
Чтобы поддерживающие клин болты не могли подняться выше козырька хомута, под головку болтов устанавливают запорную планку 6, которую затем разгибают до упора в нижнюю тяговую полосу хомута. Под гайки 2 болтов ставят запорную планку 3, которую после затяжки гаек и постановки проволоки 1 (диаметром 4 мм и длиной 120 мм) загибают на грани гаек. Вместо проволоки допускается ставить стандартные шплинты диаметром 5 мм. В целях повышения надежности крепления клина к приливу приваривают стенки 4 и через отверстия в них пропускают проволоку 5 диаметром 5 мм, концы которой загибают под углом не менее 90 град. (рисунок 2.61, а). Стенки 4 могут быть отлиты при изготовлении хомута. В этом случае вместо проволоки ставят стальную планку 7 толщиной 1,5 мм, шириной 15 - 20 мм и длиной 230 мм, концы которой загибают вокруг стенок 4 (рисунок 2.61, б).
Клин тягового хомута поглощающего аппарата Ш-6-ТО-4У-120, не имеющий ограничительных буртиков, и клин поглощающего аппарата Р-5П устанавливают на специальную планку, через отверстия в которой пропускают поддерживающие болты, закрепляя их от выпадения, как указано выше. Головки и торцы болтов окрашивают белой краской.
ТЯГОВЫЙ ХОМУТ АВТОСЦЕПКИ СА-3М
2.3.10 Высота а проема в головной части хомута (рисунок 2.62) допускается не более 191 мм. Изношенные поверхности наплавляют и затем обрабатывают с доведением высоты проема до 185 - 186 мм.
2.3.11 Диаметр d отверстия для валика допускается не более 97 мм. Изношенные стенки отверстий наплавляют с последующей обработкой и доведением диаметра до 92 мм. Разрешается растачивать отверстия и запрессовывать в них втулки с наружным диаметром 102 мм.
Рисунок 2.62 - Тяговый хомут автосцепки СА-3М
2.3.12 Длина б хомута, т.е. расстояние от опорной поверхности корпуса поглощающего аппарата до передних кромок отверстий для валика, допускается не более 812 мм. После наплавки и обработки изношенных мест длина должна быть 806 - 809 мм.
2.3.13 В остальном тяговый хомут автосцепки СА-3М должен отвечать требованиям, которые предъявляются к хомуту автосцепки СА-3.
2.3.14 Для равномерного износа тяговых полос и поверхностей проема разрешается перевертывать хомут неизношенной тяговой полосой вниз, если отверстия для валика были отремонтированы согласно п. 2.3.11 настоящей Инструкции.
Тяговый хомут с увеличенным проемом в головной части
2.3.15 Ширина отверстия "а" под клин в головной части хомута (рисунок 2.62а) допускается не более 95 мм. Изношенные стенки отверстий наплавляют с последующей обработкой и доведением ширины отверстий до 92 мм.
Рисунок 2.62а - Тяговый хомут с увеличенным проемом
в головной части
2.3.16 В остальном тяговый хомут с увеличенным проемом в головной части должен отвечать требованиям пп. 2.3.1 - 2.3.4 настоящей Инструкции.
2.4. КЛИН, ВАЛИК ТЯГОВОГО ХОМУТА, УПОРНАЯ ПЛИТА,
ПЕРЕДНИЕ И ЗАДНИЕ УПОРЫ, ПОДДЕРЖИВАЮЩАЯ ПЛАНКА,
ПЛАНКА ПРОТИВ ИСТИРАНИЯ
2.4.1 Клин тягового хомута считают негодным при наличии одного из следующих дефектов:
а) трещина независимо от ее размера и места расположения;
б) ширина а (рисунок 2.63) в любом сечении менее 90 мм при всех видах периодического ремонта грузового подвижного состава и при капитальном ремонте пассажирского подвижного состава и менее 88 мм при остальных видах периодического ремонта пассажирского подвижного состава;
в) толщина б менее 28 мм в наиболее изношенном сечении (толщина клина в местах облегчения не контролируется, облегчающая выемка допускается только со стороны буртика);
г) изгиб более 3 мм;
д) высота клина менее 305 мм;
е) высота ограничительных буртиков менее 15 мм.
Клин тягового хомута, не имеющий буртиков (для поглощающего аппарата Ш-6-ТО-4У-120), считают негодным при наличии какого-либо из дефектов, перечисленных в подпунктах а - д.
Ремонтировать неисправный клин тягового хомута не разрешается.
Рисунок 2.63 - Клин тягового хомута
2.4.2 Упорная плита подлежит восстановлению наплавкой, если толщина ее в средней части менее 55 мм при капитальном ремонте и менее 53 мм при остальных видах периодического ремонта подвижного состава. После ремонта толщина плиты должна быть 57 - 59 мм. Плита с трещиной подлежит замене.
2.4.3 Износ или перекос опорных поверхностей упоров 1 (рисунок 2.64) хребтовой балки не более 3 мм допускается оставлять без исправления. Поверхности с большим износом должны быть восстановлены наплавкой с последующей обработкой. При износе более 5 мм вместо наплавки разрешается приваривать планки соответствующих размеров.
Рисунок 2.64 - Передний и задний упоры
Расстояние между передними и задними упорами а должно быть в пределах 622 - 625 мм, между боковыми гранями упорных поверхностей (в направлении между стенками хребтовой балки) не менее 205 мм и не более 220 мм у передних упоров б и не менее 165 мм и не более 220 мм у задних в.
2.4.4 Крепление поддерживающей планки осуществляется восьмью болтами диаметром 22 мм с гайками, контргайками и шплинтами. Вместо гаек, контргаек и шплинтов допускается использование самоконтрящихся гаек с металлическим стопорящим кольцом типа FS по ТУ 459560-003-8626665, при этом момент затяжки гаек должен быть не менее 340 Нм. Допускается постановка десяти болтов диаметром 20 мм.
(абзац в ред. Протокола от 15.06.2022)
Износ поддерживающей планки по толщине допускается не более 4 мм. Изношенную сверх этого поверхность восстанавливают наплавкой с последующей обработкой.
Заварка трещин в поддерживающей планке не допускается.
2.4.5 Валик тягового хомута, упорная плита, вкладыш и поддерживающая планка автосцепки СА-3М (рисунок 2.65) признаются негодными при наличии в них трещин независимо от величины и места расположения или одного из следующих дефектов:
а) диаметр а валика 1 в любом сечении менее 87 мм или изгиб более 2 мм. Ремонтировать валик тягового хомута не разрешается;
б) толщина б упорной плиты 2 менее 44 мм. Плиту с износом более допускаемого восстанавливают наплавкой с доведением толщины до 48 - 49 мм;
в) толщина в вкладыша 3 менее 44 мм, высота г менее 178 мм. Вкладыш с износом более допускаемого восстанавливают наплавкой с доведением толщины до 47 - 48 мм и высоты до 182 мм.
г) износ поддерживающей планки 4 более 3 мм. При износе более 3 мм изношенные места восстанавливают наплавкой и обрабатывают заподлицо с неизнашиваемой поверхностью.
2.4.6 Валик паровозной розетки негоден, если в нем имеются трещина, изгиб более 2 мм, или его диаметр менее 74 мм при капитальном и менее 72 мм при других видах ремонта.
Рисунок 2.65 - Детали упряжного устройства автосцепки СА-3М
2.4.7 Планки против истирания с износом по толщине более 5 мм подлежат замене. Крепление планки производить заклепками с потайной головкой или расклепкой головки впотай. Допускается крепление планки болтами с потайной головкой.
При капитальном ремонте грузового подвижного состава должны быть установлены планки против истирания толщиной 10 мм и длиной 180 +2-3 мм на расстоянии от 12 до 15 мм от опорной поверхности упоров.
2.5. ДЕТАЛИ ЦЕНТРИРУЮЩЕГО ПРИБОРА
ДЕТАЛИ ЦЕНТРИРУЮЩЕГО ПРИБОРА АВТОСЦЕПКИ С ЖЕСТКОЙ
ОПОРОЙ ДЛЯ ХВОСТОВИКА
Ударная розетка
2.5.1 Опорные места для головок маятниковых подвесок проверяют в розетке грузового типа шаблоном 776р, в розетке пассажирского типа - шаблоном 779р.
При проверке шаблон устанавливают в корпусе розетки так, чтобы его мерительная планка 1 (рисунок 2.66, а), являющаяся проходной частью, прошла сквозь прямоугольное отверстие для маятниковой подвески, а верхняя часть 2 с коническим основанием легла на места опоры головки подвески, которые предварительно должны быть хорошо зачищены.
Ударная розетка считается годной, когда нижняя рамка прямоугольного отверстия для маятниковой подвески располагается в пределах толщины мерительной планки 1 (рисунок 2.66, б). Розетка подлежит ремонту, если мерительная планка не доходит до кромки прямоугольного отверстия или целиком выходит из прямоугольного отверстия (рисунок 2.66, в, г).
а)
б)
в)
г)
Рисунок 2.66 - Проверка опорных мест для маятниковых
подвесок в розетке шаблонами 776р, 779р
Местные износы на корпусе розетки (от соприкосновения с центрирующей балочкой и корпусом автосцепки) глубиной до 5 мм разрешается оставлять без наплавки с плавным выводом на литую поверхность.
Центрирующая балочка
2.5.2 Центрирующая балочка с трещинами, изгибами или износами должна быть отремонтирована или заменена новой.
Заварка трещин в балочке допускается при условии, что после их вырубки рабочее сечение балочки уменьшится не более чем на 25%.
Место опоры хвостовика автосцепки на балочке ремонтируют, если высота сечения менее 57 мм для балочки центрирующего прибора грузового типа и менее 160 мм для балочки пассажирского типа.
Балочки с изгибом более 3 мм в средней части или у опорных поверхностей для головок маятниковых подвесок выправляют.
Опорные поверхности крюкообразных опор для головок маятниковых подвесок проверяют у балочек центрирующего прибора грузового типа шаблоном 777р-м, у балочек пассажирского типа - шаблоном 780р-м. При проверке шаблон 777р-м или 780р-м устанавливают основанием на опорную плоскость балочки, а боковые скобы плотно прижимают к крюкообразным опорам (рисунок 2.67). Если стрелки располагаются в пределах прорезей шаблона, балочка годна к дальнейшей эксплуатации.
Рисунок 2.67 - Проверка центрирующей балочки шаблоном
777р-м или 780р-м
Скобой с вырезом (57 +/- 0,1) мм контролируют допускаемую высоту балочки в средней части. Если скоба входит полностью в центральной части балочки (на глубину 15 мм), то балочка по высоте подлежит наплавке (в месте опоры хвостовика автосцепки) и последующей обработке.
После ремонта изношенных поверхностей крюкообразные опоры со стороны прорезей для маятниковых подвесок должны быть закруглены (радиус закругления 3-5 мм), расстояние а должно быть не менее 35 мм.
При расстоянии а менее 35 мм допускается применять перемычки 1 (планки) между крюкообразными опорами, препятствующие выходу маятниковых подвесок из-под крюкообразных опор при подъеме автосцепки до упора в розетку (рисунок 2.68). Перемычки длиной 65 +/- 3 мм, шириной 12 +/- 3 мм и толщиной 6 мм изготавливают из стали 3 и приваривают на расстоянии от 10 до 20 мм от нижнего края крюкообразной опоры, при этом перемычки не должны выступать за боковую поверхность опор со стороны вагона.
Центрирующие балочки для пассажирских вагонов должны иметь перемычки между крюкообразными опорами длиной 80 мм, шириной 12 мм и толщиной 6 мм.
Рисунок 2.68 - Расположение планки между крюкообразными
опорами центрирующей балочки
Маятниковая подвеска
2.5.3 Маятниковые подвески грузового типа должны быть проверены шаблоном 778р, пассажирского типа - шаблоном 781р.
Маятниковая подвеска считается исправной, если она отвечает требованиям проверки шаблоном 778р (рисунок 2.69) или 781р:
а) по толщине в любом месте стержень не проходит в непроходной вырез а шаблона (положение I);
б) по длине стержень проходит через проходную часть б (положение II) шаблона и не проходит через непроходную часть в; проверка производится с обеих сторон головок подвески;
в) верхняя (широкая) головка подвески проходит в широкий прямоугольный вырез г шаблона (положение III), а нижняя (узкая) головка проходит в узкий прямоугольный вырез д;
г) верхняя и нижняя головки подвески не проходят по длине в непроходной вырез е шаблона (положение IV);
д) верхняя головка подвески по ширине не проходит в непроходной вырез ж шаблона (положение V), а нижняя головка не проходит в непроходной вырез з.
2.5.4 Заварка трещин в маятниковых подвесках не допускается. Изношенные места восстанавливают наплавкой с последующей обработкой и проверкой шаблонами 778р или 781р.
Рисунок 2.69 - Проверка маятниковой подвески шаблоном
778р или 781р
ДЕТАЛИ ЦЕНТРИРУЮЩЕГО ПРИБОРА АВТОСЦЕПКИ
С ПОДПРУЖИНЕННОЙ ОПОРОЙ ДЛЯ ХВОСТОВИКА
2.5.5 Подлежат восстановлению наплавкой с последующей обработкой изношенные поверхности:
а) крюкообразных опор балочки 1 для маятниковых подвесок (рисунок 2.70) при износе в месте а более 3 мм;
б) ограничительных выступов б центрирующей балочки при износе по ширине свыше 4 мм в месте их соприкосновения с поддерживающей плитой;
в) поддерживающей плиты 2, если ширина в ее выемки превышает 48 мм в месте соприкосновения с ограничительными выступами;
г) в других местах балочки при износе более 3 мм.
2.5.6 Заваривать трещины в центрирующей балочке и поддерживающей плите можно в том случае, если после вырубки трещины рабочее сечение детали уменьшается не более чем на 25%.
Рисунок 2.70 - Детали центрирующего прибора автосцепки
с подпружиненной опорой для хвостовика
2.5.7 Фиксатор 3 с износом стержня по диаметру менее 2 мм разрешается оставлять без ремонта. Допускается производить наплавку с последующей обработкой поверхностей г головки фиксатора при условии, что в изношенном месте ее высота не менее 10 мм. Наплавленный металл не должен доходить до стержня фиксатора на 3 - 5 мм во избежание подреза. Заварка трещин в фиксаторах не допускается.
2.5.8 При сборке центрирующего прибора необходимо использовать пружины высотой не менее 238 мм для балочек с диаметром прутка пружины 14 мм и не менее 218 мм с диаметром прутка пружины 12 мм. Разница по высоте двух пружин установленных в центрирующей балочке не должна быть более 2 мм.
2.5.9 Маятниковые подвески с расстоянием между головками более 253 мм подлежат восстановлению наплавкой с последующей обработкой. Заварка трещин в маятниковых подвесках не допускается.
2.5.10 Центрирующие балочки, затяжка пружин в которых осуществляется стяжными болтами, подлежат изъятию из эксплуатации.
ДЕТАЛИ ЦЕНТРИРУЮЩИХ ПРИБОРОВ С НЕСТАНДАРТНЫМ ПЕРЕДНИМ УПОРОМ
2.5.11 Детали центрирующих приборов с нестандартным передним упором (розеткой) на локомотивах и специальном подвижном составе ремонтируют при износе свыше 5 мм в соответствии с требованиями инструкций по эксплуатации и ремонту заводов-изготовителей, согласованными с владельцами инфраструктуры.
Паровозная розетка
2.5.12 Заваривать трещины в паровозной розетке не разрешается.
2.5.13 Стенки отверстия для валика, изношенные по диаметру более чем на 4 мм, должны быть наплавлены с последующей расточкой отверстия до альбомных размеров.
Разрешается в отверстие для валика запрессовывать стальную втулку с наружным диаметром 86 мм. Перед постановкой втулки отверстие растачивают, после запрессовки втулку приваривают к плоскости розетки.
2.5.14 Опорный козырек для автосцепки при износе более 3 мм восстанавливают наплавкой с последующей механической обработкой. Опорная поверхность козырька должна быть перпендикулярна к вертикальной оси отверстия для валика.
2.5.15 Изношенные более чем на 3 мм места центрирующих стаканов должны быть восстановлены наплавкой с последующей обработкой до альбомных размеров.
2.5.16 Пружину центрирующего устройства высотой менее 235 мм ставить в розетку нельзя. Излом оттянутого конца пружины не более 1/3 длины окружности не служит причиной браковки.
2.5.17 Болты крепления розетки диаметром менее 50 мм должны быть заменены. Наплава изношенных болтов и заварка каких-либо дефектов на них не допускается. Ослабшие заклепки лапчатых болтов должны быть переклепаны.
2.6. РАСЦЕПНОЙ ПРИВОД
2.6.1 Расцепной привод осматривают на месте для определения состояния деталей. Детали снимают для ремонта при наличии повреждения или при их расположении, несоответствующем установочному чертежу.
Фиксирующий кронштейн и кронштейн должны быть надежно закреплены двумя болтами диаметром 16 мм с постановкой гайки, контргайки и шплинта 4 x 25 мм.
2.6.2 Изношенные места фиксирующего кронштейна и кронштейна должны быть восстановлены наплавкой, если износы нарушают действие расцепного привода или автосцепки. Трещины, если в каждой детали их не более одной, заваривают, погнутые детали выправляют.
Расцепной рычаг плоской частью сечением 20 x 35 мм должен свободно входить в вертикальный паз фиксирующего кронштейна и иметь ограничитель от продольного перемещения.
2.6.3 Цепи со звеньями из прутка диаметром более 9 мм или менее 7 мм необходимо заменить.
2.6.4 Цепи расцепного привода должны быть соединены с валиком подъемника удлиненными звеньями, которые после соединения сваривают (только в КПА).
Удлиненное звено должно изготовляться из прутка диаметром 10 мм и иметь внутренние размеры: длину не более 45 мм и не менее 35 мм и ширину не более 18 мм и не менее 14 мм.
2.6.5 При модернизированном расцепном приводе грузовых вагонов (наличие двух цепей) цепи должны крепиться к расцепному рычагу болтами, имеющими прорезь на головке до 2 мм. Расцепная цепь крепится к короткому плечу рычага болтом диаметром 16 мм, а блокировочная цепь - к дополнительному плечу рычага болтом диаметром 14 мм. Изогнутые болты должны быть заменены на новые. Запрещается постановка болта расцепной цепи вместо болта блокировочной цепи и наоборот.
2.6.6 Если для регулирования длины расцепной и блокировочной цепей длина резьбы на регулировочных болтах недостаточна, то количество звеньев должно быть соответственно увеличено или уменьшено. Регулировочные болты цепей крепят к расцепному рычагу гайкой и контргайкой с постановкой шплинта.
2.6.7 Приборы пневматического привода для расцепления автосцепок из кабины локомотива ремонтируют в сроки и порядком, установленными инструкцией по ремонту тормозного оборудования локомотивов.
2.7. КЛЕЙМЕНИЕ И ОКРАСКА ОТРЕМОНТИРОВАННЫХ И ПРОВЕРЕННЫХ
УЗЛОВ И ДЕТАЛЕЙ АВТОСЦЕПНОГО УСТРОЙСТВА
2.7.1 После ремонта и проверки обязательному клеймению ударным способом подлежат: замок, замкодержатель, предохранитель, подъемник, валик подъемника, тяговый хомут, валик, клин тягового хомута, ударная розетка <*>, балочка центрирующего прибора, маятниковые подвески, упорная плита, поглощающий аппарат, собранная автосцепка, вкладыш и поддерживающая плита центрирующего прибора.
--------------------------------
<*> На подвижном составе с утопленной ударной розеткой допускается наносить клеймение на ударной поверхности розетки слева от центральной оси вагона
Места расположения клейм на деталях автосцепного устройства показаны на рисунках 2.71, 2.72.
2.7.2 Клейма набивают на хорошо зачищенных местах деталей, четко обозначая номер ремонтного пункта, месяц и год ремонта цифрами высотой не менее 6 мм и глубиной 0,25 мм (например, 375.05.08); старые клейма должны быть зачищены. Поглощающие аппараты, прошедшие неплановый ремонт или КР в сервисном центре, дополнительно клеймятся буквами "Р" или "КР" (например, 1272.КР.05.21).
(в ред. Протокола от 15.06.2022)
2.7.3 Клейма ставят на деталях автосцепного устройства после ремонта или проверки в контрольном пункте или отделении по ремонту автосцепки. Устанавливать на подвижной состав детали и узлы без читаемых клейм не разрешается.
2.7.4 Все детали, поступившие в качестве запасных частей, должны иметь паспорта (сертификаты) качества завода-изготовителя.
Новые поглощающие аппараты и автосцепки, поступившие в собранном виде, не разбирают и не клеймят.
2.7.5 Входной контроль автосцепок в сборе, поступивших на ремонтное предприятие в качестве запасных частей, следует производить шаблонами 828р, 820рк, 787р. При несоответствии - составляется акт-рекламация формы, принятой железнодорожной администрацией.
2.7.6 При замене неисправных деталей механизма сцепления новые детали, не бывшие в ремонте и эксплуатации и предназначенные для комплектовки выпускаемых из ремонта автосцепок, должны быть проверены шаблонами. Если детали соответствуют шаблонам, то на них наносят клейма контрольного пункта, если не соответствуют, то на них составляется акт-рекламация формы, принятой железнодорожной администрацией.
2.7.7 До установки на подвижной состав детали автосцепного устройства окрашивают черной краской, за исключением стенок отверстия под клин, кармана для размещения деталей механизма сцепления и зева корпуса автосцепки, а также деталей механизма сцепления.
Сигнальный отросток замка окрашивают красной краской. Поглощающие аппараты и их детали при полном осмотре не окрашивать.
Рисунок 2.71 - Детали автосцепного устройства (заштрихованы
места расположения клейм): 1 - замок; 2 - замкодержатель;
3 - предохранитель; 4 - подъемник; 5 - валик подъемника;
6 - корпус автосцепки в сборе; 7 - ударная розетка; 8 - клин
тягового хомута; 9 - вкладыш; 10 - упорная плита;
11 - валик; 12 - тяговый хомут, поглощающий аппарат Р-5П;
13 - центрирующая балочка; 14 - маятниковая подвеска;
15 - поддерживающая плита центрирующей балочки
Рисунок 2.72 - Детали автосцепного устройства. Поглощающие
аппараты (заштрихованы места расположения клейм):
1 - Ш-6-ТО-4У-120; 2 - Ш-1-ТМ, Ш-2-В, Ш-2-Т; 3 - РТ-120,
РТ-130; 4 - АПЭ-95-УВЗ; 5 - АПЭ-120-И, АПЭ-90-А, 73ZW12;
6 - 73ZW, 73ZWy, 73ZWy2; АПЭ-90-ЖДТ; 7 - ПМК-110-К23,
ПМКП-110, АПМК-120-Т1, КМТ-118С, АФП-110; 8 - Р-2П, ЦНИИ-Н6
(в ред. Протокола от 15.06.2022)
Допускается окрашивать корпус автосцепки для установки на локомотивы и пассажирские вагоны в серый цвет в соответствии с утвержденной нормативной документацией на ремонт указанного подвижного состава.
2.7.8 Запрещается смазывать детали механизма автосцепки и трущиеся части фрикционного поглощающего аппарата.
2.8. УСТАНОВКА АВТОСЦЕПНОГО УСТРОЙСТВА
2.8.1 Для установки на грузовой вагон при выпуске из плановых видов ремонта допускаются поглощающие аппараты одного класса <*> в соответствии с требованиями руководства по деповскому и капитальному ремонту грузовых вагонов.
--------------------------------
<*> В рамках одного класса допускается устанавливать поглощающие аппараты разных моделей и разных производителей
Аппараты, не подвергавшиеся разборке в условиях ремонтных предприятий, считаются годными к установке согласно паспорту завода-изготовителя.
2.8.2 Поглощающие аппараты: Ш-2-В, Ш-6-ТО-4У-120, ПМК-110К-23 (класс Т0); ПМКП-110, РТ-120, АПМК-120-Т1, КМТ-118С, АФП-110 (класса Т1); 73ZW, 73ZWy, АПЭ-95-УВЗ, АПЭ-90-А, РТ-130, АПЭ-90-ЖДТ (класса Т2) и 73ZWy2, АПЭ-120-И, 73ZW12 (класса Т3) устанавливаются на грузовой подвижной состав, имеющий розетку, выступающую от концевой балки на 130 мм. Для этих аппаратов расстояние от упора головы автосцепки до грани розетки должно быть не менее 120 мм при утопленном положении автосцепки и не более 140 мм при выдвинутом.
(в ред. Протокола от 15.06.2022)
Поглощающие аппараты Ш-1-ТМ (класс Т0) устанавливаются на грузовые вагоны и локомотивы, имеющие розетку, выступающую от концевой балки на 185 мм, при этом расстояние от упора головы корпуса автосцепки до грани розетки было не менее 70 мм при полностью утопленном положении автосцепки и не более 90 мм при выдвинутом положении.
Для аппарата Ш-2-Т (класс Т0), 73ZWy, АПЭ-90-А, АПЭ-95-УВЗ, АПЭ-90-ЖДТ (класс Т2) устанавливаемого на подвижной состав с розеткой, выступающей на 95 мм, эти расстояния должны быть соответственно не менее 110 и не более 130 мм.
(в ред. Протокола от 15.06.2022)
Расстояние от упора головы автосцепки до розетки при установке поглощающих аппаратов на пассажирский подвижной состав должно быть для аппаратов Р-2П и ЦНИИ-Н6 не менее 70 мм при утопленном и не более 90 мм при выдвинутом положениях автосцепки, а для аппарата Р-5П - соответственно не менее 80 мм и не более 100 мм. Указанные в этом подпункте расстояния проверяют, когда аппарат плотно прилегает дном корпуса к задним упорам, а через упорную плиту - к передним упорам.
При установке поглощающих аппаратов на подвижной состав, имеющий нестандартную длину ударной розетки, расстояние от упора головы автосцепки до грани розетки должно быть не менее хода поглощающего аппарата. Например, если ход поглощающего аппарата 90 мм, то расстояние при утопленном положении автосцепки должно быть не менее 90 мм.
2.8.3 На грузовые вагоны, оборудованные передним упором 1 (рисунок 2.73, а) с размером 75 мм от фланца (привалочной плиты) до внутренней кромки отверстия в ударной розетке под стержень маятниковой подвески, устанавливают центрирующую балочку 2 с ограничителем (крюком) длиной 60 +/- 2 мм. На вагоны с передним упором 3 (рисунок 2.73, б), имеющим размер от фланца до внутренней кормки отверстия в ударной розетке 55 мм, устанавливают центрирующую балочку 4 с ограничителем длиной 40 +/- 22 мм.
а)
б)
Рисунок 2.73 - Установка центрирующей балочки на грузовые
вагоны с различными типами передних упоров
2.8.4 Высоту автосцепки над уровнем головок рельсов измеряют на горизонтальном и прямом участке пути <*> с помощью специального устройства (приложение N 2) или с помощью рейки. Эта высота должна соответствовать данным, указанным в таблице 2.1.
--------------------------------
<*> Превышение одного рельса над другим не более 2 мм, отклонение любого рельса от прямолинейности не более 4 мм, ширина колеи 1520 +/- 2 мм.
Устройство или основание рейки устанавливают на обе головки рельсов. Измерения производятся от литейного шва, проходящего вдоль хвостовика корпуса автосцепки. Если шов плохо заметен, через середину хвостовика проводят продольную линию. В случае использования специального устройства высота измеряется при помощи указателя, перемещающегося в вертикальном направлении, при использовании рейки - стойки с делениями (линейки). Высоту автосцепки измеряют в месте выхода хвостовика автосцепки из ударной розетки по передней плоскости центрирующей балочки (рисунок 2.74, точка а).
Таблица 2.1
Подвижной состав
Высота оси автосцепки над головками рельсов, мм, при выпуске из ремонта
капитального
вагонов из деповского; тепловозов, электровозов и вагонов, электро- и дизель-поездов из текущих ТР-2, ТР-3; паровозов из подъемочного
Грузовые вагоны
1080 - 1020
1080 - 1000
Пассажирские вагоны на тележках:
КВЗ-5, КВЗ-ЦНИИ
1080 - 1030
1080 - 1020
остальных типов
1080 - 1020
1080 - 1010
Рефрижераторные вагоны
1080 - 1030
1080 - 1020
Электровозы
1080 - 1000
1080 - 990
Тепловозы, паровозы, тендеры, дизель-поезда серий Д1, ДР1
1080 - 1020
1080 - 1010
Вагоны промежуточные электропоездов серий:
ЭД
1152 - 1102
1152 - 1102
ЭМ, ЭТ
1170 - 1120
1170 - 1110
остальных серий
1160 - 1090
1160 - 1080
Вагоны головные электропоездов <*>
1080 - 1010
1080 - 1000
--------------------------------
<*> Значения указаны для автосцепок, расположенных со стороны кабин.
Примечание. У паровозов и тендеров с полным запасом воды и топлива при выпуске из ремонта высота автосцепки допускается не менее 990 мм.
Рисунок 2.74 - Способ измерения высоты автосцепки
над головками рельсов
2.8.5 Разница между высотами осей автосцепок по обоим концам вагона, тепловоза или электровоза (одной секции), вагона электро- или дизель-поезда <*> при выпуске из капитального ремонта должна быть не более 15 мм, а при выпуске из других видов ремонта - не более 20 мм (для грузового вагона - не более 25 мм).
--------------------------------
<*> На головных вагонах не контролируется
2.8.6 Положение автосцепки относительно горизонтали определяют по разности между значениями ее высоты от головок рельсов до литейного шва, измеренной в двух местах: у входа хвостовика в ударную розетку и по линии зацепления (см. рисунок 2.74, точки а и б). Отклонение автосцепки вниз (провисание) допускается у вагонов и локомотивов не более чем на 10 мм, отклонение вверх - не более чем на 3 мм.
У вагонов моторвагонного подвижного состава провисание допускается не более чем на 3 мм, а отклонение вверх - не более чем на 5 мм.
2.8.7 При центрирующем приборе с маятниковом подвешиванием зазор между верхней плоскостью хвостовика и потолком ударной розетки на расстоянии 15 - 20 мм от наружной ее кромки должен быть не менее 25 мм и не более 40 мм, а между этой же плоскостью хвостовика и верхней кромкой окна в концевой балке - не менее 20 мм. При отсутствии концевой балки контролируется минимальный зазор между плоскостью хвостовика и потолком ударной розетки, который должен быть не менее 20 мм.
При центрирующем приборе с подпружиненной опорой для хвостовика автосцепки указанный зазор не контролируется.
2.8.8 Автосцепка должна свободно перемещаться из среднего положения в крайнее от усилия, приложенного человеком, и возвращаться обратно под действием собственного веса. Проверку этого требования выполняют, когда аппарат плотно прилегает дном корпуса к задним упорам и через упорную плиту к передним упорам.
2.8.9 Длина цепи расцепного привода должна быть отрегулирована. Рукоятка расцепного рычага 1 (рисунок 2.75) должна укладываться на полочку фиксирующего кронштейна так, чтобы нижняя часть замка не выступала наружу от вертикальной стенки зева.
При модернизированном приводе перед регулированием длины расцепной цепи предварительно проверяют длину короткого плеча рычага 2 от оси стержня до центра отверстия, которая должна составлять от 190 до 200 мм, и длину дополнительного плеча 3 для крепления блокировочной цепи - от 200 до 210 мм.
Рисунок 2.75 - Расцепной привод автосцепки
2.8.10 Для проверки работы модернизированного расцепного привода автосцепка с помощью подъемного устройства горизонтально перемещается из вагона. Первой должна натянуться расцепная цепь 1 (рисунок 2.76). Блокировочная цепь 2 должна натянуться, когда расцепная цепь повернет валик подъемника от его нормального положения против часовой стрелки на расстояние от 20 до 30 мм, измеренное по верхней кромке отверстия для крепления цепи в валике подъемника. Если блокировочная цепь натянулась раньше, чем валик подъемника повернется на указанное расстояние, то необходимо отрегулировать длину блокировочной цепи в соответствии с п. 2.6.6. После регулировки блокировочная цепь закрепляется на рычаге, автосцепку устанавливают на место и закрепляют на вагоне установленным порядком.
Рисунок 2.76 - Положение валика подъемника при проверке
работы модернизированного расцепного привода
2.8.11 Ограничительную планку или скобу на хребтовой балке (или другое ограничительное устройство), предохраняющую тяговый хомут от поднятия и автосцепку от провисания, необходимо заменить, если она погнута или в ней имеются трещины.
2.8.12 Поглощающий аппарат должен прилегать к задним упорам и через упорную плиту к передним упорам. Ослабленные заклепки упоров и ударной розетки должны быть переклепаны, болтовые соединения закреплены.
2.8.13 Не допускается устанавливать при капитальном ремонте грузовых вагонов и локомотивов автосцепки со сроком службы 30 лет и более.
2.8.14 Не допускается постановка поглощающих аппаратов ЦНИИ-Н6 на пассажирские вагоны локомотивной тяги и моторвагонного подвижного состава, построенные после 1990 г., а также пассажирские локомотивы всех годов выпуска.
Не допускается постановка на пассажирские вагоны локомотивной тяги и моторвагонного подвижного состава поглощающих аппаратов Р-2П взамен аппаратов Р-5П и Т-7П.
2.8.15 Тяговый хомут с увеличенным проемом в головной части (см. рисунок 2.62а) устанавливают на грузовые вагоны длиной по осям сцепления более 21 м.
3 НАРУЖНЫЙ ОСМОТР
3.1 Требования, указанные в настоящей главе, относятся к осмотру, проверке и ремонту автосцепного устройства при текущем отцепочном ремонте вагонов, единой технической ревизии пассажирских вагонов (ТО-3), текущем ремонте ТР-1 тепловозов, электровозов и вагонов дизель- и электропоездов, промывочном ремонте паровозов.
3.2 При наружном осмотре необходимо проверить
а) действие механизма автосцепки;
б) износ тяговых и ударных поверхностей большого и малого зубьев, ширину зева корпуса, состояние рабочих поверхностей замка;
в) состояние корпуса автосцепки, тягового хомута, клина тягового хомута и других деталей автосцепного устройства (наличие в них трещин и изгибов);
г) состояние расцепного привода и крепление валика подъемника автосцепки;
д) крепление клина тягового хомута;
е) прилегание поглощающего аппарата к упорной плите и задним упорным угольникам (упору);
ж) зазор между хвостовиком автосцепки и потолком ударной розетки;
з) зазор между хвостовиком автосцепки и верхней кромкой окна в концевой балке;
и) высоту продольной оси автосцепки пассажирских вагонов от головок рельсов;
к) положение продольной оси автосцепки относительно горизонтали;
л) состояние валика, болтов, пружин и крепления паровозной розетки.
В случае выявления неисправности действия механизма автосцепки, а также при единой технической ревизии пассажирских вагонов механизм автосцепки разбирают, карманы корпуса осматривают, при необходимости очищают, неисправные детали заменяют исправными и после сборки проверяют действие механизма в установленном порядке.
3.3 Не разрешается выпускать подвижной состав в эксплуатацию при наличии хотя бы одной из следующих неисправностей:
а) автосцепка не отвечает требованиям проверки комбинированным шаблоном 940р;
б) детали автосцепного устройства с трещинами;
в) разница между высотами автосцепок по обоим концам вагона более 25 мм <*>, провисание автосцепки подвижного состава более 10 мм; высота оси автосцепки пассажирских вагонов от головок рельсов более 1080 мм и менее 1010 мм у вагонов на тележках КВЗ-5, КВЗ-ЦНИИ и менее 1000 мм на тележках остальных типов;
--------------------------------
<*> На головных вагонах электропоездов не контролируется.
г) цепь или цепи расцепного привода длиной более или менее допустимой; цепь с незаваренными звеньями или надрывами в них;
д) зазор между хвостовиком автосцепки и потолком ударной розетки менее 25 мм; зазор между хвостовиком и верхней кромкой окна в концевой балке менее 20 мм (при жесткой опоре хвостовика);
е) замок автосцепки, отстоящий от наружной вертикальной кромки малого зуба более чем на 8 мм или менее чем на 1 мм; лапа замкодержателя, отстоящая от кромки замка менее чем на 16 мм;
ж) валик подъемника заедает при вращении или закреплен нетиповым способом;
з) толщина перемычки хвостовика автосцепки, устанавливаемой вместо неисправной на вагон, выпускаемый из текущего отцепочного ремонта, менее 48 мм;
и) поглощающий аппарат не прилегает плотно через упорную плиту к передним упорам, а также к задним упорам (для аппаратов 73ZW, 73ZWy, 73ZWy2, АПЭ-120-И, АПЭ-90-А, АПЭ-95-УВЗ, РТ-120, ПМКП-110, Т-7П, АПМК-120-Т1, КМТ-118С, АФП-110, РТ-130, АПЭ-90-ЖДТ; 73ZW12 допускается наличие суммарного зазора между передним упором и упорной плитой или корпусом аппарата и задним упором до 5 мм <*>);
(в ред. Протокола от 15.06.2022)
--------------------------------
<*> При наличии суммарного зазора между передним упором и упорной плитой или корпусом аппарата и задним упором свыше 5 мм необходимо снять поглощающий аппарат и установить причину неисправности. При просадке, протечке амортизирующей (эластомерной) композиции или заклинивании поглощающего аппарата его необходимо заменить исправным аппаратом. При расстоянии между упорами более 625 мм следует выполнить работы в соответствии с требованиями п. 2.4.3 настоящей Инструкции.
к) упорные угольники, передние и задние упоры с ослабленными заклепками;
л) планка, поддерживающая тяговый хомут, толщиной менее 14 мм, либо укрепленная болтами диаметром менее 22 мм, либо без контргаек и шплинтов на болтах (допускается крепление поддерживающей планки болтами диаметром 20 мм, но в количестве 10 шт.);
м) нетиповое крепление клина (валика) тягового хомута;
н) неправильно поставленные маятниковые подвески центрирующего прибора (широкими головками вниз);
о) кронштейн (ограничитель вертикальных перемещений) автосцепки с трещиной в любом месте, износом горизонтальной полки или изгибом более 5 мм;
п) отсутствие предохранительного крюка у паровозной автосцепки; валик розетки, закрепленный нетиповым способом; ослабшие болты розетки; болты без шплинтов или со шплинтами, не проходящими через прорези корончатых гаек.
3.4 Порядок проверки автосцепки комбинированным шаблоном 940р:
а) проверка исправности действия предохранителя замка. Прикладывают шаблон, как показано на рисунке 3.1, а, и одновременно нажимают рукой на замок, пробуя втолкнуть его в карман корпуса автосцепки. Уход замка полностью в карман корпуса указывает на неправильное действие предохранителя замка. Если предохранитель действует правильно (верхнее его плечо упирается в противовес замкодержателя при нажатии на лапу ребром комбинированного шаблона), то замок должен уходить от кромки малого зуба автосцепки не менее чем на 7 мм и не более чем на 18 мм (измеряют в верхней части замка);
а)
б)
в)
Рисунок 3.1 - Порядок проверки действия механизма
автосцепки комбинированным шаблоном 940р
б) проверка действия механизма на удержание замка в расцепленном положении. Шаблон прикладывают, как показано на рисунке 3.1, б. Затем поворотом до отказа валика подъемника уводят замок внутрь полости кармана и освобождают валик, продолжая удерживать шаблон в зеве автосцепки. Если замок опускается обратно вниз, значит механизм неисправен;
в) выявление возможности преждевременного включения предохранителя замка при сцеплении автосцепок. Шаблон устанавливают так, чтобы его откидная скоба стороной с вырезом 35 мм нажимала на лапу замкодержателя, а лист шаблона касался большого зуба (рисунок 3.1, в). Автосцепка считается годной, если при нажатии на замок он беспрепятственно уходит в карман на весь свой ход;
г) проверка толщины замыкающей части замка. Прикладывают шаблон, как показано на рисунке 3.2, а. Если шаблон одновременно прилегает к боковым сторонам малого зуба и замка, значит замок негоден (тонок);
д) проверка ширины зева автосцепки (без замка). Шаблон прикладывают одним концом к углу малого зуба (рисунок 3.2, б), а другим подводят к носку большого зуба. Если шаблон проходит мимо носка большого зуба в зев, то корпус автосцепки негоден. Проверка производится по всей высоте носка большого зуба;
а)
б)
в)
г)
Рисунок 3.2 - Проверка толщины замыкающей части замка (а),
ширины зева автосцепки (б) и износов контура
зацепления (в, г) шаблоном 940р
е) проверка износа малого зуба. Шаблон прикладывают, как показано на рисунке 3.2, в. Если шаблон соприкасается с боковой стенкой малого зуба, то автосцепка негодна (рисунок 3.2, г). Проверку выполняют на расстоянии 80 мм вверх и вниз от продольной оси корпуса;
ж) проверка износа тяговой поверхности большого зуба и ударной поверхности зева. Шаблон устанавливают, как показано на рисунке 3.2, в. Если шаблон входит в зев, то автосцепка негодна (рисунок 3.2, г). Проверку выполняют в средней части большого зуба по высоте на 80 мм вверх и вниз от середины (проверка большого зуба против окна для лапы замкодержателя не производится).
3.5 При единой технической ревизии пассажирских вагонов (ТО-3) производится проверка возвышения противовеса замкодержателя над полочкой. Для этой цели на лапу замкодержателя, навешенного на шип корпуса, нажимают шаблоном 940р, как показано на рисунке 3.3, после чего планку 1 с вырезом 11 мм устанавливают на противовес замкодержателя. Возвышение противовеса над полочкой считается достаточным, если между планкой 1 и полочкой 2 имеется зазор, при этом тяговые и ударные поверхности контура зацепления корпуса автосцепки должны удовлетворять требованиям проверки шаблоном 893р.
Рисунок 3.3 - Проверка возвышения противовеса
замкодержателя над полочкой
3.6 После устранения обнаруженных неисправностей собранная автосцепка должна быть проверена шаблоном 940р.
3.7 Автосцепное устройство электропоездов следует проверять в соответствии с указанными в данной главе требованиями один раз между текущими ремонтами ТР-1.
4 ПРОВЕРКА АВТОСЦЕПНОГО УСТРОЙСТВА ПРИ ТЕХНИЧЕСКОМ
ОБСЛУЖИВАНИИ ВАГОНОВ И ЛОКОМОТИВОВ
4.1 Требования, изложенные в данной главе, относятся к проверке автосцепного устройства во время технического обслуживания пассажирских и грузовых вагонов при подготовке поездов на пунктах технического обслуживания, при подготовке грузовых вагонов под погрузку, при техническом обслуживании (ТО-2, ТО-3) локомотивов и вагонов дизель- и электропоездов, техническом обслуживании специального подвижного состава и в других случаях, специально оговоренных владельцем инфраструктуры.
4.2. Запрещается постановка в поезда и следование в них вагонов и других единиц подвижного состава, у которых автосцепное устройство имеет хотя бы одну из следующих неисправностей (в том числе выявляемых в зоне, видимой при осмотре с пролазкой):
а) трещина корпуса автосцепки;
б) трещина тягового хомута, излом клина тягового хомута или валика, неисправное или нетиповое их крепление. Признаками излома клина являются изгиб болта, поддерживающего клин, блестящая намятина заплечиков клина, металлическая пыль на хомуте, увеличенный или уменьшенный выход автосцепки, а также двойной удар при ударе молотком по клину снизу;
в) излом или трещина центрирующей балочки, маятниковых подвесок (или направляющей рейки центрирующего прибора безмаятникового типа), неправильно поставленные маятниковые подвески грузовых вагонов (широкими головками вниз), излом пружин, отсутствие гаек или обрыв болтов пружин центрирующего прибора;
г) износ или другие повреждения корпуса автосцепки и механизма сцепления, при которых возможен саморасцеп автосцепок.
Действие предохранителя от саморасцепа проверяют специальным ломиком. Ломик заостренным концом вводят сверху в пространство между ударной стенкой зева одной автосцепки и торцевой поверхностью замка другой (смежной) автосцепки (рисунок 4.1, положение I).
Поворачивая выступающий конец ломика по направлению стрелки, нажимают заостренным концом на замок. Если он не уходит внутрь кармана и при этом слышен четкий металлический стук от удара предохранителя в противовес замкодержателя, значит предохранительное устройство от саморасцепа исправно. Также проверяют и смежную автосцепку.
При проверке автосцепок пассажирских вагонов, между секциями локомотивов, а также грузовых вагонов, если находящийся в них груз препятствует введению ломика сверху, ломик вводят снизу через отверстие в нижней стенке кармана и, упираясь в кромку отверстия, нажимают на замок в нижней части (положение Ia).
Рисунок 4.1 - Положения ломика при проверке автосцепки
Если при проверке действия предохранителя от саморасцепа обнаружено, что замок раскачивается более чем на 20 мм (определяют это при помощи заостренной части ломика, имеющей ширину 20 мм) или выходит за кромку ударной поверхности малого зуба, то необходимо проверить, лежит ли на полочке верхнее плечо предохранителя. Для этого изогнутый конец ломика заводят за выступ замка (положение II) и нажимают на выступающую часть ломика по направлению стрелки, выталкивая замок из кармана корпуса до отказа. Если замок неподвижен или его свободное качание значительно уменьшилось, то это означает, что предохранитель соскочил с полочки.
Когда автосцепки натянуты и увести замки внутрь кармана корпуса ломиком невозможно, надежность работы механизма определяют по состоянию замкодержателя, предохранителя и полочки. Чтобы проверить замкодержатель, ломик вводят в пространство между ударными поверхностями автосцепок сверху или снизу через отверстие корпуса, предназначенное для восстановления сцепленного состояния у ошибочно расцепленных автосцепок (положение III), и нажимают на лапу замкодержателя. Если лапа после прекращения нажатия возвратится в первоначальное положение и будет прижиматься к ударной поверхности малого зуба смежной автосцепки, то замко-держатель исправен. В случае когда противовес замкодержателя отломан, лапа свободно качается, и при нажатии на нее ломиком проверяющий не ощущает заметного сопротивления. Заедание замкодержателя внутри кармана корпуса, обнаруживаемое при нажатии на его лапу ломиком сверху, свидетельствует о возможном изгибе полочки для верхнего плеча предохранителя, препятствующем свободному повороту замкодержателя. Наличие верхнего плеча предохранителя проверяют ломиком, который вводят в карман корпуса через отверстие для сигнального отростка (положение IV). Прижимая ломик к замкодержателю, упирают его изогнутый конец в предохранитель и перемещают по направлению к полочке. Металлический звук от удара предохранителя о полочку при отпускании ломика указывает на то, что верхнее плечо предохранителя не изломано. Если ломик при перемещении не упрется в полочку, значит она отсутствует;
д) трещина или сквозная протертость корпуса поглощающего аппарата; повреждения, вызывающие потерю поглощающим аппаратом упругих свойств, о чем свидетельствует наличие зазора между упорными угольниками и упорной плитой или корпусом аппарата (при поглощающих аппаратах 73ZWy, 73ZWy2, АПЭ-120-И, АПЭ-90-А, АПЭ-95-УВЗ, РТ-120, ПМКП-110, Т-7П, АПМК-120-Т1, КМТ-118С, АФП-110, РТ-130, АПЭ-90-ЖДТ, 73ZW12 указанный суммарный зазор допускается не более 5 мм);
(в ред. Протокола от 15.06.2022)
е) зазор между потолком розетки и хвостовиком корпуса автосцепки менее 25 мм (для центрирующего прибора с жесткой опорой);
ж) выход вкладышей крепления крышки поглощающего аппарата Ш-6-ТО-4 за наружные плоскости боковых стенок корпуса;
з) ход более 70 мм поглощающего аппарата, установленного на вагоны с розеткой старой конструкции, имеющей длину выступающей части 185 мм;
и) расстояние от упора головы автосцепки до ударной розетки, имеющей длину выступающей части 185 мм, менее 60 мм и более 90 мм, при укороченных розетках с длиной выступающей части 130 мм - менее 110 мм и более 150 мм, у восьмиосных вагонов и других единиц подвижного состава с нестандартными розетками - менее 100 мм и более 140 мм;
к) трещина, излом или нетиповое крепление планки, поддерживающей тяговый хомут, упоров, упорной плиты, кронштейнов расцепного привода, валика подъемника;
л) длинная цепь расцепного привода (определяют при постановке рукоятки рычага на горизонтальную полочку кронштейна; при нормальной длине цепи нижняя часть замка не должна выступать за ударную стенку зева корпуса автосцепки);
м) короткая цепь расцепного привода (об этом свидетельствует невозможность положить рукоятку рычага на горизонтальную полочку кронштейна), обрыв или нетиповое крепление цепи рычага;
н) отсутствие блокировочных устройств расцепных рычагов пассажирских вагонов и вагонов электропоездов внутри состава; не прикрученные проволокой к фиксирующему кронштейну рукоятки расцепных рычагов грузовых вагонов, находящихся под общим грузом;
о) повреждение или отсутствие кронштейнов (ограничителей вертикальных перемещений) автосцепок пассажирских вагонов, вагонов электропоездов, а также грузовых вагонов, на которых предусмотрена их постановка;
п) высота оси автосцепки над уровнем головок рельсов более 1080 мм у локомотивов и порожних грузовых и пассажирских вагонов, менее 980 мм у вагонов с пассажирами и локомотивов, менее 950 мм у загруженных грузовых вагонов;
р) разность по высоте между продольными осями сцепленных автосцепок более 100 мм (кроме автосцепок локомотива и первого груженого грузового вагона, у которых допускается разность 110 мм); разность между продольными осями автосцепок смежных вагонов в пассажирских поездах, курсирующих со скоростью до 120 км/ч, более 70 мм, а в поездах, курсирующих со скоростью свыше 120 км/ч, а также у вагонов электропоездов и у локомотивов между секциями - более 50 мм; между локомотивом и первым вагоном пассажирского поезда - более 100 мм.
4.3 При суммарном зазоре между передним упором и упорной плитой и между задним упором и эластомерным поглощающим аппаратом до 50 мм допускается следование груженного вагона по установленному маршруту до места выгрузки с последующим возвратом к месту погрузки в порожнем состоянии для замены неисправного аппарата.
4.4 При суммарном зазоре между передним упором и упорной плитой и между задним упором и эластомерным поглощающим аппаратом более 50 мм производится замена неисправного аппарата на аппарат того же класса.
4.5 В пунктах формирования и оборота пассажирских составов, а также при ТО-3 вагонов дизель- и электропоездов дополнительно контролируют ломиком-калибром (приложение N 2) износ элементов контура зацепления сцепленных автосцепок при растянутых вагонах. При этом зазоры а и б (рисунок 4.2) проверяют утолщенной крестообразной частью ломика, имеющей контрольные размеры 22 мм для проверки зазора а и 25 мм для проверки зазора б.
Рисунок 4.2 - Зазоры в контурах сцепленных автосцепок,
подлежащие проверке ломиком-калибром
Если ломик проходит в соответствующий зазор, то необходимо расцепить и разъединить вагоны, произвести полную проверку автосцепок шаблоном 940р (см. п. 3.4) и заменить негодные детали или автосцепку в сборе с механизмом.
4.6 Запрещается в пассажирских, дизель- и электропоездах следование вагонов:
а) имеющих трещины в стаканах, излом пружин буферных комплектов и безбуферных устройств;
б) с накладками на рабочих поверхностях буферных тарелей, с износом кромок съемных тарелей более 6 мм и ослаблением более трех заклепок, ослаблением крепления или нетиповым креплением буферных комплектов, повернутыми стержнями буферов относительно стаканов;
в) с тарелями безбуферного устройства толщиной менее 3 мм, с трещинами в вертикальных стойках и поперечных угольниках рам и кронштейнов безбуферных устройств, с накладками на тарелях, не соответствующими чертежам.
4.7 Автосцепки концевых вагонов поездов, групп вагонов, отдельно стоящих вагонов и локомотивов проверяют шаблоном 873 в следующем порядке:
а) контролируют ширину зева, которая считается достаточной, если шаблон, приложенный к углу малого зуба (рисунок 4.3, а), другим своим концом не проходит мимо носка большого зуба;
б) проверяют длину малого зуба, которая считается нормальной, если шаблон не надевается на зуб полностью, т.е. имеется зазор (рисунок 4.3, б). Проверку производят на расстоянии 80 мм вверх и вниз от продольной оси автосцепки;
в) проверяют расстояние от ударной стенки зева до тяговой поверхности большого зуба, которое считается нормальным, если шаблон не входит в пространство между ними, т.е. имеется зазор (рисунок 4.3, в). Проверку производят в средней части большого зуба на высоте 80 мм вверх и вниз от середины (проверка против окна для лапы замкодержателя не производится);
г) контролируют толщину замка, которая считается нормальной, если вырез в шаблоне меньше этой толщины, т.е. имеется зазор (рисунок 4.3, г);
д) проверяют действие предохранителя от саморасцепа, для чего шаблон устанавливают перпендикулярно к ударной стенке зева автосцепки так, чтобы шаблон одним концом упирался в лапу замкодержателя, а угольником - в тяговую поверхность большого зуба (рисунок 4.3, д). Предохранитель годен, если замок при нажатии на него уходит в карман головы автосцепки не более чем на 20 мм и не менее чем на 7 мм.
Сохраняя такое же положение шаблона, проверяют действие механизма на удержание замка в расцепленном состоянии до разведения вагонов, для чего поворачивают валик подъемника до отказа и затем отпускают его. Автосцепка годна, если замок удерживается в верхнем положении, а после прекращения нажатия шаблоном на лапу опускается под действием собственного веса в нижнее положение.
4.8 Шаблоном 873 можно проверить разницу по высоте между продольными осями сцепленных автосцепок. Для проверки шаблон концом 1 (рисунок 4.3, е) упирают снизу в замок автосцепки, расположенной выше. Если при этом между выступом 2 шаблона и низом замка расположенной ниже другой автосцепки будет зазор (рисунок 4.4), то разница между продольными осями автосцепок составляет менее 100 мм.
а)
г)
б)
д)
в)
е)
Рисунок 4.3 - Проверка автосцепки шаблоном 873
Рисунок 4.4 - Проверка разницы по высоте между продольными
осями сцепленных автосцепок шаблоном 873
5 СРОК ГАРАНТИИ АВТОСЦЕПНОГО УСТРОЙСТВА
5.1 Исправное действие автосцепного устройства подвижного состава без ремонта или замены какой-либо детали гарантируется при выпуске из ремонта на срок не менее чем до следующего планового ремонта.
Если повреждение детали или узла автосцепного устройства произойдет ранее указанного срока по вине предприятия, на котором был произведен его ремонт, то в этом случае представителями вагонного, пассажирского или локомотивного хозяйства установленным порядком составляется акт-рекламация по форме, принятой железнодорожной администрацией в адрес данного предприятия.
Гарантийные обязательства ремонтного предприятия на полный осмотр в КПА поглощающих аппаратов указывают в договоре на выполнение планового вида ремонта вагона.
(абзац введен Протоколом от 15.06.2022)
5.2 Каждый случай обрыва автосцепки, тягового хомута в поезде или саморасцепа автосцепок должен быть расследован, а сведения о нем сообщены владельцу инфраструктуры по специальной форме (приложения N N 4, 5 и 6 настоящей Инструкции).
5.3 При осмотре и проверке корпусов автосцепок, тяговых хомутов и поглощающих аппаратов следует обращать внимание на гарантийные сроки, указанные в технических условиях предприятия-изготовителя (приложение N 7 настоящей Инструкции).
Приложение N 1
ПРИМЕРНЫЙ ПЕРЕЧЕНЬ
ОБОРУДОВАНИЯ И РЕКОМЕНДУЕМОЙ ТЕХНОЛОГИЧЕСКОЙ
ОСНАСТКИ КПА И ОТДЕЛЕНИЙ АВТОСЦЕПКИ
Наименование
Номер проекта ПКБ ЦВ
или тип оборудования
Кран-балка для обслуживания всех участков КПА грузоподъемностью 500 кг
Участок наружной очистки
Кассета для транспортировки автосцепок
Т 275.02
Моечная машина
МА-001
Машина для мойки корпуса автосцепки
МКА65
Участок для разборки и дефектоскопирования
Стенд осмотра и дефектоскопирования автосцепки и тягового хомута
Т 1119.00 или Т1206.03.00.000
Дефектоскопы: Магнитопорошковый
МД-12ПЭ или МД-12ПС
или
Переносной электромагнит
Вихретоковый
МЭД-40/120
ВД3-71 или ВД-70
или ВД-12НФП
или ВД-12НФМ
или ВД-213.1
Рольганг для транспортировки деталей в сварочное отделение
Т 276.09
Участок сборки автосцепок
Кассета для транспортировки автосцепок
Т 275.02
Рольганг для транспортировки деталей из сварочной кабины
Т 276.09
Стенд-стеллаж деталей и шаблонов
Т1206.02.00.000
Участок сварочных работ
Стенд-кантователь для ремонтно-сварочных работ на корпусе автосцепки и тяговом хомуте
Т 54 УНА-2
Кран консольный грузоподъемностью 250 кг
Т 205.10
Шкаф электросушильный
СНОЛ-3,5.5.3,5/5-Н1
Стол сварщика
СС-1200/SP
Приспособление для наплавки деталей механизма
РП 34
Полуавтомат
ПДГ 508М
Сварочный выпрямитель
КИГ 601
Сварочный выпрямитель
ВД-506 или
ВДУ-506
Сварочный агрегат
Migatronic KMX 550
Газосварочный аппарат
ГВН-1,25
Приспособление для приварки полочки корпуса автосцепки
Т 593.00
Приспособление для выправления полочки корпуса автосцепки
ВТ 434-58
Фильтровентиляционный агрегат
НМСФ
Участок механической обработки
Станок горизонтально-фрезерный
Модель 6П10 или 6Н11
Универсальный фрезерный станок
СФС
Приспособление к фрезерному (строгальному) станку для обработки корпуса автосцепки
Т 594.000 или
Т 1206.08.00.000
Приспособление для обработки кромок отверстий для валика подъемника
Т 421.00
Приспособление для обработки замыкающей поверхности замка
Т 591.00
Устройство для обработки торца хвостовика автосцепки
Т 919.02.000.00
Приспособление для обработки овального отверстия замка
К 264.00
Кондуктор для обработки шипа в корпусе автосцепки
Т 98.00.00.000
Приспособление для обработки хвостовика корпуса автосцепки
Т 413.00
Приспособление для обработки предохранителя
ВТ 434.58
Приспособление для изготовления соединительного звена расцепного привода
ВТ-434-58
Точильно-шлифовальный станок
ТШ-3
Сверлильный станок
Модель 2А-125
Приспособление для обработки валика подъемника
Т 50.00 СБ
Прижим пневматический для обработки замка на фрезерном станке
Т 714.03.000
Участок правильных работ
Электропечь для нагрева хвостовика автосцепки и деталей механизма
Т 893.00.000
Пресс гидравлический для правки корпуса автосцепки и деталей механизма
Т 1238.04
Штамп для изготовления полочки корпуса автосцепки
ВТ 434.58
Штамп для правки предохранителя
ВТ 434.58
Штамп для правки замкодержателя
К 664.00.000
Манипулятор для транспортировки корпусов автосцепок
Т 626.000 или
Т 633.000
Участок ремонта поглощающих аппаратов, тяговых хомутов, упорных плит и других деталей
Тележка-транспортер для деталей и поглощающих аппаратов
Т 275.03
Захват тяговых хомутов
Т 1206.01.00.000
Конвейер-накопитель для тяговых хомутов
Т 275.04
Укладчик тяговых хомутов
Т 275.07
Стенд разборки - сборки поглощающего аппарата и дефектоскопирования тягового хомута
Т 1187
Пресс сжатия поглощающих аппаратов
Т 659
Кран на поворотной опоре с пневмоподъемником грузоподъемностью 150 кг
Т 276.11
Пресс для разборки и сборки поглощающего аппарата Ш-6-ТО-4У
Т1284.00.000
Гидравлическая пресс-выжимка
ППА-35.2
или ГП-2
Гидравлический стенд для проверки силовой характеристики поглощающих аппаратов Р-2П и Р-5П
СПА-100
Копровая установка для проверки энергоемкости поглощающих аппаратов с массой свободно падающего груза 12500 +/- 500 кг и высотой подъема не менее 1000 мм
71.99.55.14.21.000
или
РТОИ.080.000.000 ПС
Гидравлическая пресс-выжимка
ППА-35.2 или
ГП-2 или
КСПА-45
Примечание. Если в контрольном пункте автосцепки имеются оборудование и технологическая оснастка, по конструкции отличающиеся от перечисленных выше, то они могут использоваться при условии высококачественного выполнения требований данной Инструкции. Обязательно применение нижеперечисленных приспособлений: приспособление для обработки кромок отверстий для валика подъемника (Т 421.00); кондуктор для обработки шипа в корпусе автосцепки (Т 98.00.00.000), приспособление для приварки полочки в корпусе автосцепки (Т 593.00).
Приложение N 2
ШАБЛОНЫ (КАЛИБРЫ) ИЛИ ДРУГИЕ СРЕДСТВА ИЗМЕРЕНИЯ,
ПРИМЕНЯЕМЫЕ ПРИ РЕМОНТЕ И ОСМОТРЕ АВТОСЦЕПНОГО УСТРОЙСТВА
Шаблоны (калибры) или другие средства измерения
Что проверяется
Когда применяется
Полный осмотр
Корпус автосцепки
821р-1
Ширина зева
При капитальном и деповском ремонтах вагонов; капитальном, текущих ремонтах ТР-2, ТР-3 тепловозов, электровозов и вагонов электро- и дизель-поездов; подъемочном ремонте паровозов и специального подвижного состава
892р
Длина малого зуба и расстояние от ударной стенки зева до тяговой поверхности большого зуба
При капитальном ремонте вагонов и локомотивов; текущем ремонте ТР-3 тепловозов, электровозов и вагонов электро- и дизель-поездов
893р
То же
При деповском ремонте вагонов; единой технической ревизии автосцепки пассажирских вагонов; подъемочном ремонте паровозов и специального подвижного состава; текущем ремонте ТР-2 тепловозов, электровозов и вагонов электро- и дизель-поездов
884р
То же
После наплавки и обработки тяговых или ударных поверхностей контура зацепления независимо от вида ремонта подвижного состава
827р
Контур зацепления
При капитальном и деповском ремонтах вагонов; капитальном, текущих ремонтах ТР-2, ТР-3 тепловозов, электровозов и вагонов электро- и дизель-поездов; подъемочном ремонте паровозов и специального подвижного состава
914р-м,
914р-2м,
914р/ 24-1м,
914р/21а
Ударные поверхности контура зацепления
После наплавки и обработки тяговых или ударных поверхностей контура зацепления независимо от вида ремонта подвижного состава
914р/22м,
914р/22-2м
Тяговая поверхность малого зуба
То же
914р/25
Тяговая поверхность большого зуба
После наплавки и обработки тяговых или ударных поверхностей контура зацепления независимо от вида ремонта подвижного состава
822р
Радиусы закруглений контура зацепления
То же
845р, 848р
Ширина кармана для замка
После ремонта кармана независимо от вида ремонта подвижного состава
797р
Диаметр и соосность отверстий для валика подъемника
При капитальном и деповском ремонтах вагонов; капитальном, текущих ремонтах ТР-2, ТР-3 тепловозов, электровозов и вагонов электро- и дизель-поездов; подъемочном ремонте паровозов и специального подвижного состава
937р
Положение отверстий для валика подъемника относительно контура зацепления
При капитальном и деповском ремонтах вагонов; капитальном, текущих ремонтах ТР-2, ТР-3 тепловозов, электровозов и вагонов электро- и дизель-поездов; подъемочном ремонте паровозов и специального подвижного состава
849р-1
Высота шипа для замкодержателя
То же
806р
Диаметр шипа для замкодержателя
При капитальном и деповском ремонтах вагонов; капитальном, текущих ремонтах ТР-2, ТР-3 тепловозов, электровозов и вагонов электро- и дизель-поездов; подъемочном ремонте паровозов и специального подвижного состава
816р
Положение шипа для замкодержателя относительно контура зацепления
То же
938р
Положение шипа для замкодержателя относительно отверстия для валика подъемника
После наплавки и обработки шипа независимо от вида ремонта подвижного состава
834р
Положение полочки для предохранителя
При капитальном и деповском ремонтах вагонов; капитальном, текущих ремонтах ТР-2, ТР-3 тепловозов, электровозов и вагонов электро- и дизель-поездов; подъемочном ремонте паровозов и специального подвижного состава
897р-1
Толщина перемычки хвостовика автосцепки СА-3
При капитальном и деповском ремонтах грузовых вагонов, капитальном ремонте пассажирских вагонов и другого подвижного состава
898р-1
Толщина перемычки хвостовика автосцепки СА-3
При деповском ремонте пассажирских вагонов, текущих ремонтах ТР-2, ТР-3 тепловозов, электровозов и вагонов электро- и дизель-поездов; подъемочном ремонте паровозов и специального подвижного состава
900р-1, 46г
Толщина перемычки хвостовика автосцепки СА-3
После наплавки и обработки перемычки или торцовой части хвостовика независимо от вида ремонта подвижного состава
Замок
852рг
Толщина замка
При капитальном и деповском ремонтах грузовых вагонов; капитальном, текущих ремонтах ТР-2, ТР-3 тепловозов, электровозов; подъемочном ремонте паровозов и специального подвижного состава
852рп
То же
При капитальном и деповском ремонтах пассажирских вагонов, капитальном, текущих ремонтах ТР-2, ТР-3 тепловозов, электровозов и вагонов электро- и дизель-поездов
899рг
Толщина замыкающей части замка
При капитальном и деповском ремонтах грузовых вагонов; капитальном, текущих ремонтах ТР-2, ТР-3 тепловозов, электровозов; подъемочном ремонте паровозов и специального подвижного состава
899рп
То же
При капитальном и деповском ремонтах пассажирских вагонов, капитальном, текущих ремонтах ТР-2, ТР-3 тепловозов, электровозов и вагонов электро- и дизель-поездов
839р
Задняя кромка овального отверстия
При капитальном и деповском ремонтах вагонов; капитальном, текущих ремонтах ТР-2, ТР-3 тепловозов, электровозов; подъемочном ремонте паровозов и специального подвижного состава
833р
Положение и диаметр шипа для предохранителя и кромки прилива для шипа
При капитальном и деповском ремонтах вагонов; капитальном, текущих ремонтах ТР-2, ТР-3 тепловозов, электровозов и вагонов электро- и дизель-поездов; подъемочном ремонте паровозов и специального подвижного состава
943р
Направляющий зуб опоры замка
То же
Замкодержатель
841р
Толщина замкодержателя и ширина его лапы
При капитальном и деповском ремонтах вагонов; капитальном, текущих ремонтах ТР-2, ТР-3 тепловозов, электровозов и вагонов электро- и дизель-поездов; подъемочном ремонте паровозов и специального подвижного состава
826р
Противовес, расцепной угол и овальное отверстие
То же
916р
Общее очертание замкодержателя
То же
Предохранитель
800р-1
Общее очертание предохранителя, толщина и длина верхнего плеча, диаметр отверстия
При капитальном и деповском ремонтах вагонов; капитальном, текущих ремонтах ТР-2, ТР-3 тепловозов, электровозов и вагонов электро- и дизель-поездов; подъемочном ремонте паровозов и специального подвижного состава
Подъемник замка
847р
Общее очертание подъемника, толщина, размер буртика, диаметр отверстия, длина узкого пальца
При капитальном и деповском ремонтах вагонов; капитальном, текущих ремонтах ТР-2, ТР-3 тепловозов, электровозов и вагонов электро- и дизель-поездов; подъемочном ремонте паровозов и специального подвижного состава
Валик подъемника
919р
Соосность толстой и тонкой цилиндрических частей стержня, их диаметр, длина толстой цилиндрической части, квадратная часть стержня и глубина паза для запорного болта
При капитальном и деповском ремонтах вагонов; капитальном, текущих ремонтах ТР-2, ТР-3 тепловозов, электровозов и вагонов электро- и дизель-поездов; подъемочном ремонте паровозов и специального подвижного состава
Автосцепка в собранном виде
Контур зацепления
При капитальном и деповском ремонтах вагонов; капитальном, текущих ремонтах ТР-2, ТР-3 тепловозов, электровозов и вагонов электро- и дизель-поездов; подъемочном ремонте паровозов и специального подвижного состава
820рк
Действие предохранителя от саморасцепа, удержание механизма в расцепленном положении, возможность преждевременного включения предохранителя, возможность расцепления сжатых автосцепок
При капитальном ремонте вагонов; капитальном, тепловозов, электровозов и вагонов электро- и дизель-поездов
820рд
То же
При деповском ремонте вагонов; текущих ремонтах ТР-2, ТР-3 тепловозов, электровозов и вагонов электро- и дизель-поездов; подъемочном ремонте паровозов
787р
Величина отхода замка от кромки малого зуба
При капитальном и деповском ремонтах вагонов; текущих ремонтах ТР-2, ТР-3 тепловозов, электровозов и вагонов электро- и дизель-поездов; подъемочном ремонте паровозов и специального подвижного состава
Поглощающие аппараты
611
Нажимной конус
При сборке аппарата Ш-1-ТМ, ЦНИИ-Н6
611-1
То же
При сборке аппарата Ш-2-В
83р
Габаритные размеры собранного аппарата
После осмотра и ремонта всех типов аппаратов, кроме аппаратов, объединенных с тяговым хомутом или упорной плитой
83р-1
То же
После осмотра и ремонта аппарата Ш-2-Т
Тяговый хомут
920р-1
Длина хомута и проем в головной части
При капитальном и деповском ремонтах капитальном, текущих ремонтах ТР-2, ТР-3 тепловозов, электровозов и вагонов электро- и дизель-поездов; подъемочном ремонте паровозов
861-р-м
Отверстия для клина и высота проема хомута автосцепки СА-3
При капитальном и деповском ремонтах после наплавки и обработки стенок отверстий и проема
Ударная розетка
776р
Опорные поверхности для маятниковых подвесок розетки грузового типа
При капитальном и деповском ремонтах вагонов; капитальном, текущих ремонтах ТР-2, ТР-3 тепловозов, электровозов и вагонов электро- и дизель-поездов; подъемочном ремонте паровозов и специального подвижного состава
779р
То же для розетки пассажирского типа
То же
Центрирующая балочка
777р-м
Опорная плоскость и крюкообразные опоры для балочки грузового типа поездов;
При капитальном и деповском ремонтах вагонов; капитальном, текущих ремонтах ТР-2, ТР-3 тепловозов, электровозов и вагонов электро- и дизель-поездов, подъемочном ремонте паровозов
780р-м
То же для балочки пассажирского типа
То же
Маятниковая подвеска
778р
Расстояние между головками подвески, диаметр стержня, толщина и ширина головок для подвески грузового типа
При капитальном и деповском ремонтах вагонов; капитальном, текущих ремонтах ТР-2, ТР-3 тепловозов, электровозов и вагонов электро- и дизель-поездов, подъемочном ремонте паровозов
781р
То же для подвески пассажирского типа
При капитальном и деповском ремонтах вагонов; капитальном, текущих ремонтах ТР-2, ТР-3 тепловозов, электровозов и вагонов электро- и дизель-поездов, подъемочном ремонте паровозов
Т1339.00.000
Устройство для измерения высоты автосцепки над головками рельсов
При всех видах ремонта и технического обслуживания подвижного состава
Наружный осмотр
940р
Длина малого зуба, расстояние от ударной стенки зева до тяговой поверхности большого зуба, действие предохранителя от саморасцепа, удержание механизма в расцепленном состоянии, возможность преждевременного включения предохранителя при сцеплении, толщина замка, ширина зева
При текущем отцепочном ремонте вагонов, единой технической ревизии пассажирских вагонов; текущем ремонте ТР-1 тепловозов, электровозов и вагонов электро- и дизель-поездов; промывочном ремонте паровозов и текущем ремонте специального подвижного состава
Проверка в эксплуатации
873
Длина малого зуба, расстояние от ударной стенки зева до тяговой поверхности большого зуба, действие предохранителя от саморасцепа, удержание замка в расцепленном положении, ширина зева, толщина замка, разница между осями сцепленных автосцепок.
При осмотре и проверке концевых автосцепок в поездах, а также у отдельно стоящих вагонов или концевых автосцепок в группах сцепленных вагонов, подготавливаемых к включению в поезда; при техническом обслуживании локомотивов ТО-2, ТО-3; при проверке разницы в высоте между продольными осями сцепленных автосцепок
Т416.00.024
Ломик для проверки действия предохранителя от саморасцепа
При техническом обслуживании вагонов на пунктах технического обслуживания, при подготовке вагонов под погрузку при ТО-2, ТО-3 локомотивов и вагонов дизель- и электропоездов, техническом обслуживании специального подвижного состава
Т416.00.023
Ломик-калибр для проверки износов в контурах зацепления автосцепок при растянутых вагонах
При осмотре в пунктах формирования и оборота пассажирских составов, при ТО-3 вагонов дизель- и электропоездов
Приложение N 3
ПЕРЕЧЕНЬ
ДЕФЕКТОВ, ПРИ НАЛИЧИИ КОТОРЫХ ДЕТАЛИ АВТОСЦЕПНОГО УСТРОЙСТВА
НЕ ДОПУСКАЮТСЯ К РЕМОНТУ И ПОДЛЕЖАТ СДАЧЕ В МЕТАЛЛОЛОМ
Наименование деталей
Дефект
Корпус автосцепки
Трещины после разделки:
а - выходящая на горизонтальную поверхность головы;
б - выходящая за положение верхнего ребра со стороны большого зуба;
в, г - длиной более 20 мм каждая;
д, е - по вертикали сверху и снизу в углах, выходящие каждая из них за положение верхнего или нижнего ребра со стороны большого зуба
Заваренные и не заваренные трещины в зоне изгиба хвостовика
Трещины хвостовика в зоне а: суммарной длиной более 100 мм у корпусов, проработавших свыше 20 лет и более 150 мм для остальных корпусов <*>
Трещины в зоне перемычки хвостовика корпуса автосцепки СА-3М
Хвостовик корпуса автосцепки СА-3 длиной менее 640 мм
Трещины перемычки между отверстием для сигнального отростка замка и отверстием для направляющего зуба замка, выходящие на вертикальную стенку кармана
Толщина а перемычки хвостовика любого вида менее 40 мм до наплавки
Износы хвостовика более 8 мм в зонах контакта с тяговом хомутом, центрирующей балочкой, а также на боковых стенках отверстия под клин
При оценке корпусов автосцепки с трещинами учитываются размеры обнаруженных трещин. Ранее разделанные и заваренные трещины учитываются, если по этой заварке возникла повторная трещина. В этом случае в суммарный размер трещин включается вся длина ранее выполненной заварки.
Замок
Трещина или излом перемычки
Трещина или излом сигнального отростка
Замкодержатель
Наличие более одной трещины независимо от ее размера и места расположения
Предохранитель
Трещина или излом
Валик замка со вставкой автосцепки СА-3М
Диаметр валика менее 15,5 мм
Трещина независимо от ее длины и места расположения
Тяговые хомуты автосцепок СА-3(а), СА-3М(б), с увеличенным проемом в головной части (в)
Толщина а тяговой полосы в изношенном месте для автосцепки СА-3 менее 20 мм, для СА-3М и хомута с увеличенным проемом в головной части - менее 22 мм
а)
Ширина б тяговой полосы в изношенном месте для автосцепки СА-3 менее 95 мм для хомутов с шириной тяговой полосы 120 мм и менее 130 мм с шириной 160 мм, для СА-3М - менее 115 мм, и с увеличенным проемом в головной части - менее 130 мм
Толщина в изношенной перемычки для всех хомутов моделей автосцепок СА-3 и СА-3М менее 45 мм Трещина г в задней опорной части, выходящая на тяговую полосу
Трещина д в углу соединительной планки, выходящая на тяговую полосу
Трещина в верхней или нижней тяговой полосе независимо от ее длины и места расположения
Трещина независимо от ее длины и места расположения у тяговых хомутов, проработавших более 20 лет
б)
в)
Тяговые хомуты, изготовленные до 1970 г.
Клин тягового хомута автосцепки СА-3
Трещина независимо ее длины и места расположения
Ширина в любом месте менее 88 мм для пассажирского подвижного состава, менее 90 мм для грузового подвижного состава
Толщина в любом месте менее 28 мм
(толщина в месте облегчения не контролируется)
Изгиб более 3 мм
Болт, поддерживающий клин тягового хомута
Износ по диаметру более 2 мм Трещина независимо от ее длины и места расположения
Валик тягового хомута автосцепки СА-3М
Трещина независимо от ее длины и места расположения
Изгиб более 2 мм
Диаметр менее 87 мм
Вкладыш тягового хомута автосцепки СА-3М
Трещина независимо от ее длины и места расположения
Планка, поддерживающая валик тягового хомута автосцепки СА-3М
То же
Упорная плита автосцепки СА-3М
Толщина в средней части менее 43 мм
Трещина независимо от ее длины и места расположения
Упорная плита автосцепки СА-3
Трещина независимо от ее длины и места расположения
Балочка центрирующего прибора
Трещина независимо от места расположения, если после ее вырубки рабочее сечение уменьшается более чем на 25%
Износ более 10 мм
Маятниковая подвеска центрирующего прибора
Трещина независимо от ее длины и места расположения
Высота головки менее 18 мм
Поддерживающая плита подпружиненного центрирующего прибора
Трещина независимо от ее длины, после вырубки которой рабочее сечение уменьшается более чем на 25%
Фиксатор
Трещина независимо от ее длины и места расположения
Пружина подпружиненного центрирующего прибора
Излом оттянутого конца более чем на 1/3 длины окружности витка
Высота в свободном состоянии менее 238 мм при диаметре прутка 14 мм
Высота в свободном состоянии менее 218 мм при диаметре прутка 12 мм
Фиксирующий кронштейн расцепного привода
Наличие более одной трещины (заваренной или не заваренной)
Кронштейн расцепного привода
Наличие более одной трещины (заваренной или не заваренной)
Паровозная розетка
Трещина независимо от ее длины и места расположения
Валик паровозной розетки
То же
Болт крепления паровозной розетки
Диаметр менее 50 мм
Трещины
Пружина центрирующего устройства паровозной розетки
Излом оттянутого конца более чем на 1/3 длины окружности витка
Высота в свободном состоянии менее 235 мм
Пружины поглощающих аппаратов:
Излом рабочего витка, излом оттянутого конца
Высота пружины менее:
Ш-1-ТМ
наружной 390 мм,
внутренней 362 мм
Ш-2-Т
наружной 353 мм,
внутренней 375 мм
Ш-2-В
наружной 395 мм,
внутренней 360 мм
ПМК-110К-23
наружной 355 мм,
внутренней 375 мм
Ш-6-ТО-4У-120
наружной 598 мм,
внутренней 306 мм
ЦНИИ-Н6
большой в горловине и основании 210 мм,
внутренней во фрикционной части и большой угловой 188 мм,
малой угловой (нижней) 86 мм
Поглощающий аппарат Ш-6-ТО-4У-120
Толщина стенки горловины менее 16 мм
Трещины в горловине и хомутовой части аппарата корпуса
Поглощающий аппарат ПМК-110К-23
корпус аппарата
Трещины в корпусе
Толщина стенки горловины менее 16 мм
неподвижная пластина
Выкрашивание, отколы, отслоение металлокерамических элементов на площади более 25% от их общей площади с одной стороны пластины
Поглощающие аппараты Ш-1-ТМ, Ш-2-Т, Ш-2-В:
корпус аппарата
Трещины в корпусе
Толщина стенки горловины менее 14 мм
фрикционный клин
Толщина стенки менее 17 мм для аппаратов Ш-1-ТМ и менее 32 мм для аппарата Ш-2-Т, Ш-2-В
нажимной конус
Износ опорной наклонной поверхности более допускаемого при проверке шаблоном 611, 611-1
Поглощающие аппараты 73ZWy,
73ZWy2, АПЭ-95-УВЗ:
упругий полимерный элемент
Сквозная трещина, разрыв
Поглощающий аппарат ЦНИИ-Н6:
горловина корпуса аппарата
Трещины
Толщина стенки горловины менее 16 мм
фрикционный клин
Толщина стенки по краям менее 17 мм
нажимной конус
Износ рабочей поверхности более 3 мм, определяемый при проверке шаблоном 611
Поглощающий аппарат Р-2П:
корпус аппарата
Трещина или излом независимо от величины и места расположения
направляющая плита
То же
нажимная плита
То же
резинометаллический элемент
Отслоение резины от краев арматуры на глубину более 50 мм в любом месте
Поглощающий аппарат Р-5П:
корпус-хомут
Трещина тяговой полосы или трещина в соединительных планках и задней опорной части, выходящая на тяговую полосу
упорная плита
Трещина в любой части
резинометаллический элемент
Отслоение резины от краев арматуры на глубину более 50 мм в любом месте
Примечание. Ремонт деталей автосцепного устройства с трещинами и другими дефектами, превышающими указанные в приложении N 3, а также с нерегламентированными дефектами может быть допущен только по специальному разрешению владельца инфраструктуры.
Приложение N 4
ОБРАЗЕЦ БЛАНКА ДОНЕСЕНИЯ О САМОРАСЦЕПЕ ПОЕЗДА
Утверждаю:
Начальник ___________________
___________________ хозяйства
_________________________ж.д.
"__" _______________ 20 __ г.
ДОНЕСЕНИЕ
о саморасцепе поезда
"___" ___________ 200_ г. в ____ час ________ мин
На перегоне (станции) _________ ж.д. произошел саморасцеп автосцепок поезда N ________ весом ________ т между ________ и ______ вагонами от головы поезда.
Всего в составе поезда ________ осей
Режим движения поезда в момент саморасцепа (трогание, осаживание, торможение, набор скорости, тяга, выбег) _____________
Количество и серия локомотивов ___________________
Участок пути на месте саморасцепа ___________________________________
план _______________ профиль __________ балльность _________________
Балластная призма (песок, щебень, гравий) _________________
Последствия саморасцепа (закрытие перегона, задержка поезда)
_____ час ______мин
СВЕДЕНИЯ О РАСЦЕПИВШИХСЯ АВТОСЦЕПКАХ И ВАГОНАХ
Наименование установленных данных
Автосцепка вагона N
______________
оставшейся части поезда
Автосцепка вагона N
__________
отцепившейся части поезда
1. Тип вагона (пассажирский, грузовой, груженый, порожний)
2. Высота от головки рельса до продольной оси автосцепки, мм
3. Тип тележки вагона
4. N автосцепки
5. Завод-изготовитель автосцепки и год изготовления
6. Дата и клеймо последнего полного осмотра
7. Положение валика подъемника
8. Длина цепи расцепного привода (цепь короткая - плоская часть рычага не укладывается на полочку кронштейна фиксирующего, цепь длинная - расцепной рычаг положен на полочку, а замок при этом выступает от ударной стенки зева)
9. Положение расцепного рычага в момент саморасцепа
10. Наличие просадки поглощающего аппарата, мм
11. Результаты проверки шаблоном 873:
ширины зева
длины малого зуба
расстояния от ударной стенки зева до тяговой поверхности большого зуба
12. Подвижность деталей механизма:
замка
замкодержателя
валика подъемника
13. Наличие внутри кармана посторонних предметов
14. Результаты наружного осмотра деталей:
замка (толщина замыкающей части, мм)
замкодержателя
предохранителя
шипа для замкодержателя
полочки для предохранителя
15. Возвышение упорной части противовеса замкодержателя над полочкой при нажатии на лапу шаблоном 873 в положении проверки действия предохранителя от саморасцепа, мм
16. Зазор между верхней плоскостью хвостовика автосцепки и потолком ударной розетки на расстоянии 15 - 20 мм от кромки розетки, мм
17. Состояние гидравлических гасителей (исправны или неисправны)
18. Прочие замечания
19. Заключение о причине саморасцепа
Примечание. При саморасцепе между локомотивом и первым вагоном в графе "Автосцепки вагона N ____________ оставшейся части поезда" указывают данные об автосцепке локомотива.
Должности и подписи лиц, производивших расследование:
"__" ___________ 20__ г.
Приложение N 5
ОБРАЗЕЦ БЛАНКА ДОНЕСЕНИЯ
ОБ ОБРЫВЕ ТЯГОВОГО ХОМУТА В ПОЕЗДЕ
Утверждаю:
Начальник ________________
________________ хозяйства
_____________________ ж.д.
"__" _____________ 20__ г.
ДОНЕСЕНИЕ
об обрыве тягового хомута в поезде
"__" _____________ 20__ г. ____ час ________ мин
температура воздуха °C
Место случая: перегон, станция ___________________________________ ж.д.
Поезд N ____ вес ________ число осей __________________________________
тормозное нажатие _________________________________________________________
Локомотив серии ________ N ____________ количество локомотивов в поезде
___________________________________________________________________________
Число осей поезда от локомотива до места обрыва ______________________
План и профиль пути на месте обрыва поезда (подъем, спуск, площадка,
кривая) ___________________________________________________________________
Скорость, режим движения в момент обрыва
(трогание, торможение, осаживание, набор скорости, выбег, тяга)
___________________________________________________________________________
Тяговый хомут N _________ год ___________ завод-изготовитель __________
Дата и место последнего полного осмотра тягового хомута
Пробег вагона после постройки или последнего ремонта (капитального,
деповского, текущего) в тыс. км ___________________________________________
Наличие старых трещин в месте обрыва, их направление описать и показать
на эскизе N 1)
Длина, глубина трещин _________________________________________________
Наличие литейных пороков (их размер), сварки в месте обрыва ___________
___________________________________________________________________________
Сечение обрыва, расположение трещин, литейных пороков, сварки указать
на эскизе N 2
Дополнительные сведения: ______________________________________________
___________________________________________________________________________
___________________________________________________________________________
___________________________________________________________________________
___________________________________________________________________________
Эскиз N 2
Вид сечения излома
Должность и подпись лица,
ответственного за расследование _______________________________________
"__" _____________ 20__ г.
Приложение N 6
ОБРАЗЕЦ БЛАНКА ДОНЕСЕНИЯ
ОБ ОБРЫВЕ КОРПУСА АВТОСЦЕПКИ В ПОЕЗДЕ
Утверждаю:
Начальник ________________
________________ хозяйства
_____________________ ж.д.
"__" _____________ 20__ г.
ДОНЕСЕНИЕ
об обрыве корпуса автосцепки в поезде
"__" _____________ 20__ г. ____ час ________ мин
температура воздуха °C
Место случая: перегон, станция ___________________________________ ж.д.
Поезд N _______ вес __________ число осей _____________________________
тормозное нажатие _________________________________________________________
Локомотив серии ________ N ____________ количество локомотивов в поезде
___________________________________________________________________________
Число осей поезда от локомотива до места обрыва _______________________
План и профиль пути на месте обрыва поезда (подъем, спуск, площадка,
кривая) ___________________________________________________________________
Скорость, режим движения в момент обрыва
(трогание, торможение, осаживание, набор скорости, выбег, тяга)
___________________________________________________________________________
Автосцепка N ______ год __________ завод-изготовитель _________________
Дата и место последнего полного осмотра автосцепки ____________________
Пробег вагона после постройки или последнего ремонта (капитального,
деповского, текущего) в тыс. км ___________________________________________
Наличие старых трещин в месте обрыва, их направление (описать и
показать на эскизе N 1)
Длина, глубина трещин _________________________________________________
Наличие литейных пороков (их размер), сварки в месте обрыва ___________
___________________________________________________________________________
Сечение обрыва, расположение трещин, литейных пороков
указать на эскизе N 2
Дополнительные сведения: ______________________________________________
___________________________________________________________________________
___________________________________________________________________________
___________________________________________________________________________
Эскиз N 2
Вид сечения излома
Должность и подпись лица,
ответственного за расследование _______________________________________
"__" _____________ 20__ г.
Примечание. К донесению прилагается копия отрезка скоростемерной ленты в момент обрыва.
Приложение N 7
СРОКИ ГАРАНТИИ ЗАВОДОВ-ИЗГОТОВИТЕЛЕЙ
НА ДЕТАЛИ АВТОСЦЕПНОГО УСТРОЙСТВА
Список изменяющих документов
(в ред. Протокола от 15.06.2022)
N
п/п
Наименование детали
Срок гарантии
Нормативный документ
1
Корпус автосцепки
4 года или 500 тыс. км пробега на железнодорожном подвижном составе
2
Тяговый хомут
4 года или 500 тыс. км пробега на железнодорожном подвижном составе
Поглощающие аппараты
3
Поглощающие аппараты классов Т1, Т2, Т3
Определяется договором поставки, при этом гарантийный срок не должен заканчиваться в межремонтный период эксплуатации <*>
(п. 3 - 10 в ред. Протокола от 15.06.2022)
11
Р-5П
6 лет или 1400 тыс. км пробега на железнодорожном подвижном составе
ТУ 3183-028-05744544-2007 (ОАО "ТВЗ")
ТУ 3183-044-00210884-2011 (ОАО "ДМЗ")
12
Т-7П
8 лет или 1400 тыс. км пробега на железнодорожном подвижном составе
Т7П.00.00.000 ТУ
(ООО "Транспортная техника")
--------------------------------
<*> Межремонтный период эксплуатации - это наработка подвижного состава между плановыми видами ремонта или от постройки до планового вида ремонта. Количество межремонтных периодов определяется договором поставки.
(сноска введена Протоколом от 15.06.2022)
Приложение N 8
(рекомендованное)
ОБРАЗЦЫ БЛАНКОВ ДЛЯ СОСТАВЛЕНИЯ
АКТА ПОЛНОГО ОСМОТРА АВТОСЦЕПКИ И ТЯГОВОГО ХОМУТА
АКТ ПОЛНОГО ОСМОТРА АВТОСЦЕПКИ
Индивидуальный номер автосцепки
-  
усл. N изготовителя
порядковый N корпуса автосцепки
год изготовл.
Модель автосцепки (СА-3, СА-3М)
Собственник автосцепки
(железнодорожная администрация согласно классификатору)
 
код
Предприятие собственник автосцепки (согласно классификатора собственников)
код
Дата предшествующего ремонта (полного осмотра) корпуса автосцепки и условный номер ремонтного предприятия
   
   
условный N
предприятия
месяц
год
Дата настоящего ремонта (полного осмотра) корпуса автосцепки и условный номер ремонтного предприятия
   
   
условный N
предприятия
месяц
год
Номер вагона, с которого снята автосцепка для ремонта
Условный номер ПТО (предприятия), с которого автосцепка поступила для ремонта (если не известен номер вагона)
   
условный N
предприятия
Вид неисправности на корпусе автосцепки
Вид ремонтных работ на корпусе автосцепки
Номер вагона, на который установлена автосцепка после ремонта
Условный номер ПТО (предприятия), на которое направлена автосцепка после ремонта (если не известен номер вагона)
   
условный N
предприятия
Акт составлен: "__" _______ 20__ г. __________________ ____________________
Наименование Наименование
завода, ВЧДР ж.д. (для ВЧДР)
Должность, Ф.И.О., подпись составителя акта полного осмотра.
АКТ ПОЛНОГО ОСМОТРА ТЯГОВОГО ХОМУТА
Индивидуальный номер тягового хомута
-  
усл. N изготовителя
порядковый N корпуса автосцепки
год изготовл.
Модель тягового хомута (СА-3, СА-3М, с увеличенным проемом в головной части)
Собственник тягового хомута (железнодорожная администрация согласно классификатору)
 
код
Предприятие собственник тягового хомута (согласно классификатора собственников)
код
Дата предшествующего ремонта (полного осмотра) тягового хомута и условный номер ремонтного предприятия
   
   
условный N
предприятия
месяц
год
Дата настоящего ремонта (полного осмотра) тягового хомута и условный номер ремонтного предприятия
   
   
условный N
предприятия
месяц
год
Номер вагона, с которого снят тяговый хомут для ремонта
Условный номер ПТО (предприятия), с которого тяговый хомут поступил для ремонта (если не известен N вагона)
   
условный N
предприятия
Вид неисправности на тяговом хомуте
Вид ремонтных работ на тяговом хомуте
Номер вагона, на который установлен тяговый хомут после ремонта
Условный номер ПТО (предприятия), на которое направлен хомут после ремонта (если не известен номер вагона)
   
условный N
предприятия
Акт составлен: "__" _______ 20__ г. __________________ ____________________
Наименование Наименование
завода, ВЧДР ж.д. (для ВЧДР)
Должность, Ф.И.О., подпись составителя акта полного осмотра.
Приложение N 9
(рекомендованное)
ОБРАЗЦЫ БЛАНКОВ
ДЛЯ СОСТАВЛЕНИЯ АКТОВ ОБ ИСКЛЮЧЕНИИ ИЗ ЭКСПЛУАТАЦИИ
КОРПУСА АВТОСЦЕПКИ И ТЯГОВОГО ХОМУТА
АКТ
об исключении корпуса автосцепки
Условный номер ремонтного предприятия    
Индивидуальный номер автосцепки
-  
усл. N изготовителя
порядковый N корпуса автосцепки
год изготовл.
Модель корпуса автосцепки
(СА-3, СА-3М)
Собственник автосцепки (железнодорожная администрация)
 
код
Предприятие собственник автосцепки
Дата предшествующего ремонта (полного осмотра) корпуса автосцепки и условный номер ремонтного предприятия
 
   
месяц
год
условный N предприятия
Вид неисправности (дефекта) на корпусе автосцепки (из приложения N 3)
Составлен "__" _________ 20__ г.
Комиссия в составе: руководителя ремонтного предприятия __________________,
(фамилия и.о.)
приемщика вагонов __________________, мастера ________________,
(фамилия и.о.) (фамилия и.о.)
Бригадир КПА ________________ произвел осмотр автосцепки,
(фамилия и.о.)
для установления необходимости исключения из эксплуатации:
По заключению комиссии, в соответствии с "Инструкцией по ремонту и
обслуживанию автосцепного устройства подвижного состава железных дорог"
корпус автосцепки подлежит исключению из эксплуатации.
Подписи членов комиссии _________________
_________________
_________________
АКТ
об исключении тягового хомута
Условный номер ремонтного предприятия    
Индивидуальный номер тягового хомута
-  
усл. N изготовителя
порядковый N корпуса автосцепки
год изготовл.
Модель тягового хомута
(СА-3, СА-3М, с увеличенным проемом в головной части)
Собственник тягового хомута (железнодорожная администрация)
 
код
Предприятие собственник тягового хомута
Дата предшествующего ремонта (полного осмотра) тягового хомута и условный номер ремонтного предприятия
 
месяц
год
условный N
предприятия
Вид неисправности (дефекта) на тяговом хомуте (из приложения N 3)
Составлен "__" _________ 20__ г.
Комиссия в составе: руководителя ремонтного предприятия __________________,
(фамилия и.о.)
приемщика вагонов __________________, мастера ________________,
(фамилия и.о.) (фамилия и.о.)
Бригадир КПА ________________ произвел осмотр тягового хомута,
(фамилия и.о.)
для установления необходимости исключения из эксплуатации:
По заключению комиссии, в соответствии с "Инструкцией по ремонту и
обслуживанию автосцепного устройства подвижного состава железных дорог"
тяговый хомут подлежит исключению из эксплуатации.
Подписи членов комиссии _________________
_________________
_________________