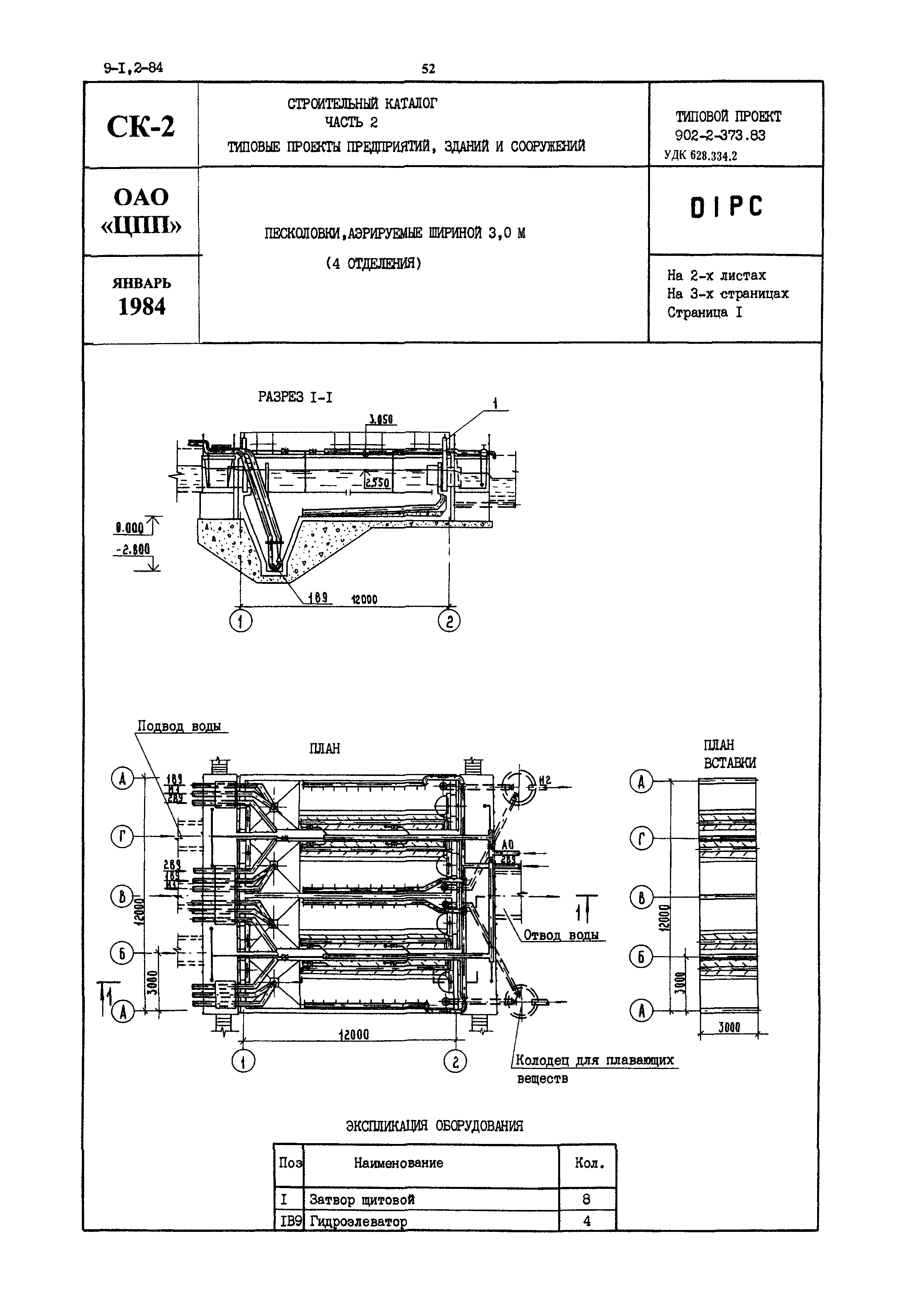
Скачать Типовой проект 902-2-373.83 Песколовки аэрируемые шириной 3 м (4 отделения)Дата актуализации: 01.01.2021
|
| Обозначение: | Типовой проект 902-2-373.83 |
| Обозначение англ: | 902-2-373.83 |
| Статус: | не определен законодательством |
| Название рус.: | Песколовки аэрируемые шириной 3 м (4 отделения) |
| Дата добавления в базу: | 01.09.2013 |
| Дата актуализации: | 01.01.2021 |
| Дата введения: | 17.05.1992 |
| Дата окончания срока действия: | 30.06.2003 |


