Скачать Типовой проект 902-2-472.89 Отстойники канализационные радиальные первичные из сборного железобетона диаметром 24 м с самотечным удалением осадкаДата актуализации: 01.01.2021 Типовой проект 902-2-472.89
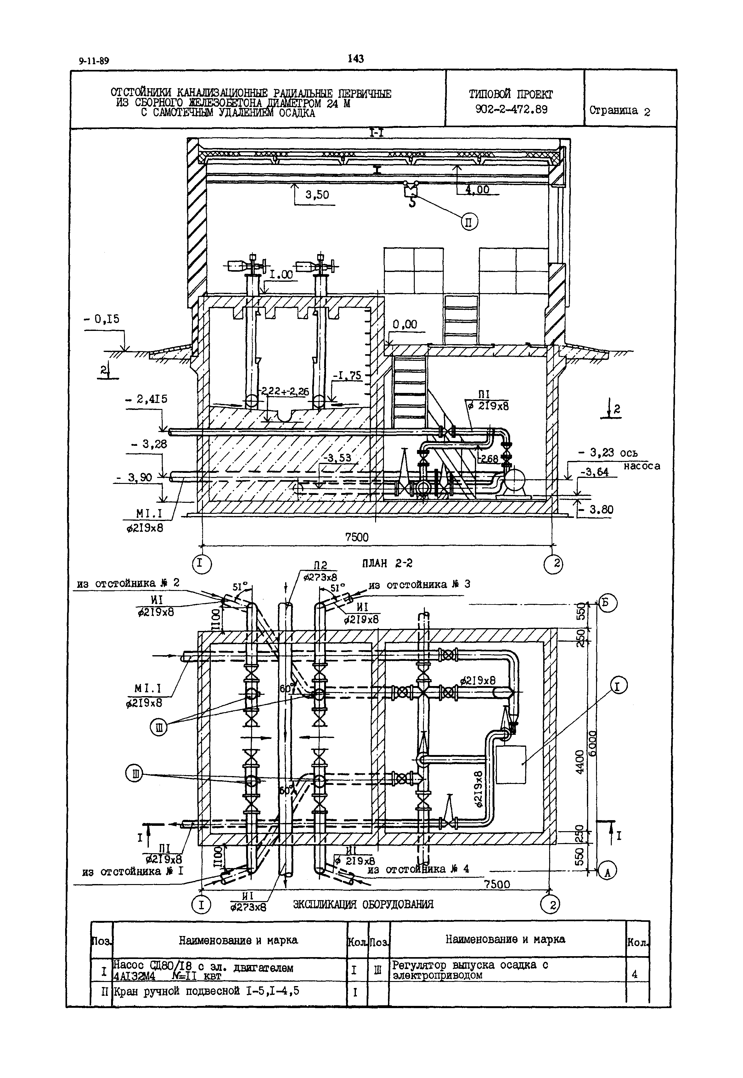
Отстойники канализационные радиальные первичные из сборного железобетона диаметром 24 м с самотечным удалением осадка| Обозначение: | Типовой проект 902-2-472.89 | | Обозначение англ: | 902-2-472.89 | | Статус: | не определен законодательством | | Название рус.: | Отстойники канализационные радиальные первичные из сборного железобетона диаметром 24 м с самотечным удалением осадка | | Дата добавления в базу: | 01.09.2013 | | Дата актуализации: | 01.01.2021 | | Дата введения: | 01.11.1989 | | Дата окончания срока действия: | 30.06.2003 |
    
|