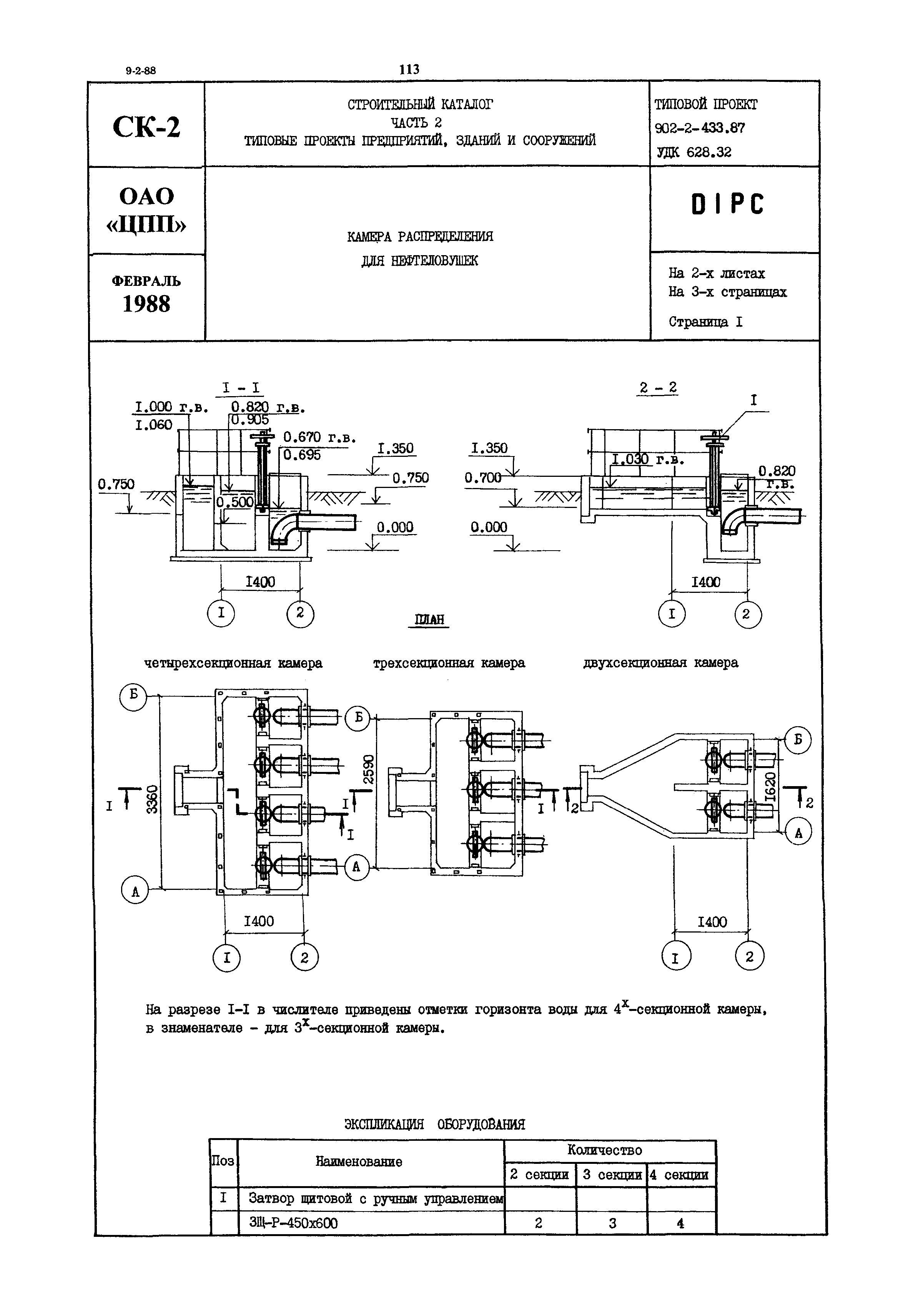
Скачать Типовой проект 902-2-433.87 Камера распределения для нефтеловушекДата актуализации: 01.01.2021
|
| Обозначение: | Типовой проект 902-2-433.87 |
| Обозначение англ: | 902-2-433.87 |
| Статус: | не определен законодательством |
| Название рус.: | Камера распределения для нефтеловушек |
| Дата добавления в базу: | 01.09.2013 |
| Дата актуализации: | 01.01.2021 |
| Дата введения: | 01.02.1988 |
| Дата окончания срока действия: | 30.06.2003 |


