Скачать Серия 3.503-27 Автодорожные рамно-неразрезные мосты и путепроводы с пролетами 12+15хn+12; 15+18хn+15; 15+21хn+15 под нагрузки Н-30 и НК-80Дата актуализации: 01.01.2021 Серия 3.503-27
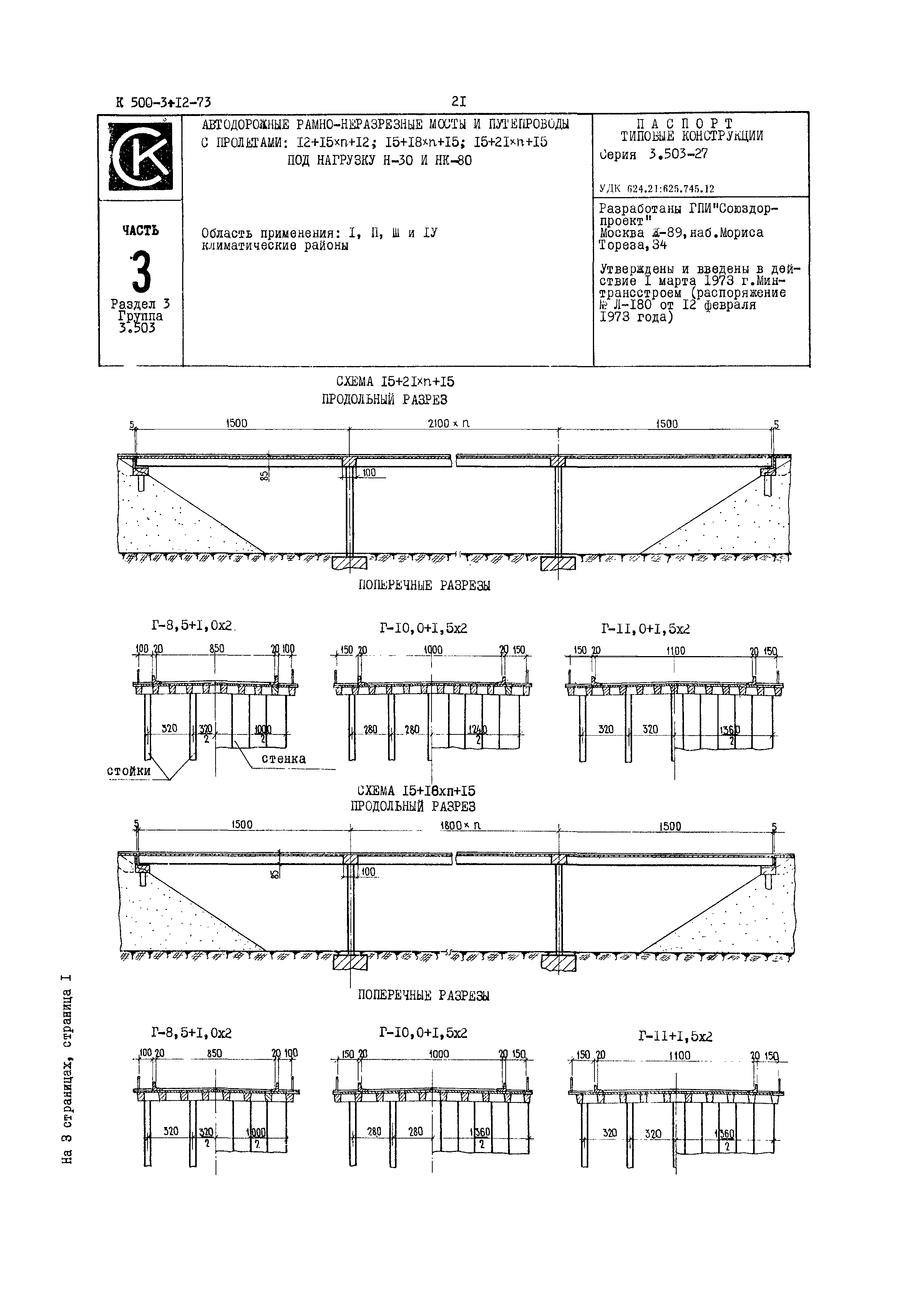
Автодорожные рамно-неразрезные мосты и путепроводы с пролетами 12+15хn+12; 15+18хn+15; 15+21хn+15 под нагрузки Н-30 и НК-80| Обозначение: | Серия 3.503-27 | | Обозначение англ: | Series 3.503-27 | | Статус: | действует | | Название рус.: | Автодорожные рамно-неразрезные мосты и путепроводы с пролетами 12+15хn+12; 15+18хn+15; 15+21хn+15 под нагрузки Н-30 и НК-80 | | Дата добавления в базу: | 01.09.2013 | | Дата актуализации: | 01.01.2021 | | Дата введения: | 01.03.1973 | | Список изменений: | |
  
Текстовое изменение № 1 от 01.07.1994
    
|