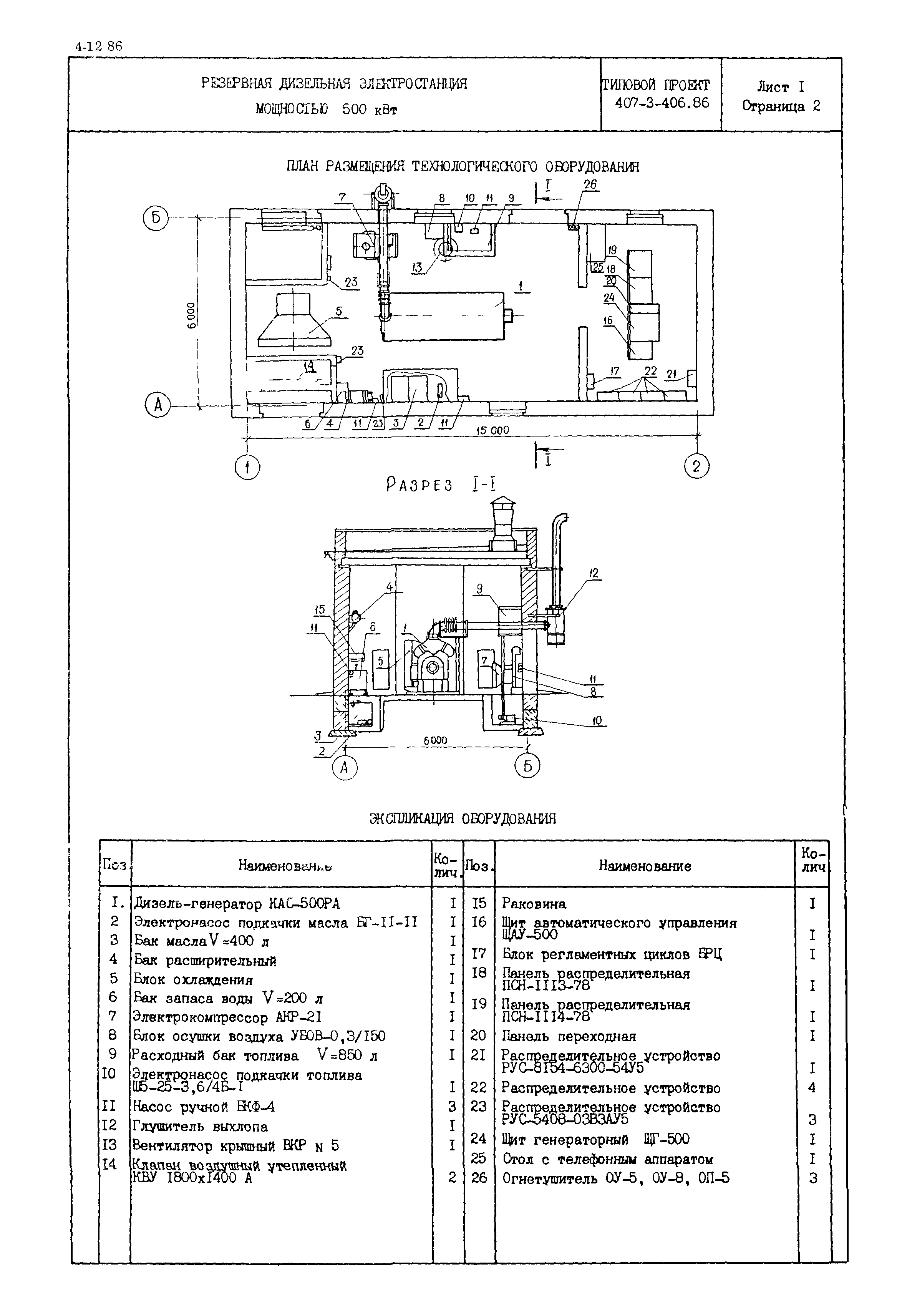
Скачать Типовой проект 407-3-406.86 Резервная дизельная электростанция мощностью 500 кВтДата актуализации: 01.01.2021
|
| Обозначение: | Типовой проект 407-3-406.86 |
| Обозначение англ: | 407-3-406.86 |
| Статус: | не определен законодательством |
| Название рус.: | Резервная дизельная электростанция мощностью 500 кВт |
| Дата добавления в базу: | 01.09.2013 |
| Дата актуализации: | 01.01.2021 |
| Дата введения: | 09.07.1986 |
| Дата окончания срока действия: | 30.06.2003 |



