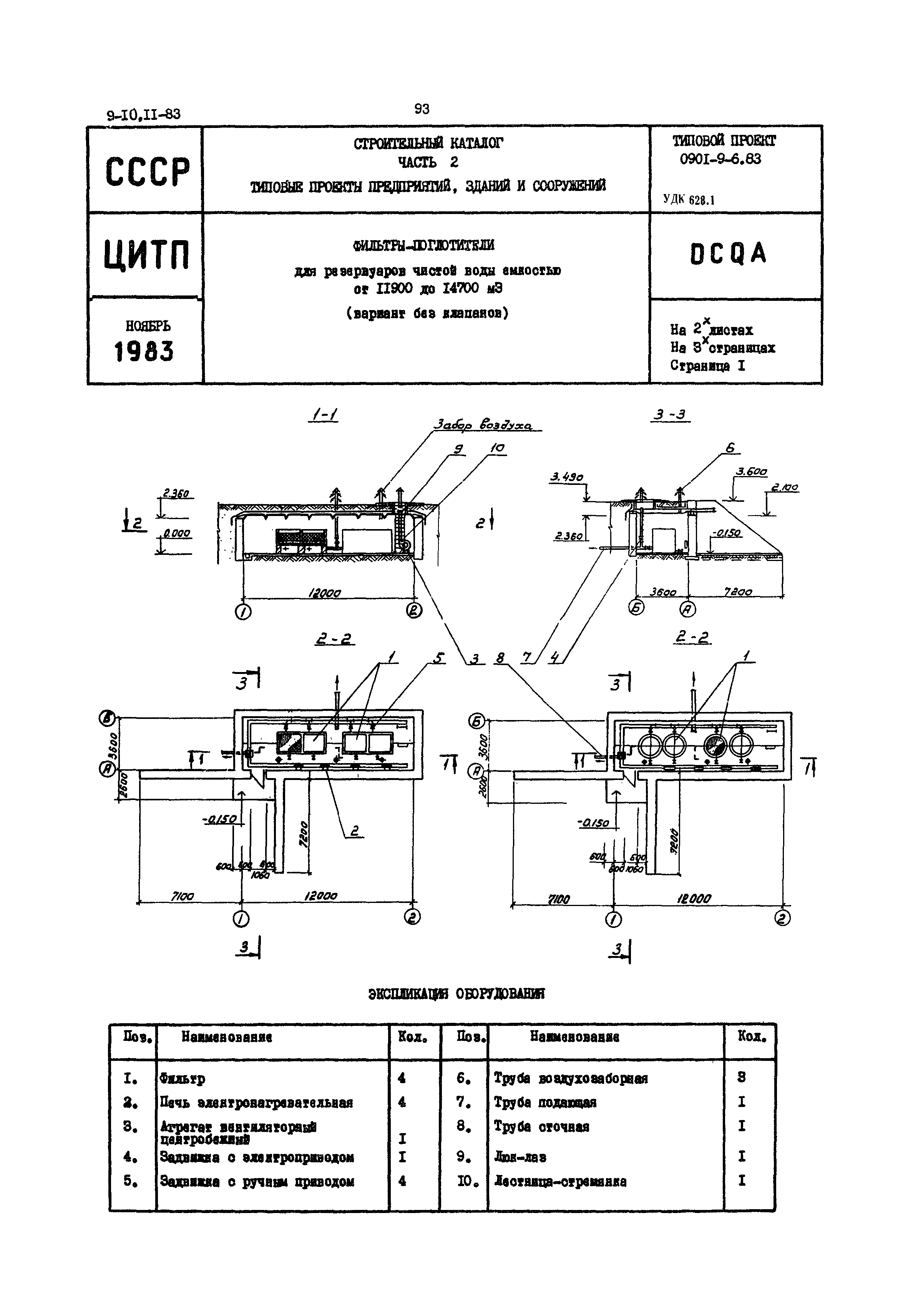
Скачать Типовой проект 0901-9-6.83 Фильтры-поглотители для резервуаров чистой воды емкостью от 11900 куб. м до 14700 куб. м. Вариант без клапановДата актуализации: 01.01.2021 Типовой проект 0901-9-6.83
Фильтры-поглотители для резервуаров чистой воды емкостью от 11900 куб. м до 14700 куб. м. Вариант без клапанов| Обозначение: | Типовой проект 0901-9-6.83 | | Обозначение англ: | 0901-9-6.83 | | Статус: | действует | | Название рус.: | Фильтры-поглотители для резервуаров чистой воды емкостью от 11900 куб. м до 14700 куб. м. Вариант без клапанов | | Дата добавления в базу: | 01.09.2013 | | Дата актуализации: | 01.01.2021 | | Дата введения: | 25.11.1982 |
 
|