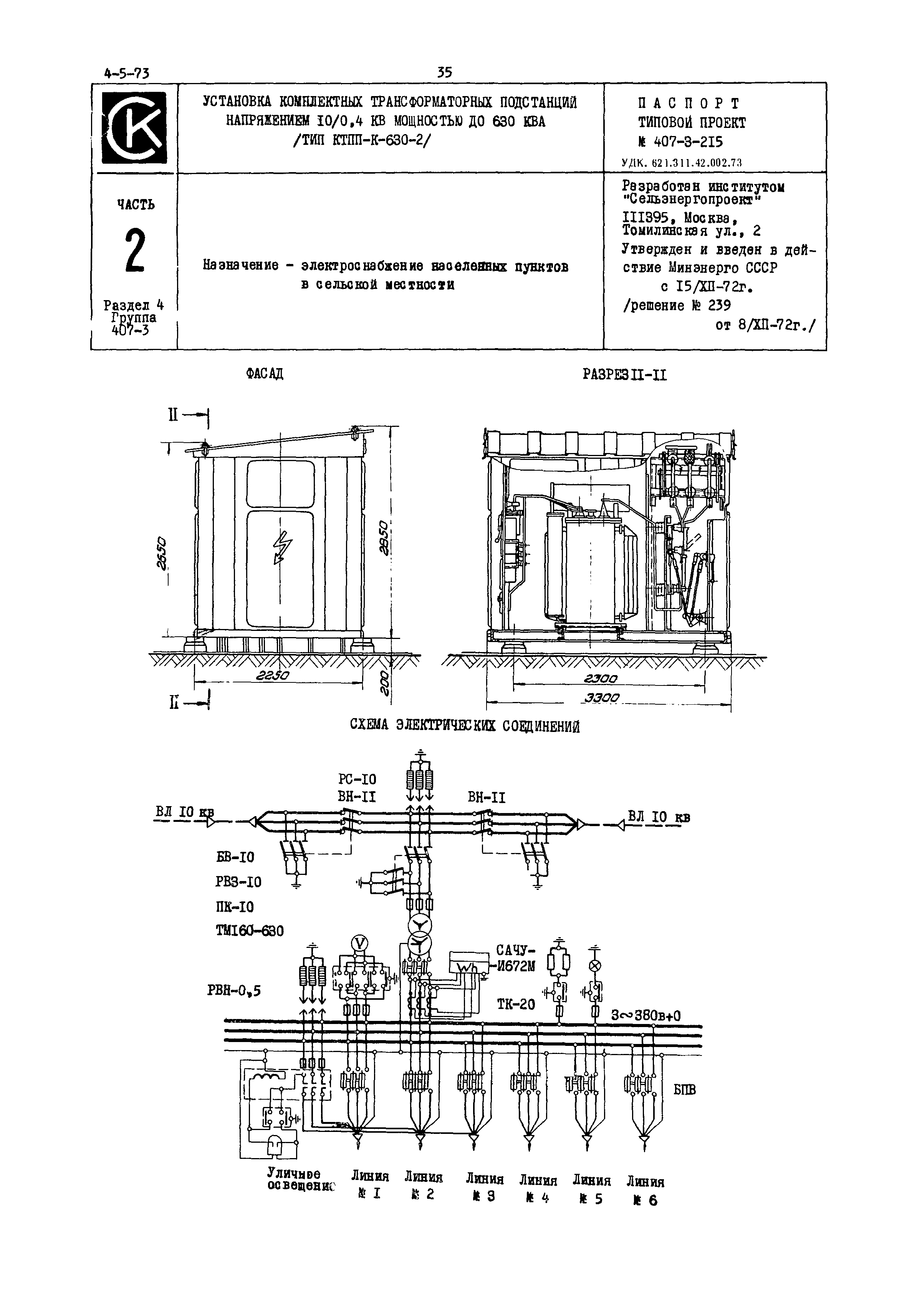
Скачать Типовой проект 407-3-215 Установка комплектных трансформаторных подстанций напряжением 10/0,4 кВ мощностью до 630 кВА (тип КТПП-К-630-2)Дата актуализации: 01.01.2021 Типовой проект 407-3-215
Установка комплектных трансформаторных подстанций напряжением 10/0,4 кВ мощностью до 630 кВА (тип КТПП-К-630-2)| Обозначение: | Типовой проект 407-3-215 | | Обозначение англ: | 407-3-215 | | Статус: | действует | | Название рус.: | Установка комплектных трансформаторных подстанций напряжением 10/0,4 кВ мощностью до 630 кВА (тип КТПП-К-630-2) | | Дата добавления в базу: | 01.10.2014 | | Дата актуализации: | 01.01.2021 | | Дата введения: | 15.12.1972 |

|