Скачать Типовой проект 603-59 Опорная усилительная станция мощностью 60 кВт для Московской радиотрансляционной сетиДата актуализации: 01.01.2021 Типовой проект 603-59
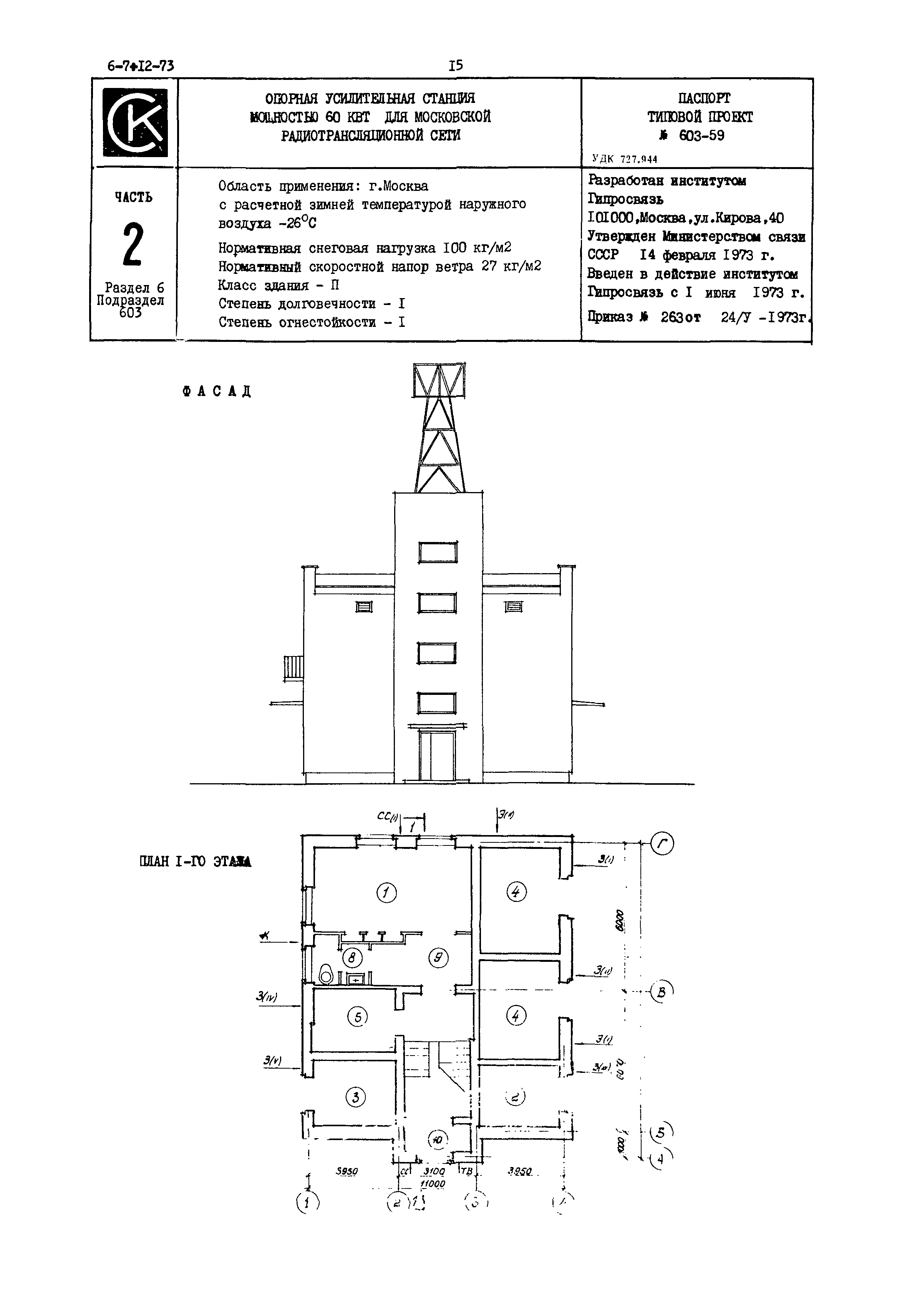
Опорная усилительная станция мощностью 60 кВт для Московской радиотрансляционной сети| Обозначение: | Типовой проект 603-59 | | Обозначение англ: | 603-59 | | Статус: | действует | | Название рус.: | Опорная усилительная станция мощностью 60 кВт для Московской радиотрансляционной сети | | Дата добавления в базу: | 01.10.2014 | | Дата актуализации: | 01.01.2021 | | Дата введения: | 01.06.1973 |
   
|