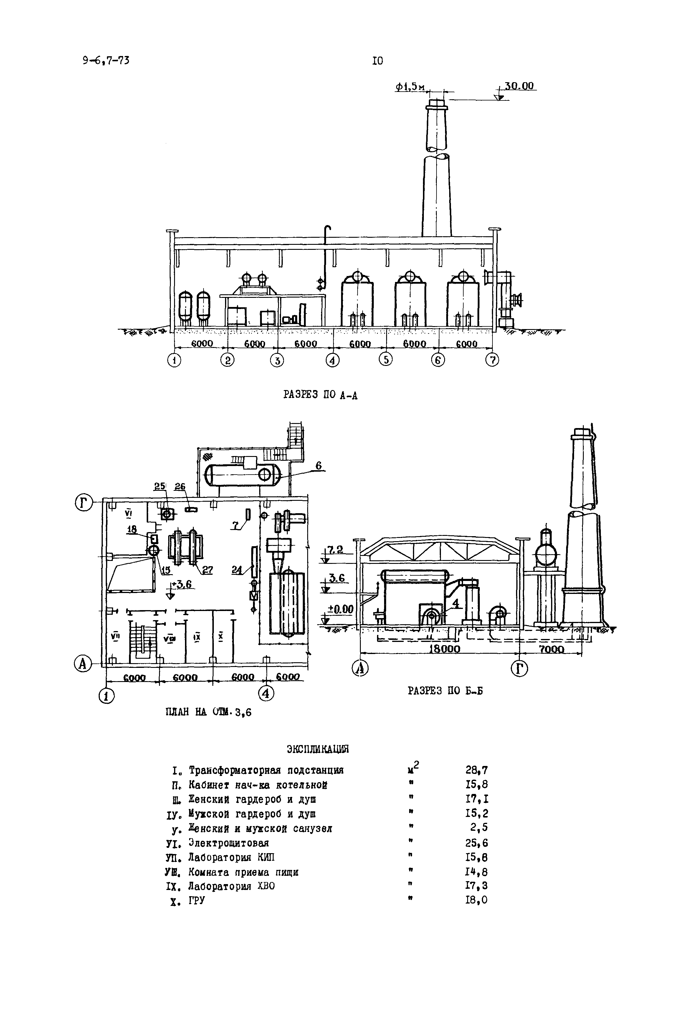
Скачать Типовой проект 903-1-24/71 Котельная с 3 котлами ДКВР-10-13. Топливо - газ и мазут. Теплоносители вода и парДата актуализации: 01.01.2021 Типовой проект 903-1-24/71
Котельная с 3 котлами ДКВР-10-13. Топливо - газ и мазут. Теплоносители вода и пар| Обозначение: | Типовой проект 903-1-24/71 | | Обозначение англ: | 903-1-24/71 | | Статус: | заменен | | Название рус.: | Котельная с 3 котлами ДКВР-10-13. Топливо - газ и мазут. Теплоносители вода и пар | | Дата добавления в базу: | 01.10.2014 | | Дата актуализации: | 01.01.2021 | | Дата введения: | 01.09.1972 | | Дата окончания срока действия: | 01.12.1980 |
    
|