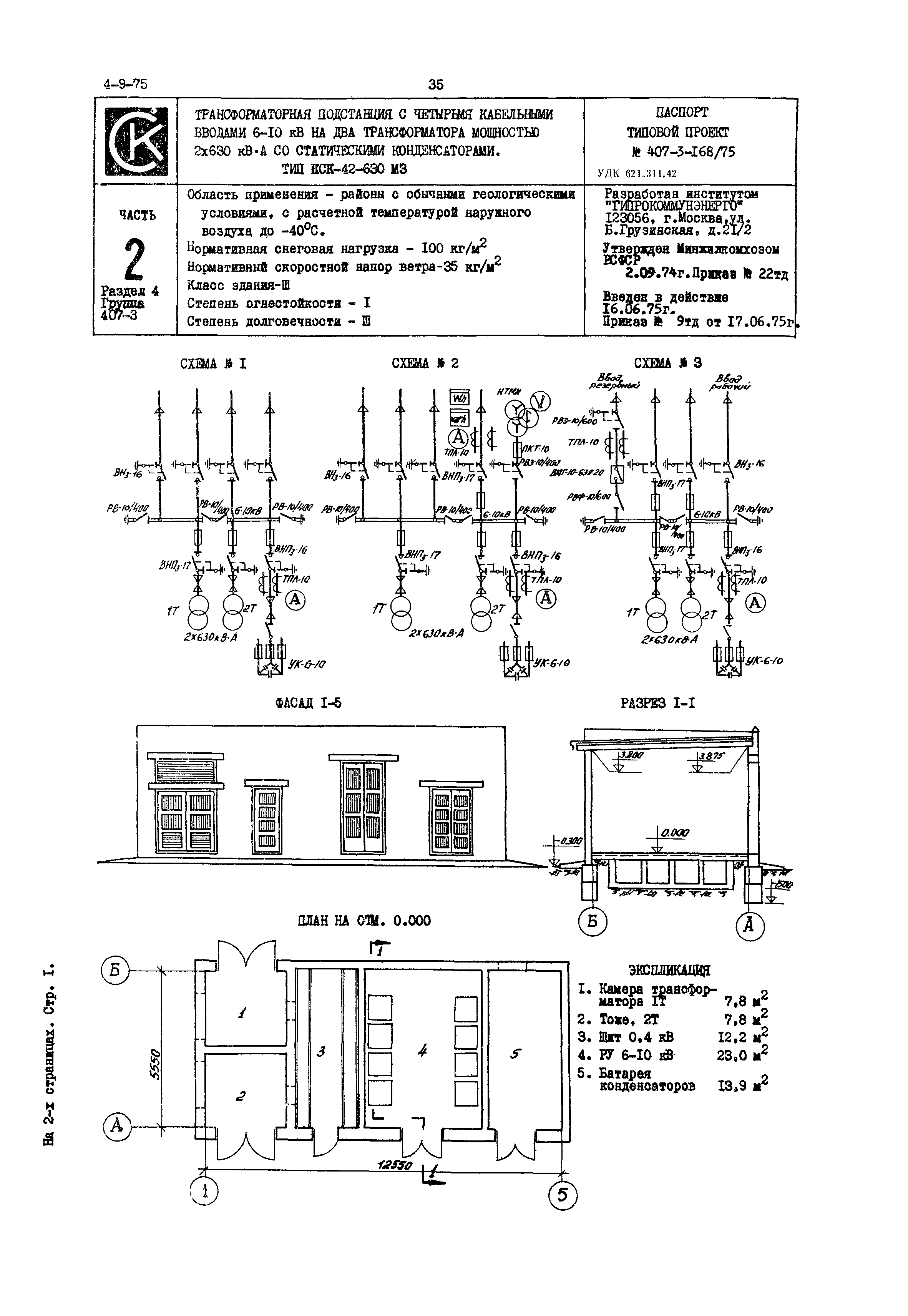
Скачать Типовой проект 407-3-168/75 Трансформаторная подстанция с четырьмя кабельными вводами 6 - 10 кВ на два трансформатора мощностью до 2х630 кВА со статическими конденсаторами. Тип КСК-42-630 М3

Дата актуализации: 01.01.2021

Типовой проект 407-3-168/75

Трансформаторная подстанция с четырьмя кабельными вводами 6 - 10 кВ на два трансформатора мощностью до 2х630 кВА со статическими конденсаторами. Тип КСК-42-630 М3

Обозначение: Типовой проект 407-3-168/75
Обозначение англ: 407-3-168/75
Статус:заменен
Название рус.:Трансформаторная подстанция с четырьмя кабельными вводами 6 - 10 кВ на два трансформатора мощностью до 2х630 кВА со статическими конденсаторами. Тип КСК-42-630 М3
Дата добавления в базу:01.01.2019
Дата актуализации:01.01.2021
Дата введения:16.06.1975
Дата окончания срока действия:01.10.1984
Область применения:Трансформаторная подстанция предназначается для питания силовых и осветительных нагрузок промышленных потребителей и городских электрических сетей
Список изменений:
Типовой проект 407-3-168/75Типовой проект 407-3-168/75

Текстовое изменение № от 12.12.2006

№ № № №