Скачать Типовой проект 901-6-60 Градирни с вентиляторами 2ВГ25, расположенные на зданиях с плоской кровлей с секциями площадью 16 кв. мДата актуализации: 01.01.2021 Типовой проект 901-6-60
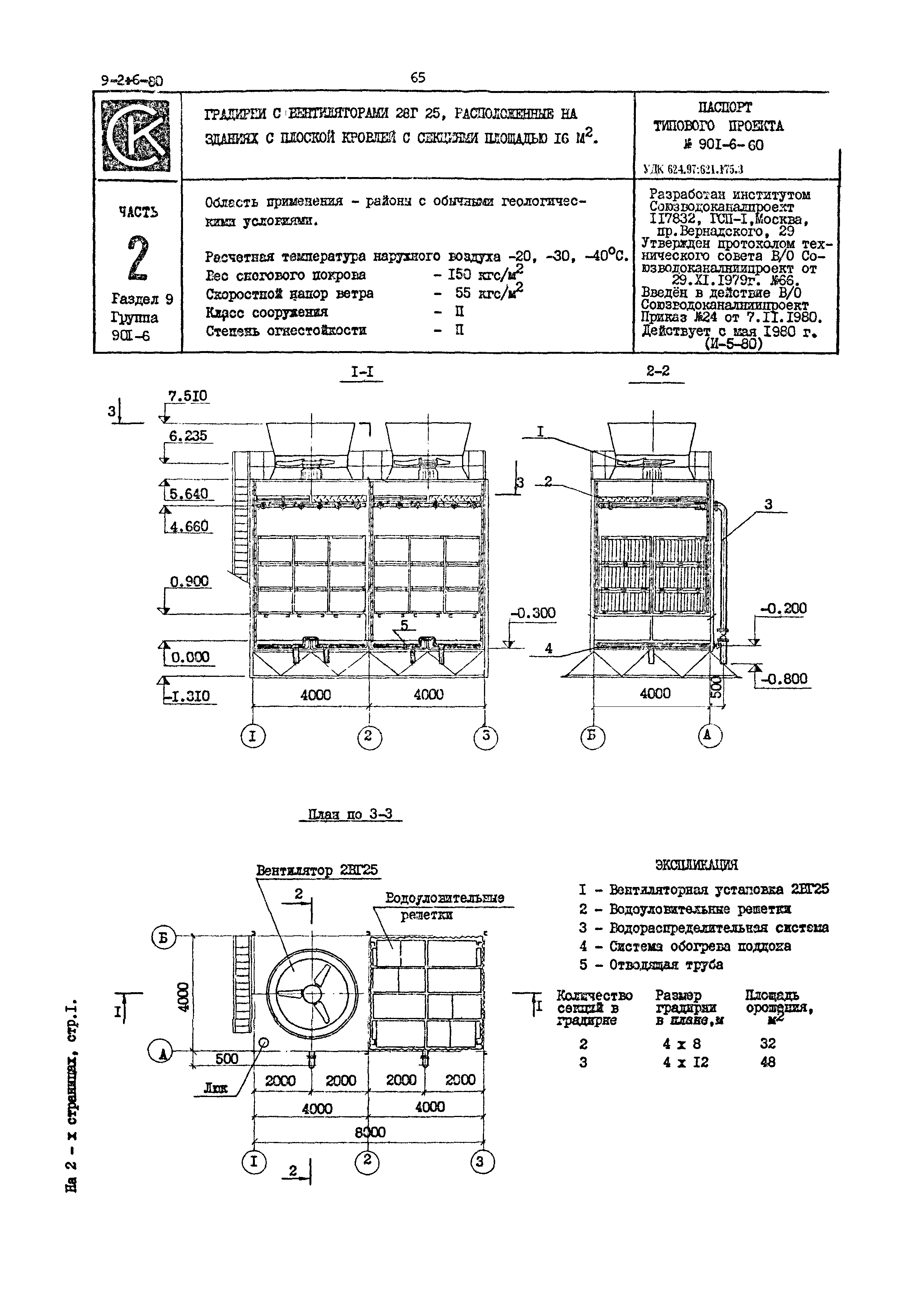
Градирни с вентиляторами 2ВГ25, расположенные на зданиях с плоской кровлей с секциями площадью 16 кв. м| Обозначение: | Типовой проект 901-6-60 | | Обозначение англ: | 901-6-60 | | Статус: | отменен | | Название рус.: | Градирни с вентиляторами 2ВГ25, расположенные на зданиях с плоской кровлей с секциями площадью 16 кв. м | | Дата добавления в базу: | 01.02.2017 | | Дата актуализации: | 01.01.2021 | | Дата введения: | 07.02.1980 | | Дата окончания срока действия: | 01.02.1987 | | Область применения: | Градирни предназначаются для охлаждения оборотной воды, не содержащей самовозгорающихся и трудноудаляемых примесей, с концентрацией взвешенных веществ не более 120 мг/л и температурой оборотной воды не выше 55 градусов Цельсия |

|