Скачать Типовой проект 901-2-107 Насосные станции на трубчатых колодцах с насосами ЭЦВ производительностью от 25 до 63 куб. м/ч с бактерицидными установками ОВ-50Дата актуализации: 01.01.2021 Типовой проект 901-2-107
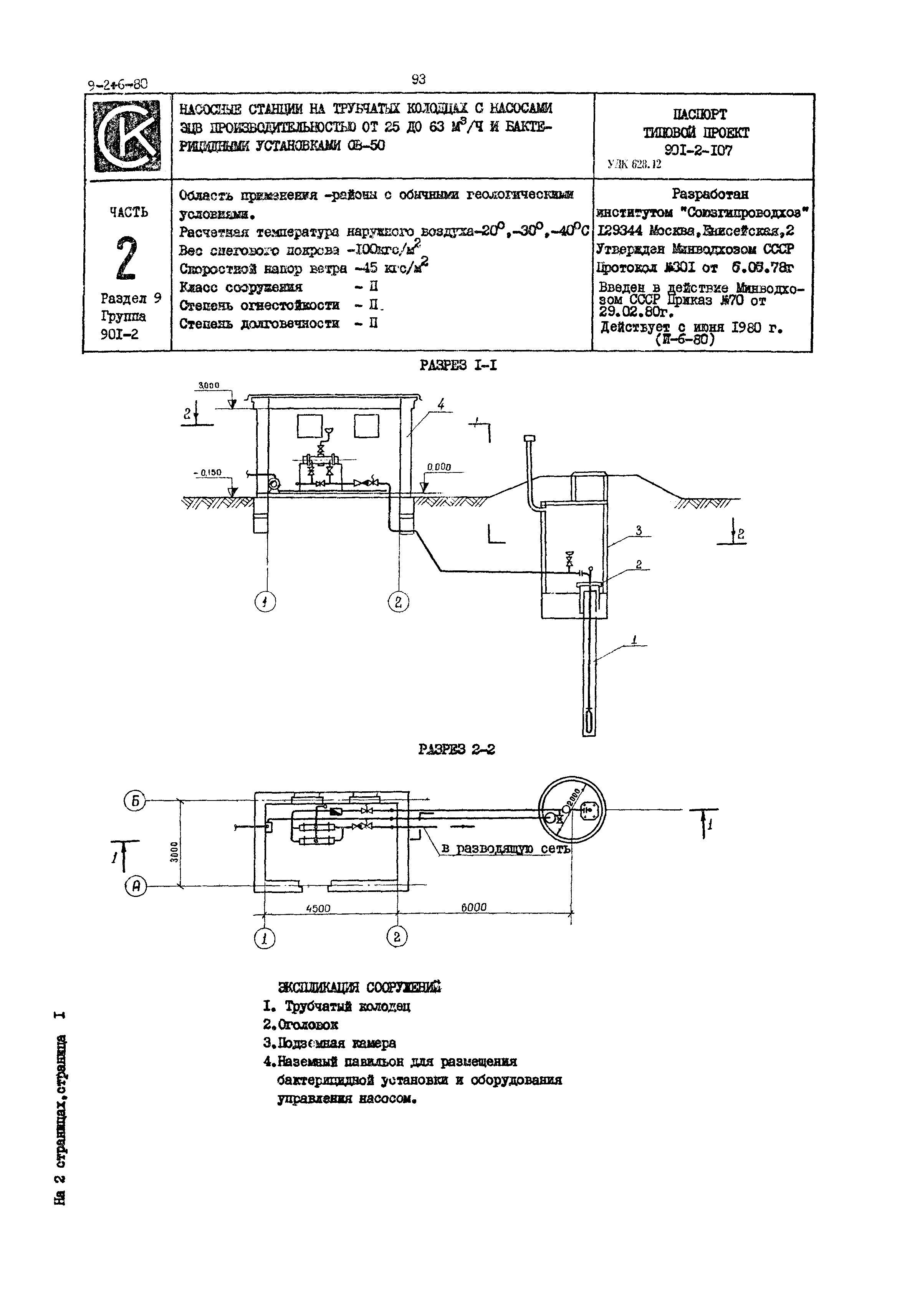
Насосные станции на трубчатых колодцах с насосами ЭЦВ производительностью от 25 до 63 куб. м/ч с бактерицидными установками ОВ-50| Обозначение: | Типовой проект 901-2-107 | | Обозначение англ: | 901-2-107 | | Статус: | не действует | | Название рус.: | Насосные станции на трубчатых колодцах с насосами ЭЦВ производительностью от 25 до 63 куб. м/ч с бактерицидными установками ОВ-50 | | Дата добавления в базу: | 01.02.2020 | | Дата актуализации: | 01.01.2021 | | Дата введения: | 29.02.1980 | | Дата окончания срока действия: | 01.12.1986 | | Область применения: | Насосные станции на трубчатых колодцах с насосами ЭЦВ производительностью от 25 до 63 куб. м/ч с бактерицидными установками ОВ-50 применяются в тех случаях, когда вода источника водоснабжения требует обеззараживания. |

|