Скачать Типовой проект 903-9-33.90 Приемная емкость мазута V = 100 куб. мДата актуализации: 01.01.2021
|
| Обозначение: | Типовой проект 903-9-33.90 |
| Обозначение англ: | 903-9-33.90 |
| Статус: | не определен законодательством |
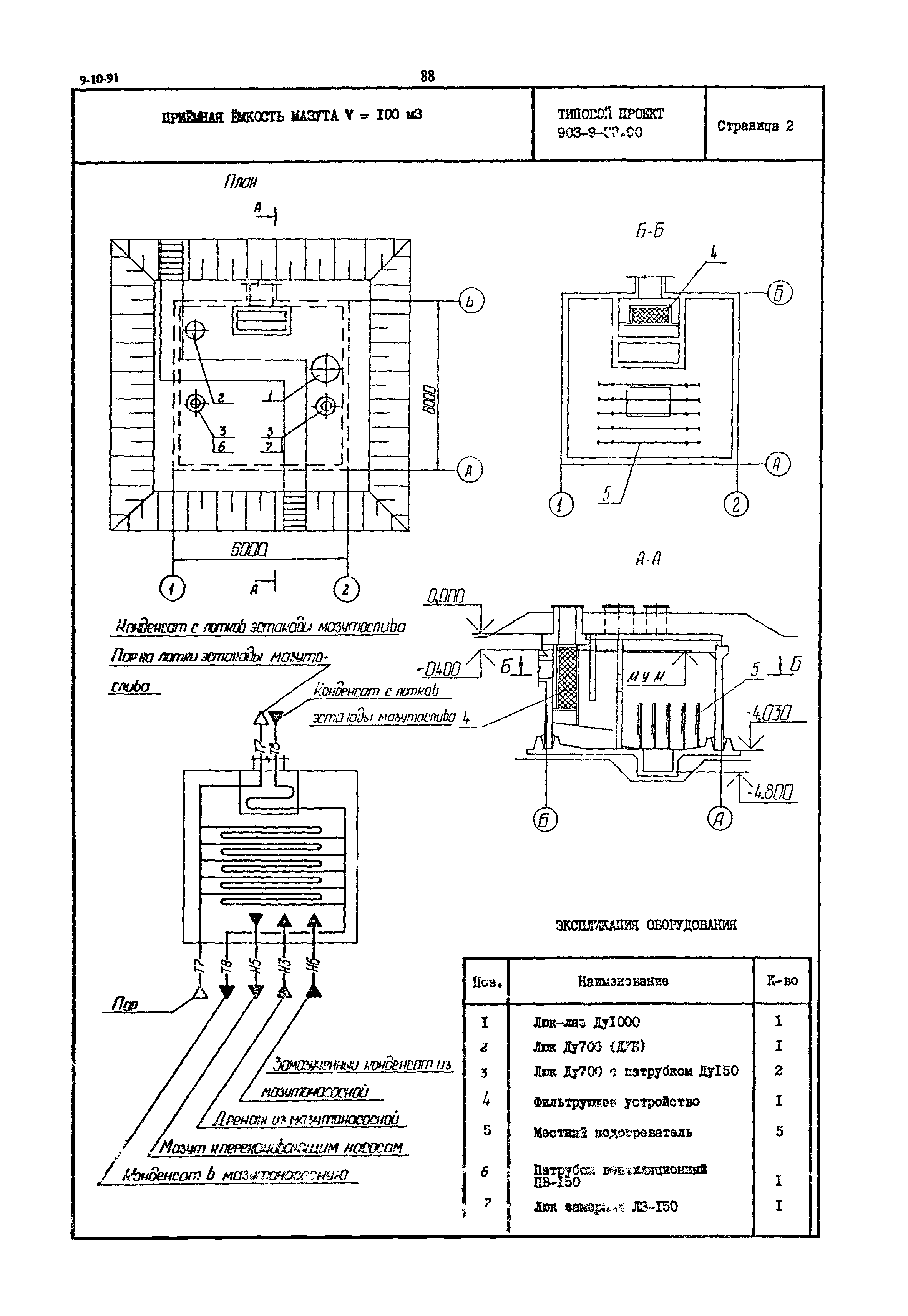
| Название рус.: | Приемная емкость мазута V = 100 куб. м |
| Дата добавления в базу: | 01.02.2017 |
| Дата актуализации: | 01.01.2021 |
| Дата введения: | 01.04.1991 |
| Дата окончания срока действия: | 30.06.2003 |




