Скачать ГОСТ 16483.33-77 Древесина. Метод определения удельного сопротивления выдергиванию гвоздей и шуруповДата актуализации: 01.01.2021
|
| Обозначение: | ГОСТ 16483.33-77 |
| Обозначение англ: | GOST 16483.33-77 |
| Статус: | действует |
| Название рус.: | Древесина. Метод определения удельного сопротивления выдергиванию гвоздей и шурупов |
| Название англ.: | Wood. Method for determination of resistivity to nail and woodscrew withdrawal |
| Дата добавления в базу: | 01.09.2013 |
| Дата актуализации: | 01.01.2021 |
| Дата введения: | 01.01.1978 |
| Область применения: | Стандарт распростространяется на древесину и устанавливает методы определения удельного сопротивления выдергиванию круглых проволочных гвоздей и шурупов. |
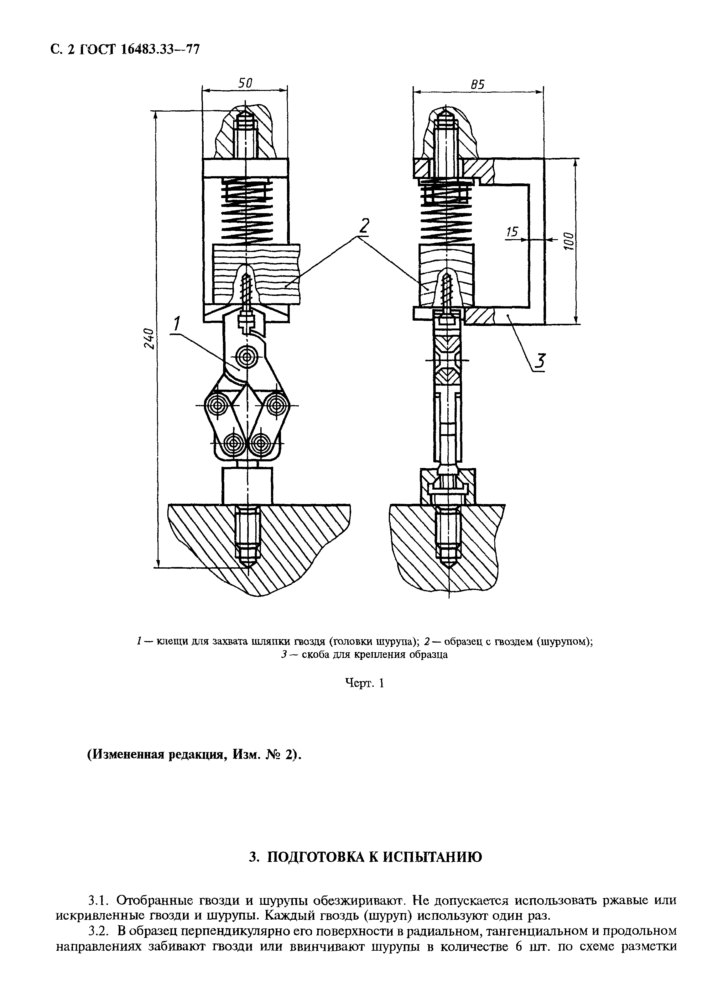
| Оглавление: | 1 Метод отбора образцов 2 Аппаратура 3 Подготовка к испытанию 4 Проведение испытаний 5 Обработка результатов Приложение Протокол определения удельного сопротивления древесины выдергиванию гвоздей (шурупов) |
| Разработан: | Минлесбумпром СССР |
| Утверждён: | 07.01.1977 Госстандарт СССР (USSR Gosstandart 29) |
| Издан: | Издательство стандартов (1986 г. ) ИПК Издательство стандартов (1999 г. ) |
| Заменяет собой: |
|
| Нормативные ссылки: |
|






