Скачать РД 03-427-01 Методические указания по проведению экспертных обследований вентиляторных установок главного проветриванияДата актуализации: 01.01.2021
|
| Обозначение: | РД 03-427-01 |
| Обозначение англ: | RD 03-427-01 |
| Статус: | действует |
| Название рус.: | Методические указания по проведению экспертных обследований вентиляторных установок главного проветривания |
| Название англ.: | Procedural Guidelines for Conformity Assessment Inspections of Primary Ventilating Systems |
| Дата добавления в базу: | 01.09.2013 |
| Дата актуализации: | 01.01.2021 |
| Дата введения: | 01.04.2002 |
| Область применения: | Методические указания по проведению экспертных обследований (экспертизы промышленной безопасности) вентиляторных установок главного проветривания предназначены для определения технического состояния оборудования и элементов вентиляторных установок главного проветривания, определения их остаточного ресурса и возможности дальнейшей эксплуатации. Требования Методических указаний распространяются на вентиляторные установки главного проветривания, применяющиеся на предприятиях с подземным способом добычи полезных ископаемых в угольной и горнорудной отраслях промышленности. |
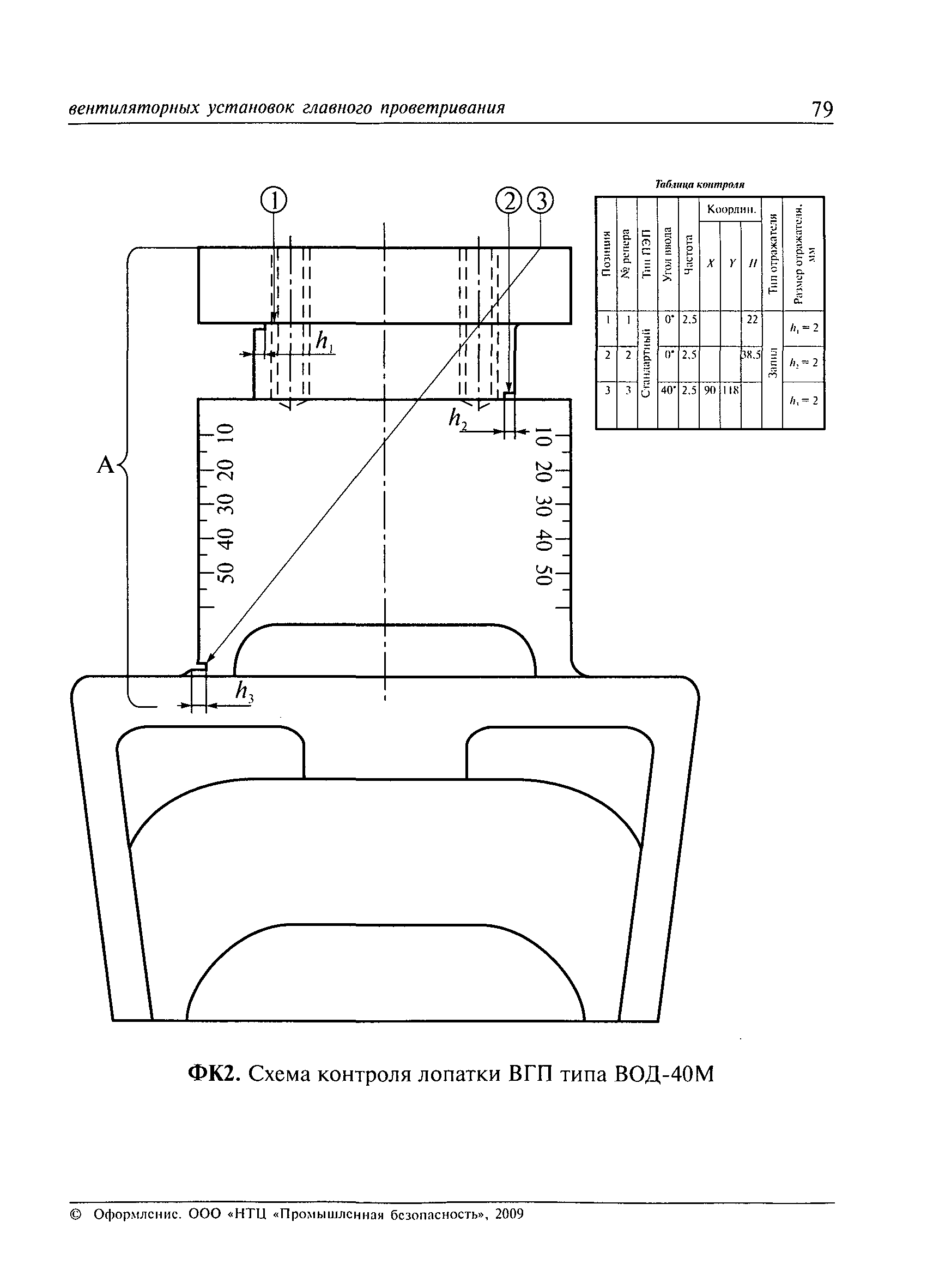
| Оглавление: | Термины и определения Принятые сокращения 1 Общие положения 1.1 Назначение и область применения 1.2 Организация экспертного обследования 1.3 Предъявляемая предприятием документация 1.4 Этапы работы по обследованию ВУГП 1.5 Оформление результатов экспертного обследования 2 Технология обследования и оценка технического состояния ответственных элементов ВУГП 2.1 Вибродиагностическое обследование и оценка технического состояния узлов механической части вентиляторов 2.1.1 Основные понятия и определения 2.1.2 Измерительно-регистрирующая аппаратура 2.1.3 Проведение измерений 2.1.4 Оценка интенсивности вибрации 2.1.5 Периодичность проведения виброконтроля и анализ тенденций 2.1.6 Оценка технического состояния ВУГП по параметрам вибрации 2.1.7 Требования к операторам виброконтроля 2.2 Технические требования по подготовке к проведению работ по дефектоскопии элементов ВУГП 2.2.1 Общие требования 2.2.2 Аппаратура контроля 2.2.3 Требования безопасности 2.3 Обследование состояния ответственных элементов и отдельных узлов оборудования ВУГП 2.3.1 Основные положения 2.3.2 Ультразвуковой контроль вала рабочего колеса с подшипниками качения и промежуточного вала 2.3.3 Дефектоскопия валов с плдшипниками скольжения 2.3.4 Дефектоскопия анкерных болтов 2.3.5 Ультразвуковая толщинометрия обшивок лопаток центробежных вентиляторов 2.4 Обследование и оценка технического состояния электрооборудования ВУГП 2.5 Обследование и оценка технического состояния строительных конструкций 3 Указания по ультразвуковой дефектоскопии лопаток осевых ВГП 3.1 Основные исходные положения 3.2 Технология проведения контроля лопаток 3.2.1 Визуальный осмотр 3.2.2 Ультразвуковой контроль 3.2.3 Дефектоскопия лопаток ВГП типа ВОД-30М 3.2.3 Дефектоскопия лопаток ВГП типа ВОД-40М 3.2.3 Дефектоскопия лопаток ВГП типа ВОКД-3,6 3.2.3 Дефектоскопия лопаток ВГП типа ВОД-30М Приложение 1 Рекомендуемая форма технического отчета Приложение 2 Заключение экспертно-технической комиссии Приложение 3 Журнал контроля интенсивности вибраций ВГП Приложение 4 Формуляры контроля |
| Разработан: | Госгортехнадзор России НЦ ВостНИИ АО Сибэнергочермет |
| Утверждён: | 20.12.2001 Госгортехнадзор России (Russian Federation Gosgortekhnadzor 61) |
| Издан: | НТЦ Промышленная безопасность (2002 г. ) ЗАО НТЦ ПБ (2009 г. ) |
| Нормативные ссылки: |



















































































