Скачать РД 34.48.152 Руководящие указания по проектированию электропитания средств диспетчерского и технологического управления в энергосистемахДата актуализации: 01.01.2021
|
| Обозначение: | РД 34.48.152 |
| Обозначение англ: | RD 34.48.152 |
| Статус: | действует |
| Название рус.: | Руководящие указания по проектированию электропитания средств диспетчерского и технологического управления в энергосистемах |
| Название англ.: | Guidelines for Design of Electric Power for Dispatch and Process Control Systems in Energy Systems |
| Дата добавления в базу: | 01.09.2013 |
| Дата актуализации: | 01.01.2021 |
| Дата введения: | 08.02.1973 |
| Область применения: | Руководящие указания содержат основные указания, нормативы и рекомендации по проектированию электропитания средств диспетчерского и технологического управления (СДТУ), размещаемых на диспетчерских пунктах, в информационно-вычислительных центрах и узлах СДТУ объединенных диспетчерских управлений, районных энергетических управлений, предприятий и районов электрических и тепловых сетей, электростанций и подстанций напряжением 35 кВ и выше. Руководящие указания не распространяются на устройства противоаварийной и технологической автоматики электрических станций и подстанций. |
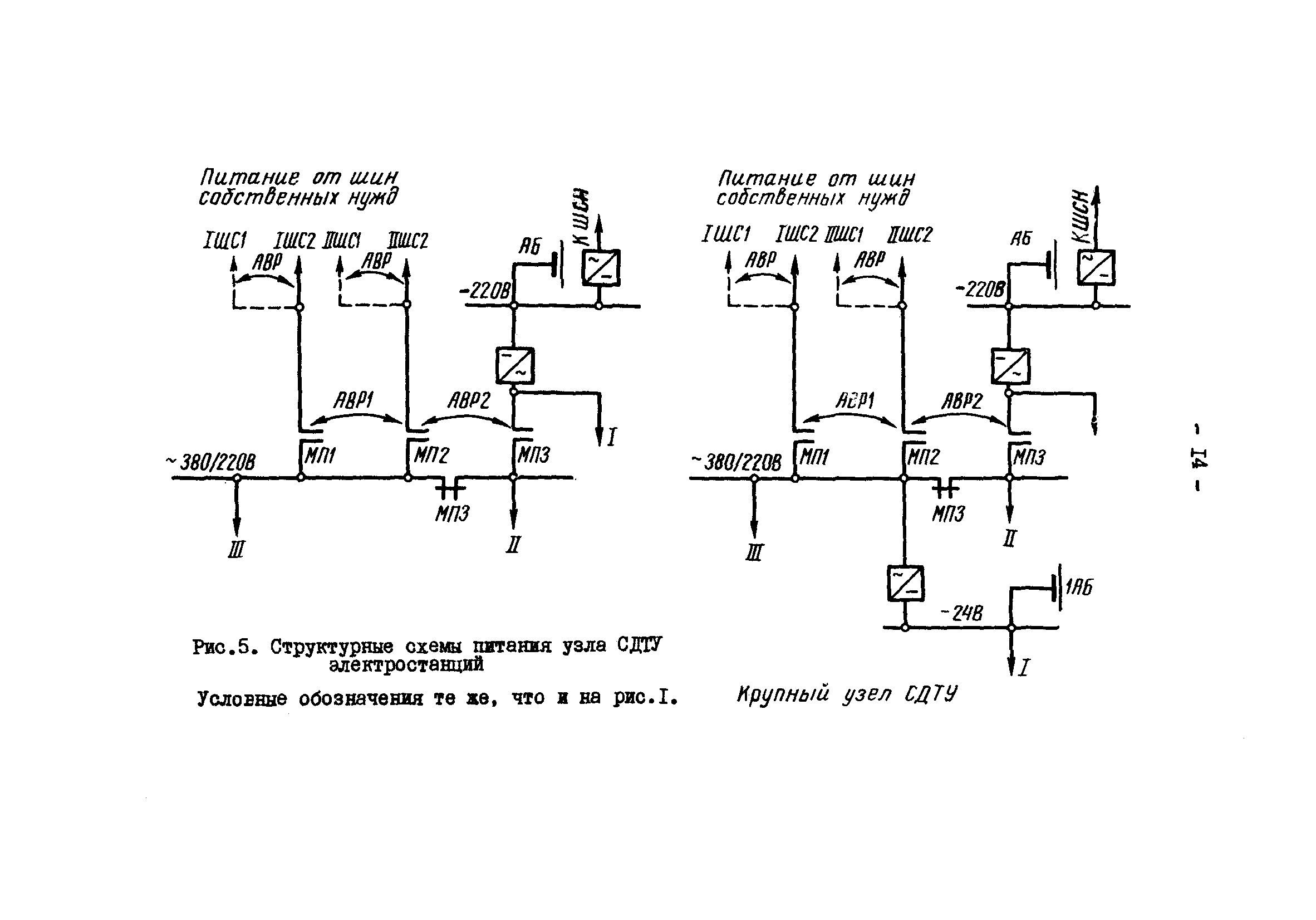
| Оглавление: | 1 Введение 2 Требования к электропитанию диспетчерских пунктов и узлов СДТУ объединенных диспетчерских управлений, районных энергетических управлений, предприятий и районов электрических и тепловых сетей 3 Требования к электропитанию информационно-вычислительных центров 4 Требования к электропитанию узлов СДТУ на электростанциях 5 Требования к электропитанию узлов СДТУ на подстанциях напряжением 35 кВ и выше 6 Требования к электропитанию промежуточных и оконечных усилительных пунктов кабельных и радиорелейных линий связи 7 Указания п оорганизации электропитания СДТУ Приложение Классификация СДТУ по категориям (I, II, III) |
| Разработан: | Энергосетьпроект |
| Утверждён: | 08.02.1973 Минэнерго СССР (USSR Minenergo 5) |
| Издан: | СЦНТИ ОРГРЭС (1974 г. ) |



























