Скачать РД 34.48.403-76 Инструкция по наладке и эксплуатации высокочастотной аппаратуры телеотключения ВЧТО-МДата актуализации: 01.01.2021
|
| Обозначение: | РД 34.48.403-76 |
| Обозначение англ: | RD 34.48.403-76 |
| Статус: | действует |
| Название рус.: | Инструкция по наладке и эксплуатации высокочастотной аппаратуры телеотключения ВЧТО-М |
| Название англ.: | Guidelines for Adjustment and Operation of High-Frequency Remote Disconnection Apparatus VChTO-M |
| Дата добавления в базу: | 01.09.2013 |
| Дата актуализации: | 01.01.2021 |
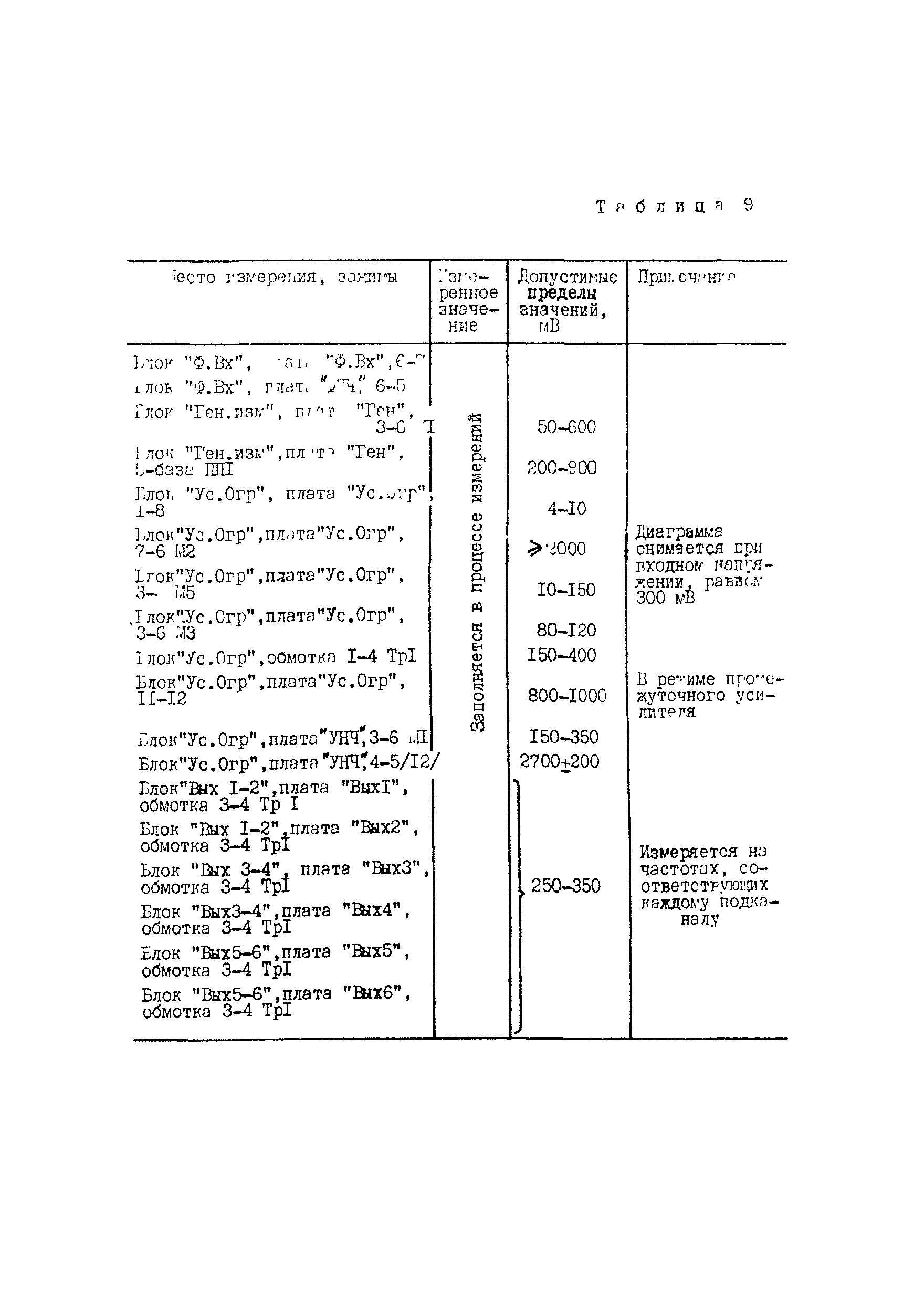
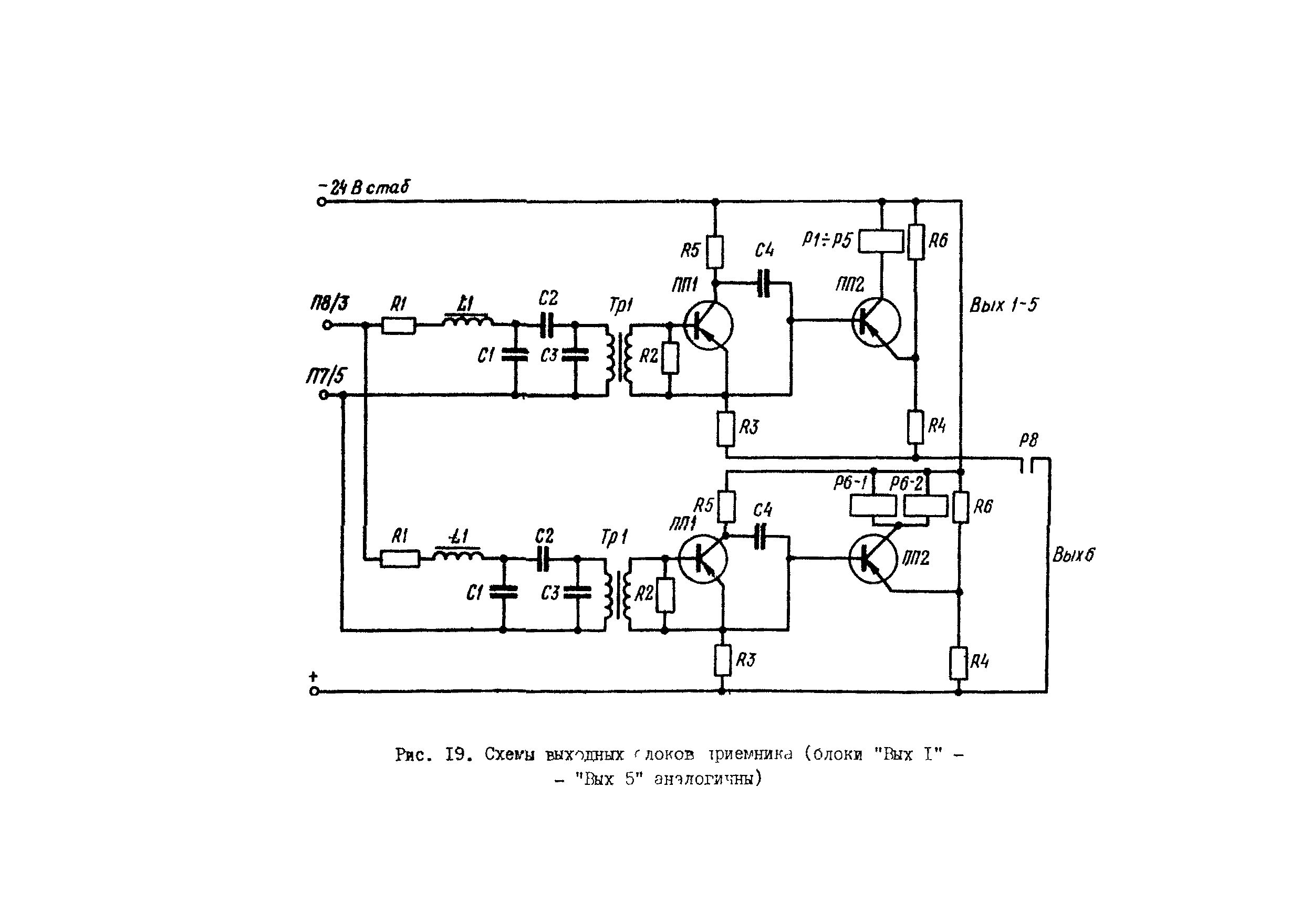
| Оглавление: | Глава I Общая характеристика аппаратуры ВЧТО-М Назначение и принцип действия Технические данные Глава II Наладка аппаратуры Программа и методика наладки Подготовительные работы Проверка инвентора Проверка передатчика перед включением на линию Проверка приемника перед включением на линию Проверка промежуточного усилителя перед включением на линию Проверка совместной работы передатчика и приемника в рабочем канале Особенности проверки канала с промежуточными усилителями Проверка влияния помех на работу аппаратуры Проверка взаимодействия канала телеотключения с пусковыми и исполнительными схемами Глава III Эксплуатация аппаратуры Сроки проведения проверок Проведение ежедневных проверок Программа опробования действия канала телеотключения Полная плановая проверка аппаратуры ВЧТО-М Приложение 1 Образцы образцов-протоколов передатчика, приемника и блока питания ВЧТО-М Приложение 2 Данные фильтров аппаратуры и методика их настройки Приложение 3 Возможные неисправности аппаратуры и способы их устранения Литература |
| Разработан: | ВНИИЭ |
| Утверждён: | 24.06.1976 Минэнерго СССР (USSR Minenergo ) |
| Издан: | СПО ОРГРЭС (1976 г. ) |



































































































