Скачать РД 34.48.503 Типовая инструкция по организации эксплуатации систем телемеханики в энергосистемахДата актуализации: 01.01.2021
|
| Обозначение: | РД 34.48.503 |
| Обозначение англ: | RD 34.48.503 |
| Статус: | действует |
| Название рус.: | Типовая инструкция по организации эксплуатации систем телемеханики в энергосистемах |
| Название англ.: | Model Guidelines for Organization Operation of Telemetry Systems in Energy Systems |
| Дата добавления в базу: | 01.09.2013 |
| Дата актуализации: | 01.01.2021 |
| Дата введения: | 29.12.1978 |
| Область применения: | В Инструкции отражены вопросы организационно-технического обслуживания устройств, входящих в понятие система телемеханики, за исключением аппаратуры каналов телемеханики. |
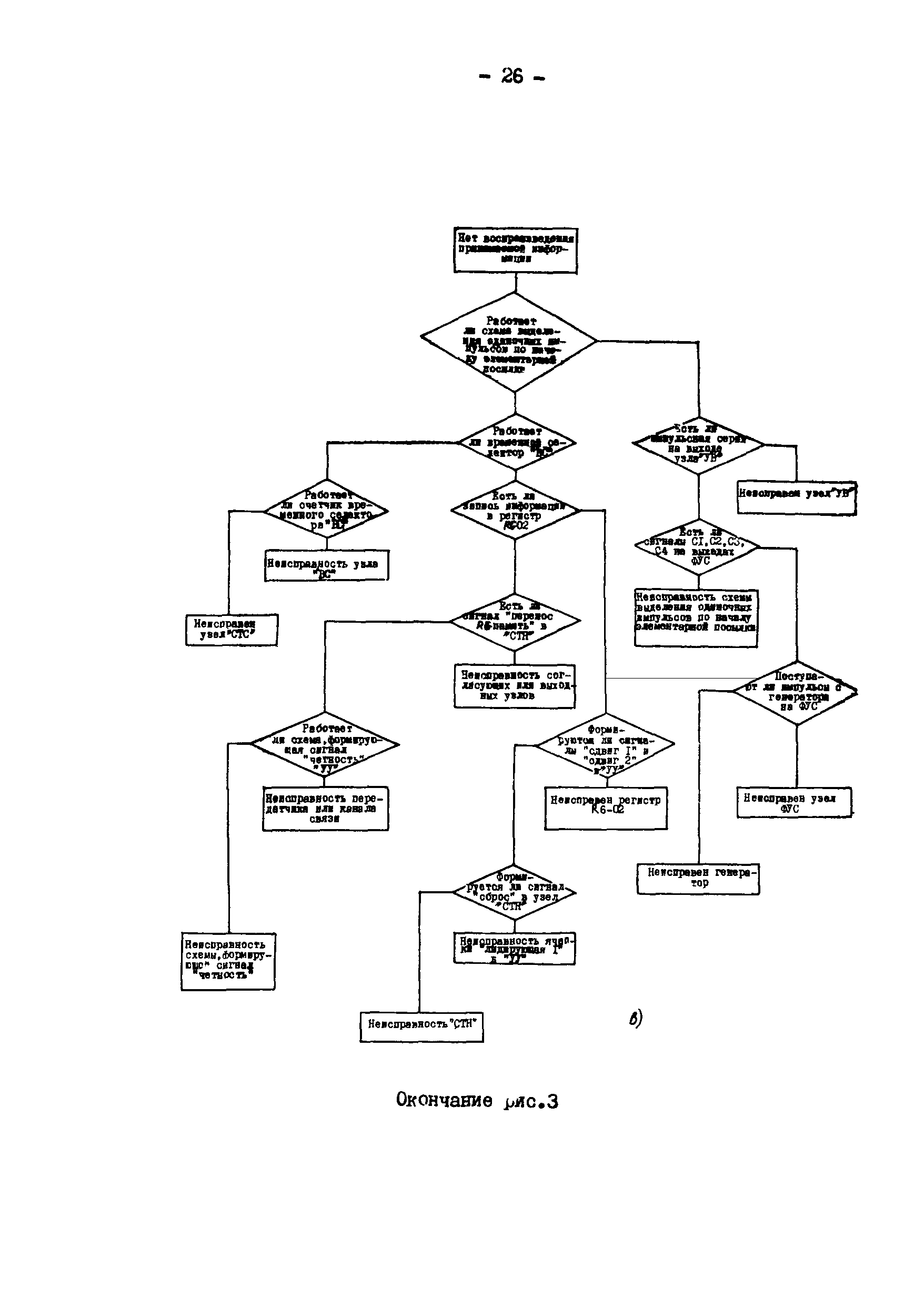
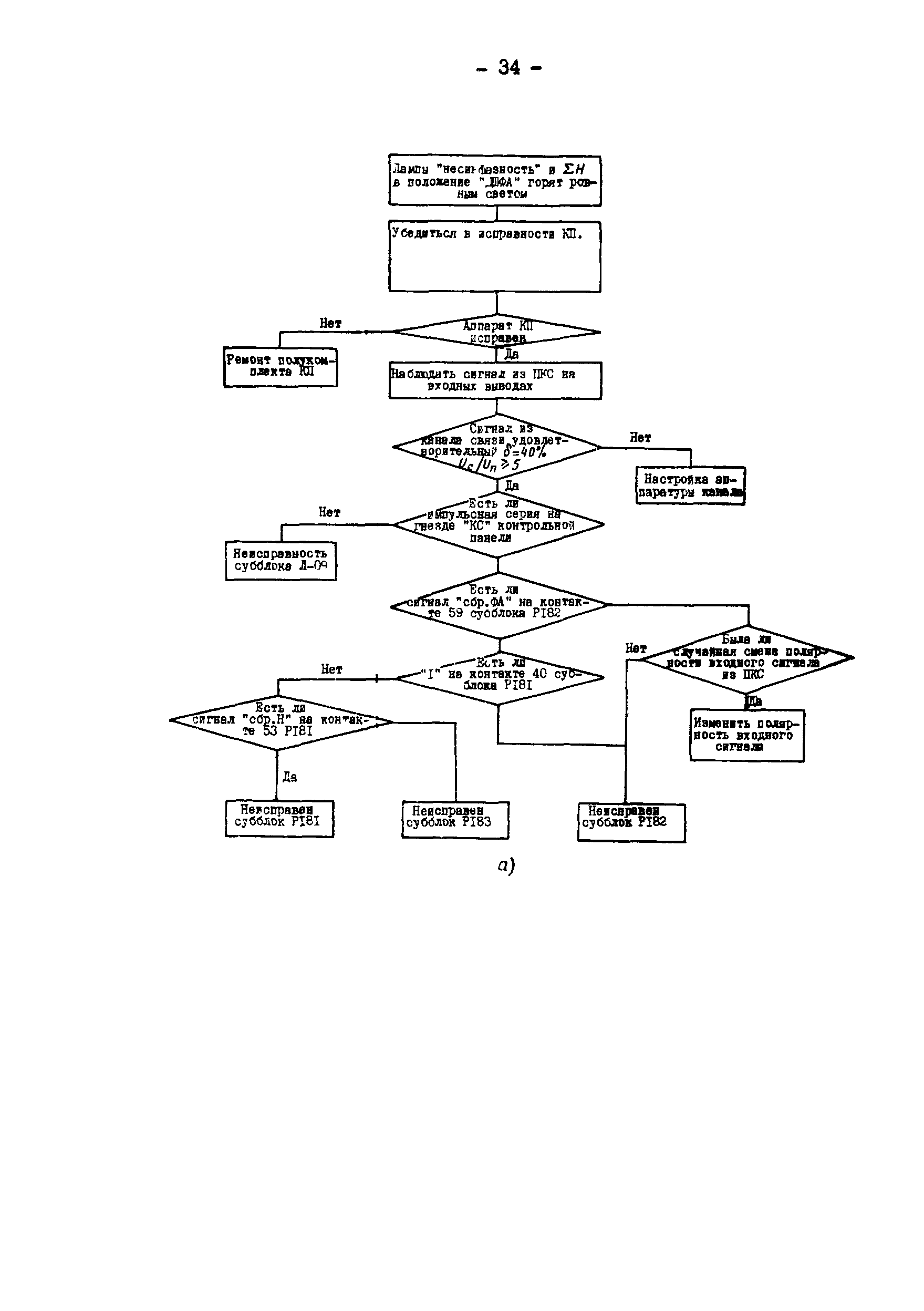
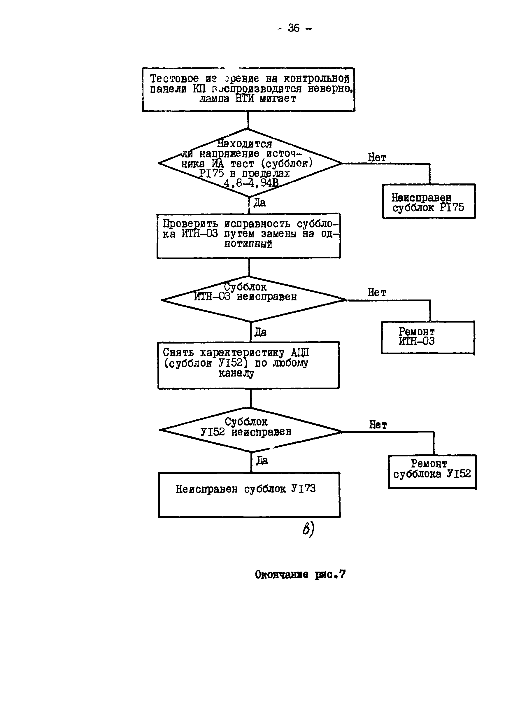
| Оглавление: | 1 Введение 2 Структура средств телемеханики в диспетчерском управлении 3 Организация эксплуатации систем телемеханики 4 Взаимоотношения между службами, подразделениями и распределение границ обслуживания 5 Техническая эксплуатация устройств телемеханики, входящих в систему АСДУ 6 Учет и оценка работы устройств телемеханики 7 Ведение технической документации 8 Техническая учеба, проверка знаний и допуск к работе эксплуатационного персонала Приложение 1 Примеры диагностических программ поиска неисправностей в устройствах телемеханики второго и третьего поколений Приложение 2 Карта учета отказов устройств телемеханики Приложение 3 Программа-вопросник проверки знаний эксплуатационного персонала, занятого эксплуатацией систем телемеханики Приложение 4 Проверка и ремонт модуля, платы, субблока |
| Разработан: | ПО Союзтехэнерго |
| Утверждён: | 29.12.1978 Минэнерго СССР (USSR Minenergo ) |
| Издан: | СПО Союзтехэнерго (1979 г. ) |
| Список изменений: |
|








































