МИНИСТЕРСТВО ЭНЕРГЕТИКИ И ЭЛЕКТРИФИКАЦИИ СССР
ГЛАВНОЕ ТЕХНИЧЕСКОЕ УПРАВЛЕНИЕ ПО ЭКСПЛУАТАЦИИ ЭНЕРГОСИСТЕМ
ТИПОВАЯ
ИНСТРУКЦИЯ
ПО ОРГАНИЗАЦИИ ЭКСПЛУАТАЦИИ
СИСТЕМ ТЕЛЕМЕХАНИКИ
В ЭНЕРГОСИСТЕМАХ
![]()
союзтехэнерго
МОСКВА 1979
Проект инструкции составлен электрическим цехом ПО «Союзтехэнерго»
Составитель инж. Я.В. ЛУРЬЕ
Инструкция предназначается для руководящего и инженерно-технического персонала энергопредприятий (управлений, объединений) Минэнерго СССР.
В работе отражены вопросы организационно-технического обслуживания устройств, входящих в понятие система телемеханики, за исключением аппаратуры каналов телемеханики.
СОДЕРЖАНИЕ
УТВЕРЖДАЮ:
Заместитель начальника
Главтехуправления
К.М. АНТИПОВ
29 декабря 1978 г.
Одной из важнейших проблем в области управления энергосистемами является создание автоматизированной системы диспетчерского управления (АСДУ). В связи с этим важное значение имеют вопросы передачи оперативно-режимной информации на диспетчерские пункты энергосистем и энергообъединений, осуществляемой средствами телемеханики.
Телемеханизация энергосистем стала технической базой информационного обеспечения АСДУ. функции и объемы передаваемой информации телемеханической аппаратурой в этой системе расширяются. Создается единая телеинформационная система, охватывающая высшие уровни диспетчерского управления и включающая множество систем и малых ЭВМ, используемых для приема, ретрансляции, обработки и отображения телеинформации.
В энергосистемах находятся в эксплуатации тысячи систем телемеханики, обеспечивающих повышение оперативности диспетчерского управления, надежности энергоснабжения потребителей и максимальную экономичность работы энергосистем.
В настоящее время телемеханизированы практически все диспетчерские пункты (ДП) энергосистем и объединений.
На всех ступенях диспетчерского управления проводятся работы по использованию малых ЭВМ и телемеханических систем в АСДУ, а также в системах АРЧМ и противоаварийной автоматики (ПА).
Информация в темпе ее поступления от устройств телемеханики вводится автоматически в малую ЭВМ, которая осуществляет наряду с обработкой и отображением контроль регулярности поступления информации, т.е. нарушений заданной периодичности следования сообщений.
В последнее время средства телемеханики в энергосистемах и объединениях претерпели ряд качественных изменений.
Введены в эксплуатацию комбинированные кодоимпульсные системы телеизмерения-телесигнализации, наиболее эффективные в отношении количества используемых каналов связи, информационной емкости, а также точности и достоверности передаваемой информации. Изменилась элементная база телемеханических систем. Современные устройства телемеханики построены на базе транзисторной и интегральной электроники.
Переход к новой элементной базе связан с новыми принципами построения телемеханических систем, которые требуют нового подхода к техническому обслуживанию.
Персонал, обслуживающий системы телемеханики, обязан обеспечивать их работу с оптимальными технико-экономическими показателями, т.е. с заданной достоверностью, надежностью и при минимальных затратах времени на восстановление их исправной работы.
Наиболее трудоемким является поиск возникшей неисправности, длительность которого в значительной степени определяется квалификацией обслуживающего персонала, организацией рабочего места, наличием ЗИП. Успешно эксплуатировать современную аппаратуру телемеханики могут специалисты, постоянно повышающие свой инженерно-технический уровень.
Положения настоящей Инструкции предназначаются для персонала, ведущего эксплуатацию устройств телемеханики, являющихся телеинформационным обеспечением подсистемы АСДУ в системе ОАСУ «Энергия». Порядок эксплуатации устройств телемеханики в подсистемах АРЧМ и ПА в настоящей Инструкции не рассматривается.
При эксплуатации систем телемеханики второго и третьего поколений следует дополнительно руководствоваться заводскими инструкциями и информационными материалами. С вводом в действие настоящей Инструкции «Инструкция по эксплуатации устройств телемеханики в энергосистемах» («Энергия», 1967) не отменяется. Положения последней по-прежнему распространяются на устройства релейно-контактных типов и другие устройства телемеханики первого поколения.
Вопросы технического обслуживания аппаратуры каналов телемеханики (ТМТП, ТАТ, АПТ, БЧУП/Д и т.п.), которая входит в понятие система телемеханики, в настоящей Инструкции не рассматриваются.
2.1. Существующая структура оперативно-диспетчерского управления строится по иерархическому принципу и включает в себя следующие основные звенья:
- Центральное диспетчерское управление (ЦДУ) ЕЭС СССР;
- объединенные диспетчерские управления объединенных энергосистем (ОДУ ОЭС);
- диспетчерские управления энергосистем и производственных объединений;
- диспетчерские управления предприятий и районов электрических сетей;
- оперативные управления электрических станций и подстанций.
2.2. Системы телемеханики входят в состав комплекса технических средств сбора, передачи и отображения информации создаваемой в энергетике системы АСДУ, обеспечивающей эффективное управление режимом энергосистем.
2.3. Организация технической эксплуатации средств телемеханики должна соответствовать структуре диспетчерского управления. Указания вышестоящей службы должны выполняться в кратчайшие сроки.
2.4. Характер подчиненности энергообъектов тем или иным диспетчерским пунктам определяет направления оперативной информации, передаваемой на диспетчерские пункты средствами телемеханики.
2.5. Замечания персонала оперативно-диспетчерской службы, а также вышестоящего инженерно-технического персонала о некачественной работе средств телемеханики должны рассматриваться немедленно с принятием необходимых мер по их устранению.
В случае необходимости технический персонал вышестоящей службы обязан оказать персоналу нижестоящей службы техническую помощь.
3.1. Эксплуатация систем телемеханики в энергосистемах производится, как правило, персоналом производственных служб средств диспетчерского и технологического управления СДТУ.
Измерительные преобразователи (датчики) и сумматоры систем телеизмерения обслуживаются, как правило, технологическими подразделениями, за которыми закреплены соответствующие виды измерений (служба метрологии, электролаборатория, местная служба РЗАИ)
Разграничение зон обслуживания между службами производится в соответствии с разд. 4 «Типовой инструкции по организации эксплуатации систем телемеханики в энергосистемах».
(Измененная редакция. Изм. № 25/87).
3.3. Основными работами персонала, занятого техническим обслуживанием систем телемеханики, являются:
а) проведение плановых (частичных и полных) эксплуатационных проверок;
б) периодический контроль состояния и действия систем телемеханики, схем ретрансляции, узлов сопряжения с ЭВМ;
в) выяснение причин и принятие оперативных мер для устранения возникающих повреждений. После устранения повреждения в основных узлах устройства телемеханики, а также при неправильном действии устройства - проведение внеочередной послеаварийной проверки (последняя проводится в объеме частичной);
г) реконструктивные работы по диспетчерскому щиту и пульту, связанные с изменением и развитием схемы первичной коммутации энергосистемы;
д) ведение технической и отчетной документации по устройствам телемеханики;
е) ведение учета действия устройств телемеханики, обобщение опыта эксплуатации, выпуск годового отчета, составление графика проверок, подготовка и оформление заявок на работы с устройствами телемеханики и другими устройствами, входящими в систему (датчиками, сумматорами и т.п.);
ж) разработка и проведение мероприятий, направленных на повышение надежности и эффективности использования систем телемеханики, реконструктивные работы;
з) составление инструкций для оперативного персонала по пользованию устройствами, входящими в систему телемеханики;
в) составление технических заданий на проектирование новых устройств телемеханики, рассмотрение проектов, подготовка заявок на новое оборудование и устройства телемеханики;
к) подключение к вновь введенному оборудованию на станциях и подстанциях действующих устройств телемеханики (включение в телесумматоры датчиков мощности новых генераторов, увеличение в устройстве телемеханики числа телесигнализируемых выключателей и т.п.);
л) приемка в эксплуатацию вновь введенных устройств;
м) участие в наладке, а в отдельных случаях самостоятельная наладка новых устройств телемеханики;
а) контроль исправности каналов телемеханики (с точки зрения предъявляемых к ним требований);
о) систематические тренировки персонала по устранению неисправностей в аппаратуре телемеханики. Проведение технической учебы персонала;
п) проведение работ по ретрансляции и трансляции телеинформации на вышестоящий диспетчерский пункт;
р) руководство эксплуатацией устройств телемеханики на контролируемых объектах, закрепленных за местным персоналом;
с) выполнение мероприятий по вводу телеинформации в ЭВМ в части реконструкции аппаратуры телемеханики;
т) обеспечение взаимодействия с персоналом смежных служб в соответствии с положениями настоящей Инструкции;
у) своевременное составление заявок на материалы, запасные части и приборы, необходимые для эксплуатации устройств телемеханики.
3.4. Все работы персонала, занятого эксплуатацией устройств телемеханики, должны проводиться с соблюдением действующих правил техники безопасности, правил технической эксплуатации электрических станций и сетей, правил противопожарной безопасности, ГОСТ, нормативных, директивных документов и положений настоящей Инструкции.
Виды плановых проверок:
а) систематический контроль состояния и опробование действия всех устройств телемеханики;
б) частичная проверка устройств;
в) полная проверка устройств.
Объем, порядок и периодичность проведения плановых проверок для устройств ТМ первого поколения должен соответствовать указаниям раздела II «Инструкции по эксплуатации устройств телемеханики в энергосистемах» («Энергия», 1967).
Для современных устройств телемеханики третьего поколения устанавливается следующая периодичность эксплуатационных проверок.
|
Тип устройства |
Периодичность частичной проверки, мес. |
Периодичность полной проверки, мес. |
|
ТМ511, ТМ512 |
24 |
24 |
|
УТК-1 |
24 |
24 |
|
КУСТ-А, КУСТ-Б |
6 |
24 |
|
ТМВОО-А, ТМ800 |
24 |
24 |
|
ТМ-120 |
24 |
24 |
|
Примечания: 1. Полная и частичная проверки устройств ТМ (кроме КУСТ-А, КУСТ-Б) равномерно чередуются. Через год после ввода в эксплуатацию производится частичная проверка, затем через год - полная и т.д. - 2. Для устройств Тм, расположенных в помещениях с повышенной запыленностью, влажностью и т.п., периодичность проверок может быть уменьшена. |
||
(Измененная редакция. Изм. № 25/87).
Для устройств телемеханики второго поколения периодичность проведения проверок устанавливается в соответствии с рекомендациями завода-изготовителя.
4.1. При обслуживании передающих аппаратов устройств телемеханики на контролируемом пункте службой СДТУ, а первичных датчиков телемеханики службой РЗАИ граница зон обслуживания устанавливается на выводах панелей телемеханики или релейной защиты и утверждается главным инженером предприятия.
4.2. Служба РЗАИ своевременно сообщает службе СДТУ обо всех планируемых изменениях в цепях датчиков телемеханики.
4.3. Служба СДТУ согласовывает с центральной диспетчерской службой (ЦДС) планы развития систем передачи телеинформации и ее отображения, а также обеспечивает ЦДС необходимыми инструкциями по пользованию системами телемеханики.
4.4. НДС немедленно информирует персонал СДТУ о всех случаях нарушения работы систем телемеханики и ведет записи об отказах в журнале релейной защиты автоматики и телемеханики. Отказом устройства считается наличие недостоверной телесигнализации, непрохождение телеинформации ТИ, невыполнение команд ТУ, превышение допустимых погрешностей ТИ, ложная световая и звуковая сигнализация.
4.5. ЦДС не менее чем за две недели ставит в известность службу СДТУ об изменениях в схемах телемеханизированных объектов, которые требуют введения изменений в мнемосхему диспетчерского щита или вывода новой телеизмерительной информации на щит, а также переградуировки шкал приборов пульта.
4.6. В службе СДТУ должны быть определены границы обслуживания, утверждены согласованные графики проверок аппаратуры каналов и устройств телемеханики, а также определен порядок проведения работ, обеспечивающий оперативное устранение возникающих повреждений.
4.7. Персонал, занятый эксплуатацией систем телемеханики, выполняет следующие работы по вводу телеинформации с устройств телемеханики в малые ЭВМ оперативно-информационного комплекса (ОИК):
- реконструкцию устройств телемеханики, находящихся в эксплуатации, с целью вывода необходимой для ЭВМ телеинформации;
- монтаж и наладку плат согласования устройств телемеханики с модулями ЭВМ;
- проведение мероприятий по линеаризации характеристик телеизмеряемых параметров, а также снятие характеристик по каждому параметру, вводимому в ЭВМ ОИК.
4.8. Эксплуатация специальных устройств согласования аппаратуры телемеханики УСТМ с ЭВМ осуществляется персоналом, занятым обслуживанием технических средств ЭВМ ОИК.
Наладочные работы по вводу информации в ЭВМ проводятся совместно с персоналом, занятым обслуживанием технических средств ЭВМ ОИК.
5.1. Систематический контроль за работой устройств телемеханики предусматривает:
- ежедневный внешний осмотр;
- оценку основной погрешности параметров телеизмерения;
- проверку рабочего состояния устройства по «сервисным» блокам.
5.2. Частичная проверка работы устройств телемеханики предусматривает:
- проверку действия защитных узлов, имеющихся в устройстве телемеханики;
- проверку функционирования системы в целом и сопоставление основных осциллограмм, характеризующих работу функциональных узлов с осциллограммами, приведенными в протоколе наладочных работ. Для устройств второго и третьего поколения осциллограммы сопоставляются в случаях отказов устройств телемеханики в объеме, предусмотренном диагностической программой поиска неисправности.
5.3. Точность измерительных преобразователей (датчиков серии Е) и устройств телепередачи информации рекомендуется поддерживать:
- измерительные преобразователи переменного тока, напряжения, активной и реактивной мощности 500 МВт и выше, ВЛ 750 кВ, автотрансформаторов связи мощностью 1000 МВ · А и выше - класса точности не ниже 0,5 - 1,0;
- измерительные преобразователи частоты - класса точности 0,2;
- измерительные преобразователи энергии - класса точности 0,2 - 0,5;
- устройства телепередачи информации - класса точности 0,6 - 1,0.
5.4. За основную приведенную погрешность системы телеизмерения должна приниматься максимальная разность между показаниями воспроизводящего прибора на приемной стороне и действительным значением телеизмеряемой величины, отсчитываемой по образцовому прибору на передающей стороне, отнесенная к диапазону измерения.
5.5. Проверка системы телемеханики выполняется в соответствии с графиком по разрешенной заявке. Непосредственно перед отключением устройства телемеханики для проверки необходимо получить разрешение дежурного диспетчера.
Для устройств ТИ, показания которых ретранслируются на другие пункты управления или вводятся в какие-либо суммирующие вычислительные и управляющие устройства, необходимо предварительно принять соответствующие меры, исключающие неправильное действие этих устройств (переключение цепей, ввод ручных уставок и т.п.). Указанные мероприятия должны быть оговорены в заявке.
5.6. При работах на датчиках ТИ, связанных с цепями измерительных трансформаторов тока и напряжения, необходимо соблюдать особую осторожность, не допуская разрыва токовых цепей и замыкания в цепях напряжения.
Разрешение на эти работы оформляется заявкой.
5.7. В начале проверки производиться сверка показаний приборов ПУ со щитовыми приборами на КП (в рабочей точке шкалы).
5.8. Сопротивление изоляции электрических цепей устройства телемеханики относительно друг друга и корпуса измеряется мегомметром при напряжении, указанном в технических условиях на конкретные устройства, и должно быть не менее 10 МОм.
5.9. Датчики телеизмерительных величин проверяются по контрольным приборам, включаемым в измерительные цепи трансформаторов тока и напряжения, а также на выходе датчика. При проверке определяется погрешность датчика для одного-двух значений измеряемого параметра. Значения тока (напряжения) на выходе датчика сравниваются с расчетными, соответствующими значению измеряемого параметра. При превышении погрешности датчика более допустимых значений необходимо проверить работу отдельных узлов и элементов, руководствуясь заводскими инструкциями и другими материалами.
Примечание. При систематическом контроле сверку показаний систем телеизмерения производить по щитовым приборам. Перед сверкой необходимо убедиться в исправности щитовых приборов.
5.10. Перед вводом в работу проверяемого устройства ТИ необходимо сверить показания приемного прибора на ПУ с показаниями щитового прибора на КП. После этого на КП отключаются все контрольно-измерительные приборы и производится затяжка резьбовых соединений, к которым они были подключены. Убираются рабочие места и закрывается заявка на выполнение проверки. Производитель работ делает запись в эксплуатационном журнале и оформляет протокол проверки. Проверенное устройство сдается дежурному диспетчеру.
5.11. Для объектов, имеющих телеуправление, разрешение на производство работ дается диспетчером после отключения цепей телеуправления соответствующими ключами. Отключение на ДП (ПУ) производит непосредственно диспетчер, на КП по указанию диспетчера - оперативный персонал или производитель работ по проверке.
5.12. В начале проверки производится предварительная оценка состояния устройства для определения стабильности его основных характеристик. Для этого необходимо:
а) проверить правильность прохождения сигналов ТС и вызова ТИ (для трех - четырех объектов);
б) для релейно-контактных устройств измерить ток (напряжение) в линейных цепях устройства на передающей и приемной сторонах, для бесконтактных циклических устройств оценить амплитуду, длительность, искажения импульсных посылок на входе передающего и приемного полукомплектов;
в) опробовать действие автоматики резервирования питания устройства на КП.
Операции по проверке не должны дезинформировать дежурного диспетчера.
5.13. Для проверки производится полное отключение устройств телемеханики на КП и на ДП.
С этой целью диспетчер переводит в положение «ручная сигнализация» ключ устройства телемеханики, расположенный на пульте, и снимает питание ламп диспетчерского щита.
На контролируемом пункте (подстанции, электростанции) персонал службы СДТУ под наблюдением оперативного лица или работника службы РЗАИ размыкает на разъемных зажимах панелей телемеханики общие цепи и все индивидуальные цепи управления и сигнализации, связанные с оперативным током. Оперативное лицо выполняет переключение отключающего устройства цепей ТУ.
На полностью отключенных полукомплектах устройства телемеханики и связанных с ним панелях щита и пульта, источниках питания эксплуатационный персонал выполняет работы в следующем порядке:
а) чистку аппаратуры;
б) проверку исправности механической части аппаратуры и монтажа;
в) чистку контактов, регулировку реле, шаговых искателей;
г) проверку исправности ключей, кнопок, поворотных символов;
д) проверку изоляции монтажа (для устройств телемеханики, элементной базой которых являются интегральные микросхемы МОП структуры, изоляция монтажа проверяется с вынутыми субблоками (платами).
Производится проверка диспетчерского и контролируемого полукомплектов устройств телемеханики, работавших совместно по каналу телемеханики.
Особое внимание обращается на уровни напряжений на блоках питания и в контрольных точках. Форма импульсных сигналов просматривается осциллографом.
Предварительно оцениваются параметры канала телемеханики. Величина искажений не должна превышать 10 % для каналов с одним переприемом и 15 % с двумя переприемами. Желательно обеспечить запас устойчивости до 10 %.
При проведении проверок проверяются характеристики сигналов в контрольных точках и сопоставляются с приведенными осциллограммами в протоколе наладочных работ. Проверяется действие устройства в искусственно создаваемых режимах: перерыв питания, «толчки» по питанию, обрыв канала телемеханики, импульсные помехи в канале и по цепям кодирования, изменение напряжений питания в соответствии с допусками, указанными в технических условиях завода-изготовителя, рассинхронизация генераторов, распределителей.
О правильности действия системы телемеханики судят по приему заданной комбинации сигналов и отсутствию недостоверной информации. В заключение проверки производится опробование индивидуальных входных и выходных цепей устройства путем передачи всего задействованного объема ТИ, ТС, ТУ и вызова ТИ.
Для ввода устройства ТИ - ТС, ТУ - ТС в работу после проверки необходимо восстановить все отключенные цепи питания и индивидуальные цепи сигнализации и управления; снять прокладки, опробовать работу автоматики резервирования питания устройств телемеханики и аппаратуры каналов телемеханики; проверить соответствие телесигнализации на диспетчерском щите истинному положению объектов.
Ответственное лицо за проведение проверки докладывает дежурному диспетчеру об окончании работ, снимает плакаты, установленные в соответствии с правилами ТБ, и с разрешения диспетчера устанавливает соответствующие переключатели в положение «Телеуправление».
В эксплуатационном журнале делается запись об окончании работы, состоянии устройства после проверки. Оформление протокола проверки и внесение необходимых изменений в техническую документацию следует выполнить непосредственно после окончания работы.
5.14. Методика поиска неисправности в системе телемеханики в общем виде характеризуется следующими положениями:
- система телемеханики, выполняющая преобразование, передачу и прием информации, рассматривается как техническая система, о которой можно говорить, исправна она или нет;
- состояние элементов этой системы можно оценить, выполнив ряд проверок в определенной последовательности;
- при последовательном поиске проверки производятся в заранее заданном порядке. Результат каждой проверки анализируется, и, если неисправность не обнаружена, то выполняется следующая по порядку проверка;
- порядок проведения проверок может быть строго фиксированным или же меняться в зависимости от результатов предыдущих проверок.
5.15. Для составления диагностической программы поиска неисправности в аппаратуре телемеханики необходимо:
- изучить нормальное функционирование системы;
- выделить элементы, узлы системы и связи между ними;
- установить возможные состояния системы, т.е. возможные комбинации отказов элементов;
- рассмотреть возможности контроля признаков, характеризующих состояние системы;
- определить закономерности появления отдельных отказов.
В приложении 1 приведены примеры диагностических программ поиска неисправностей в устройствах телемеханики второго и третьего поколений.
6.1. Учет работы всех устройств телемеханики необходим для оценки их состояния, эффективности и качества эксплуатации. Анализ данных учета позволяет совершенствовать применяемую аппаратуру и повышать уровень ее эксплуатации.
6.2. Учету подлежат все случаи неправильного действия и отказы устройств телемеханики.
Неправильные действия, отказы, большая погрешность ТИ записываются диспетчером ЦДС в журнале релейной защиты, автоматики и телемеханики. Правильность действия и состояние устройств телемеханики диспетчер контролирует по лампам и табло диспетчерского пульта и щита, а также приборам ТИ.
6.3. Характер нарушения действия устройств телемеханики классифицируется по следующим признакам:
а) отказ в передаче или получение ложной телесигнализации (с указанием сигнализируемого объекта);
б) отказ в передаче или ложное исполнение команды телеуправления (с указанием управляемого объекта);
в) отказ при вызове телеизмерения;
г) неустойчивые показания приборов ТИ;
д) неправильные показания прибора (с указанием величины расхождения);
е) полный выход из работы устройств телемеханики.
6.4. С целью оценки надежности новых устройств телемеханики второго и третьего поколений, персонал, занятый техническим обслуживанием систем телемеханики, регистрирует отказы этих устройств в карте учета отказов (приложение 2). Данные по отказам следует начинать регистрировать после 100 ч эксплуатации налаженных устройств. Отказы по вине канала телемеханики в приведенной карте не учитываются.
6.5. Следующие нарушения действия устройств телемеханики следует учитывать как непосредственную вину персонала, занятого обслуживанием устройств телемеханики:
а) ошибки персонала при проверках, регулировках устройств телемеханики;
б) несвоевременное устранение выявленных дефектов;
в) ошибки в инструкциях (или отсутствие инструкций) для оперативного персонала, вследствие чего произошло неправильное действие устройства телемеханики.
6.6. Оценка действия и состояния устройств телемеханики производится на основании записей в журнале релейной защиты, автоматики и телемеханики.
Для оценки устанавливаются следующие показатели:
а) число повреждений;
б) число случаев неправильных действий;
в) коэффициент простоя.
Для определения указанных показателей следует пользоваться формулами, приведенными в разделе «Учет и оценка работы устройств телемеханики» («Инструкции по эксплуатации устройств телемеханики в энергосистемах», «Энергия», 1967).
6.7. Показатели работы устройств телемеханики и результаты анализа их эксплуатации сводятся в годовой отчет. К отчетам должны быть приложены карты учета отказов.
7.1. Персонал, занятый техническим обслуживанием систем телемеханики, обязан своевременно и точно отражать в документации все работы, проведенные в процессе технического обслуживания. Документация должна содержать основные технические показатели, позволяющие выполнить сравнительную оценку надежности, оперативности и качества обслуживания аппаратуры телемеханики.
7.2. Документация включает в себя:
- техническую документацию по устройствам телемеханики;
- эксплуатационную документацию;
- инструктивные материалы;
- отчетную документацию.
7.2.1. Техническая документация по устройствам телемеханики:
- заводские описания устройств с принципиальными, функциональными и монтажными схемами;
- рабочие схемы, выполненные проектной организацией с изменениями, внесенными в них в процессе наладки и эксплуатации;
- принципиальные схемы каналов телемеханики с указанием типа аппаратуры уплотнения, несущих частот, номеров пар в боксах связи, уровней сигналов ТУ, ТС - ТИ.
7.2.2. Эксплуатационная документация:
- журнал релейной защиты, автоматики и телемеханики, который находится на диспетчерском пункте и служит основным документом для учета работы устройств телемеханики. Дежурный диспетчер отмечает в журнале время и характер повреждения или отказа устройства телемеханики; эксплуатационный персонал указывает время ликвидации повреждений с указанием причины (устройство телемеханики, канал телемеханики, питание и т.п.);
- карта учета отказов устройств телемеханики, в которой эксплуатационный персонал делает запись о причинах нарушений (если это связано с повреждением или сбоями);
- технический паспорт, который содержит технические данные, характеризующие состояние аппаратуры. Протокол наладки устройства телемеханики, составленный при вводе устройства в эксплуатацию, является неотъемлемой частью технического паспорта. В паспорте отмечаются даты и содержание эксплуатационных проверок, проводимых в плановом порядке, а также фиксируются все имевшие место неисправности устройства телемеханики и приводятся диагностические программы поиска неисправностей, составленные обслуживающим персоналом.
8.1. Нормальная работа энергетических систем возможна только при наличии надежных средств диспетчерского и технологического управления, в состав которых входят системы телемеханики. В связи с этим к уровню технической подготовки производственного персонала, осуществляющего техническую эксплуатацию средств телемеханики энергетических систем, предъявляются высокие требования.
8.2. На каждом предприятии энергосистемы должны быть организованы техническая учеба, проверка знаний и допуск к работе эксплуатационного персонала.
8.3. Настоящей Инструкцией отменяются требования по проверке знаний, указанные в п. 2.10. «Инструкция по проверке знаний технического минимума производственного персонала, обслуживающего средства диспетчерского и технологического управления энергосистем» («Типовые положения и инструкция по организации и технической эксплуатации средств диспетчерского и технологического управления в энергосистемах», БТИ ОРГРЭС, 1967).
8.4. Техническая учеба персонала, занятого эксплуатацией устройств телемеханики, организуется в энергосистемах централизованно. Самостоятельное систематическое изучение технической литературы и заводской информации по основным типам устройств телемеханики, находящимся в эксплуатации, является элементом повышения квалификации ИТР.
8.5. При составлении программы технической подготовки эксплуатационного персонала энергосистемы рекомендуется пользоваться программой-вопросником (приложение 3) с уточнением применительно к типам оборудования, имеющегося в данной энергосистеме.
8.6. Проверка знаний инженерно-технического и монтерского персонала, занятого эксплуатацией устройств телемеханики, должна производиться с учетом занимаемой должности, специализации применительно к оборудованию и устройствам, которые обслуживает проверяемый работник.
8.7. Допуск персонала к техническому обслуживанию возможен только после проверки знаний по основам телемеханики, правилам ремонта блоков аппаратуры (приложение 4), принципам действия и схемам установленных устройств телемеханики, назначению и условиям работы аппаратуры. Лица, допускаемые к самостоятельному обслуживанию устройств телемеханики, должны иметь IV квалификационную группу по ПТБ.
Проверка знаний производится комиссией под руководством:
а) для монтерского персонала - начальника службы (СДТУ) или его заместителя;
б) для инженерно-технических работников - главного инженера предприятия (управления) или его заместителя, или начальника службы СДТУ.
В состав комиссии должен быть включен представитель службы РЗАИ.
8.8. Программа проверки знаний должна составляться местным персоналом, согласовываться с вышестоящей службой СДТУ и утверждаться главным инженером предприятия. В основу программы должны быть положены знания положений настоящей Инструкции.
ПРИМЕРЫ ДИАГНОСТИЧЕСКИХ ПРОГРАММ ПОИСКА НЕИСПРАВНОСТЕЙ В УСТРОЙСТВАХ ТЕЛЕМЕХАНИКИ ВТОРОГО И ТРЕТЬЕГО ПОКОЛЕНИЙ
К устройствам телемеханики первого, второго, третьего и четвертого поколений относятся:
Первое поколение:
- устройства телемеханики ТУ - ТС, ВТИ, в которых распределители импульсов выполнены на базе шаговых искателей или реле (ВРТ-53, УТМ-1, УТБ-3 и т.п.);
- системы телеизмерения частотные, частотно-импульсные, выполненные на электронных лампах (ТНЧ-56, ОРГРЭС - Электропульт, ЧИС и т.п.);
- датчики с индукционными, емкостными преобразователями (ВАПИ, ВАПЕ и т.п.).
Второе поколение:
- устройства телемеханики всех типов, основные узлы в которых выполнены на базе транзисторных, магнитных и прочих бесконтактных элементов, за исключением интегральных микросхем.
Третье поколение:
- устройства телемеханики, основные узлы в которых выполнены на базе интегральных микросхем, а также датчики серии Е Витебского завода измерительных приборов.
Четвертое поколение:
- системы устройств, выполненные на базе микропроцессоров.
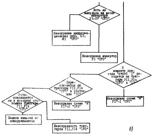
На рис. 1 - 7 приведены примеры диагностических программ поиска неисправностей в устройствах телемеханики ВРТФ-3, УТК-1, КУСТ-А, МКТ-1, МКТ-2, ТМ-512.

Рис. 1. Диагностическая программа поиска неисправности в устройстве телемеханики ВРТФ-3:
а - полукомплект КП; б - полукомплект ДП


Рис. 2. Диагностическая программа поиска неисправности в устройстве телемеханики
а - вариант 1; б - вариант 2


Рис. 3. Диагностическая программа поиска неисправности в устройстве телемеханики УТК-1:
а - полукомплект КП; б - полукомплект ДП (вариант 1); в - полукомплект ДП (вариант 2)


Окончание рис. 3

Рис. 4.
Диагностическая программа поиска неисправности в устройстве телемеханики
КУСТ-А (полукомплект ДП):
а - вариант 1; б - вариант 2; в - вариант 3


Продолжение рис. 4

Окончание рис. 4

Рис. 5.
Диагностическая программа поиска неисправности в устройстве телемеханики
МКТ-1 (полукомплект ДП)


Рис. 6.
Диагностическая программа поиска неисправности в устройстве
телемеханики МКТ-2 (аппарат ПУ)


Рис. 7.
Диагностическая программа поиска неисправности в аппаратуре
телемеханики ТМ-512:
а - аппарат ПУ; б - полукомплект КП. (вариант 1); в - полукомплект КП (вариант 2).

Окончание рис. 7
КАРТА УЧЕТА ОТКАЗОВ УСТРОЙСТВ ТЕЛЕМЕХАНИКИ
|
_______________________________________________________________________ Энергоуправление, предприятие _______________________________________________________________________ объект, наименование устройства _______________________________________________________________________ Год месяц день час _______________________________________________________________________ функциональный узел, элемент _______________________________________________________________________ дополнительная характеристика _______________________________________________________________________ Условия работы ________________________________________________________________________ Изготовитель Год изготовления Заводской номер ________________________________________________________________________ Характер отказа _______________________________________________________________________ Причина отказа Сопутствующие обстоятельства _______________________________________________________________________ данные о наработке _______________________________________________________________________ время поиска повреждения время восстановления Трудоемкость, чел.-ч _______________________________________________________________________ Главный инженер предприятия |
ПРОГРАММА-ВОПРОСНИК ПРОВЕРКИ ЗНАНИЙ ЭКСПЛУАТАЦИОННОГО ПЕРСОНАЛА, ЗАНЯТОГО ЭКСПЛУАТАЦИЕЙ ТЕЛЕМЕХАНИКИ
1. Виды средств диспетчерского и технологического управления и их назначение.
2. Обязанности персонала.
3. Обязанности данного работника в соответствии с закрепленными объектами и аппаратурой телемеханики.
4. Структура средств телемеханики в диспетчерском управлении.
5. Ведение технической документации эксплуатационным персоналом.
6. Порядок работы на действующих устройствах телемеханики.
7. Работы в цепях релейной защиты, телеуправления, телесигнализации, телеизмерений.
8. Особенности проверки телесумматоров мощности и устройств телеизмерения со вызову.
9. Обслуживание приемных указывающих и регистрирующих приборов.
10. Координация работ персонала, занятого обслуживанием устройств телемеханики и каналов телемеханики. Технические требования к каналам телемеханики.
11. Отыскание повреждений в системе передачи телеинформации. Принцип действия, функциональная, принципиальная схемы устройства телемеханики.
12. Проверка элементов аппаратуры устройств телемеханики.
13. Порядок проведения проверок устройств телемеханики и систематического контроля.
14. Учет и оценка работы устройств телемеханики, составление годовых отчетов по эксплуатации устройств телемеханики.
15. Границы обслуживания и взаимоотношения со смежными службами.
16. Проверка источников питания, изоляции, монтажа и внешних цепей на контролируемых и диспетчерских пунктах.
17. Требования к каналам телемеханики, схемам ретрансляции и представлению информации в ЭВМ.
18. Требования к высоковольтным выключателям, АПВ, схемы их управления и сигнализации.
ПРОВЕРКА И РЕМОНТ МОДУЛЯ, ПЛАТЫ, СУББЛОКА
Ремонт в техническое обслуживание устройств на интегральных микросхемах должны производиться в соответствии с руководящим техническим материалом на элементную базу.
В каждом модуле проверяют качество пайки. Для этого (в устройствах второго поколения) выводы деталей схемы (триодов, диодов, конденсаторов) следует потрогать пинцетом. Плохо пропаянные выводы вытягиваются из отверстий. Такие детали нужно вновь тщательно залаять. Чаще всего, как показывает практика, плохо пропаяны «ножки» транзисторов.
При пайке полупроводниковых приборов необходимо придерживать запаиваемый вывод пинцетом, а не рукой. Инструмент в данном случае выполняет роль теплоотвода.
Затем проверяют место пайки ножей разъема модуля в дорожки печатного монтажа. Для этого один вывод тестера следует поставить на проверяемый нож, а другой на любую пайку связанной с ним дорожки, кроме их общей пайки (иначе при нажиме наконечником провода на проверяемую пайку временно может восстановиться отсутствующий контакт).
Все модули покрыты лаком. Поэтому наконечники прибора и концов к осциллографу должны быть острыми (иголки), чтобы прокалывать пленку.
Контакт может отсутствовать из-за микротрещины, возникающей иногда в дорожке печатного монтажа возле пайки. В этом случае участки дорожки, разделенные микротрещиной, зачищают скальпелем или острым лезвием до блеска и спаивают одной-двумя жилками из гибкого многожильного монтажного провода. Жилки нужно класть непосредственно на плоскость дорожки, чтобы восстанавливаемый участок имел высоту, не выходящую за габаритные размеры модуля.
С печатным монтажом нужно обращаться осторожно, зачищать дорожку для пайки аккуратно, чтобы не порезать ее. Следует помнить, что при многократном или длительном нагревании дорожка печатного монтажа может отстать от платы. Во избежание этого в одном и том же месте паять нужно возможно меньшее число раз. Непосредственно на место пайки необходимо положить кусочек канифоли. При паянии она расплавится и образует канифольную жидкую ванну, которая защищает место пайки от перегрева. После запаивания канифоль легко скалывается пинцетом. Паять следует только хорошо прогретым паяльником мощностью не более 50 Вт.
Печатный монтаж каждого модуля проверяют также на отсутствие замыкания между дорожками в тех местах, где дорожки имеют уширения, близко подходящие друг к другу. При этом следует пользоваться увеличительным стеклом. В подозрительно близко подходящих дорожках уширения следует срезать скальпелем. Таким же образом подрезают дорожки, расположенные слишком близко к металлическому корпусу модуля.
Затем модуль со стороны печатного монтажа покрывают тонким слоем прозрачного цапов-лака. Лак предохраняет пайки от окисления.
Перед установкой модуля в блок нужно проверить, не касаются ли друг друга элементы модуля - диоды, триоды, резисторы и т.п. При установке модуля в блок нужно следить, чтобы модуль каждого типа попал на свое место.