Скачать РД 34.47.610-77 Руководство по капитальному ремонту масляного выключателя У-220-1000/2000-25 УIДата актуализации: 01.01.2021
|
| Обозначение: | РД 34.47.610-77 |
| Обозначение англ: | RD 34.47.610-77 |
| Статус: | действует |
| Название рус.: | Руководство по капитальному ремонту масляного выключателя У-220-1000/2000-25 УI |
| Название англ.: | Guide to Overhaul of Oil Switch U-220-1000/2000-25 UI |
| Дата добавления в базу: | 01.09.2013 |
| Дата актуализации: | 01.01.2021 |
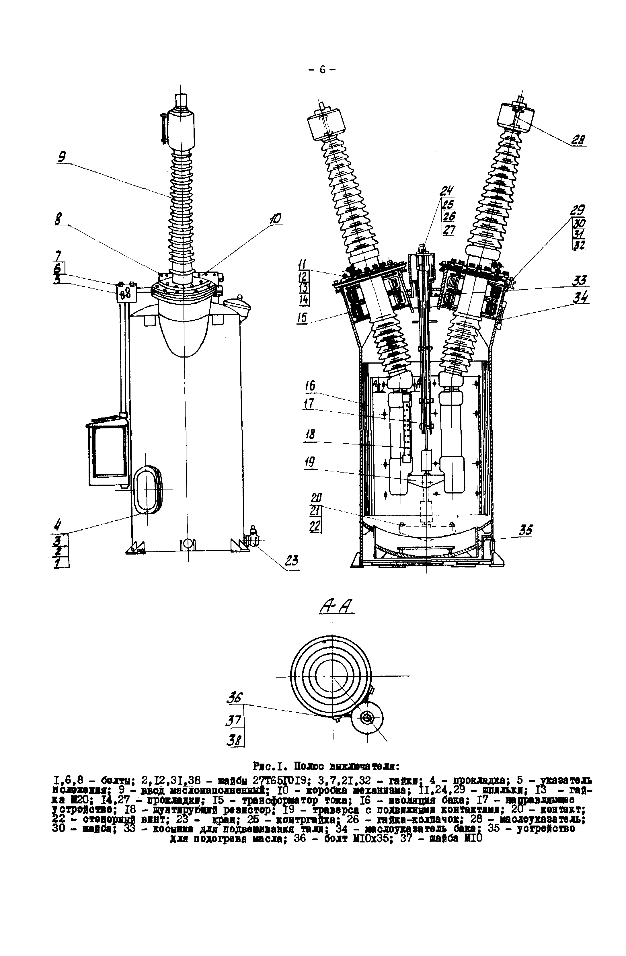
| Оглавление: | 1. Введение 2. Организация ремонта 3. Наружный осмотр и подготовка выключателя к разборке 4. Разборка выключателя 5. Технические требования на дефектацию и ремонт деталей общего применения 6. Технические требования на дефектацию и ремонт сборочных единиц и деталей выключателя 7. Сборка выключателя 8. Регулирование выключателя 9. Регулирование привода 10. Проверка и испытания Приложение 1. Перечень применяемых инструментов и приспособлений Приложение 2. Перечень применяемых приборов Приложение 3. Нормы расхода запасных частей на капитальный ремонт выключателя Приложение 4. Нормы расхода материалов на капитальный ремонт выключателя Приложение 5. Ведомость основных показателей технического состояния выключателя после капитального ремонта |
| Разработан: | ЦКБ Энергоремонт |
| Утверждён: | 10.01.1977 Главэнергоремонт (Glavenergoremont ) |
| Принят: | 31.10.1977 НИИ ПО Уралэлектротяжмаш |
| Издан: | СПО Союзтехэнерго (1981 г. ) |






























