Скачать РД 34.40.507 Типовая инструкция по эксплуатации автоматизированных деаэрационных установок подпитки теплосетиДата актуализации: 01.01.2021
|
| Обозначение: | РД 34.40.507 |
| Обозначение англ: | RD 34.40.507 |
| Статус: | действует |
| Название рус.: | Типовая инструкция по эксплуатации автоматизированных деаэрационных установок подпитки теплосети |
| Название англ.: | Model Guidelines for Operation of Piped Heat Distribution System Feed Water Deaeration Units |
| Дата добавления в базу: | 01.09.2013 |
| Дата актуализации: | 01.01.2021 |
| Дата введения: | 01.01.1985 |
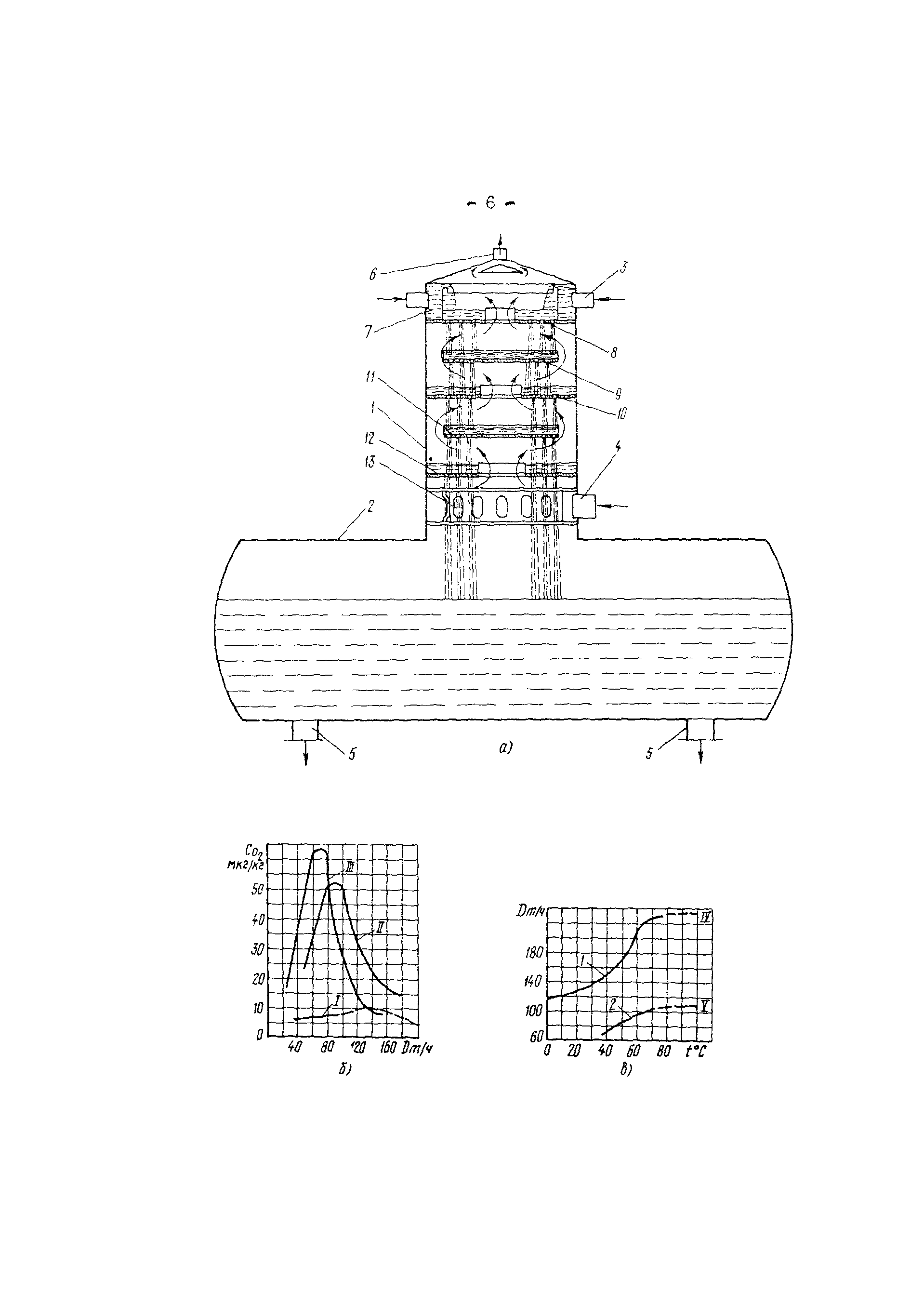
| Область применения: | Инструкция распространяется на автоматизированные деаэрационные установки с вакуумными струйно-барботажными деаэраторами и атмосферными деаэраторами со струйными и струйно-барботажными колонками, работающими на постоянных среднесуточных гидравлических нагрузках при равномерном распределении потоков воды и пара между всеми параллельно работающими деаэраторами, объединенными групповым регулированием режима деаэрации. |
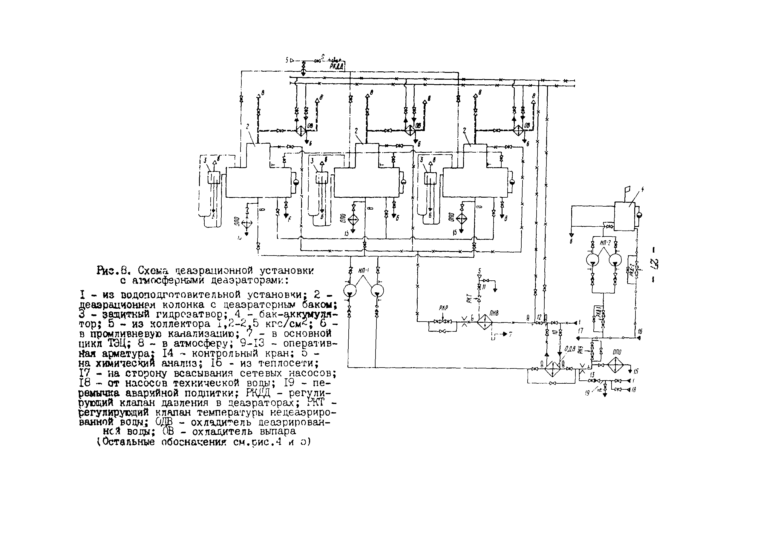
| Оглавление: | 1 Общие положения 2 Предохранительные устройства и меры безопасности при эксплуатации деаэрационных установок 3 Деаэрационные установки с вакуумными деаэраторами 4 Деаэрационная установка с атмосферными деаэраторами Приложение 1 Автоматизация, сигнализация и АВР деаэрационных установок Приложение 2 Мероприятия по реконструкции вакуумных деаэраторов ДВ-400, ДВ-800 и ДВ-1200 Приложение 3 Условные обозначения Приложение 4 Рекомендации по наладке вакуумных деаэраторов |
| Разработан: | Сибтехэнерго |
| Утверждён: | 13.07.1984 Минэнерго СССР (USSR Minenergo ) |
| Издан: | СПО Союзтехэнерго (1985 г. ) |
| Список изменений: |
|
| Нормативные ссылки: |












































