МИНИСТЕРСТВО ЭНЕРГЕТИКИ И ЭЛЕКТРИФИКАЦИИ СССР
ГЛАВНОЕ ТЕХНИЧЕСКОЕ УПРАВЛЕНИЕ ПО ЭКСПЛУАТАЦИИ ЭНЕРГОСИСТЕМ
ТИПОВАЯ ИНСТРУКЦИЯ
ПО ЭКСПЛУАТАЦИИ АВТОМАТИЗИРОВАННЫХ
ДЕАЭРАЦИОННЫХ УСТАНОВОК
ПОДПИТКИ ТЕПЛОСЕТИ
ТИ 34-70-032-84

СОЮЗТЕХЭНЕРГО
Москва 1985
РАЗРАБОТАНО предприятием «Сибтехэнерго»
ИСПОЛНИТЕЛЬ А.М. БРАВИКОВ
УТВЕРЖДЕНО Главным техническим управлением по эксплуатации энергосистем 13.07.84 г.
Заместитель начальника Д.Я. ШАМАРАКОВ
|
ТИПОВАЯ ИНСТРУКЦИЯ ПО ЭКСПЛУАТАЦИИ АВТОМАТИЗИРОВАННЫХ ДЕАЭРАЦИОННЫХ УСТАНОВОК ПОДПИТКИ ТЕПЛОСЕТИ |
ТИ 34-70-032-84 Вводится впервые |
Срок действия установлен
с 01.01.85 г.
до 01.01.95 г.
Настоящая Типовая инструкция распространяется на автоматизированные деаэрационные установки с вакуумными струйно-барботажными деаэраторами и атмосферными деаэраторами со струйными и струйно-барботажными колонками, работающими на постоянных среднесуточных гидравлических нагрузках при равномерном распределении потоков воды и пара между всеми параллельно работающими деаэраторами, объединенными групповым регулированием режима деаэрации.
Типовая инструкция устанавливает требования к эксплуатации деаэрационных установок подпитки теплосети.
Типовая инструкция является основой при составлении местной инструкции и обязательна для инженерно-технического персонала электростанций и отопительно-производственных котельных, разрабатывающего местные инструкции.
1.1. Деаэраторы подпитки теплосети предназначены для удаления из подпиточной воды коррозионно-активных газов - кислорода и свободной углекислоты.
1.2. Деаэрационная установка состоит из:
- подогревателя недеаэрированной воды;
- деаэрационных колонок-деаэраторов;
- подпиточных насосов;
- подпорного бака подпиточных насосов.
Роль подпорных баков, как правило, выполняют аккумуляторные баки теплосетей или деаэраторные баки атмосферных деаэраторов, а также в некоторых установках с вакуумными деаэраторами специально установленные для этой цели баки;
- средств автоматического регулирования, обеспечивающих автоматическое поддержание режима деаэрации и подпитки теплосети (приложение 1);
- индивидуальных для каждого вакуумного деаэратора газоотсасывающих устройств;
- индивидуального для каждого атмосферного деаэратора охладителя выпара;
- охладителя деаэрированной воды в установках с атмосферными деаэраторами.
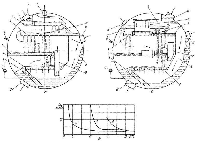
1.3. Технические (проектные) характеристики деаэраторов (рис. 1 - 3) приведены в табл. 1.
а -
выпускаемые с 1976 г.; б - выпущенные в период 1968 - 1976 гг. и
реконструированные;
в - опытные данные зависимостей остаточного содержания кислорода в
деаэрированной
воде от нагрева воды в деаэраторе;
1 - цилиндрический горизонтальный корпус; 2 - 5 - дырчатые струйные тарелки; 6
- барботажная тарелка;
7 - секционирующий порог; 8 - испарительный отсек; 9 - водоотводящий канал; 10
- пароперепускной
клапан; 11 - водоперепускной короб; 12 - патрубок подвода воды на деаэрацию; 13
- патрубок подвода
теплоносителя; 14 - патрубок отвода выпара; 15 - патрубок отвода деаэрированной
воды; 16 и 17 -
датчики измерения температуры в отсеке и уровня воды, используемые при наладке
деаэратора;
18 - отверстие в перегородке между секциями деаэратора ДВ-800 и ДВ-1200;
I - для деаэратора ДВ-400, выпущенного в период 1968 -
1976 гг., испытанного на ТЭЦ Горьковского
автозавода; максимальная производительность деаэратора 500 т/ч при температуре
недеаэрированной
воды 30 °С; II - для деаэратора ДВ-800, выпущенного в период 1968 -
1976 гг., испытанного на
Усть-Каменогорской ТЭЦ. Максимальная производительность деаэратора 800 т/ч при
температуре
недеаэрированной воды 30 °C; II - для деаэратора ДВ-400, выпущенного после 1976 г.,
испытанного в
тепловых сетях г. Курска
Рис. 2. Атмосферный деаэратор со струйной колонкой:
а -
конструкция деаэратора; б - зависимости остаточного содержания кислорода
в деаэрированной воде
от расхода воды в деаэратор для колонки БКЗ производительностью 200 т/ч; в
- зависимости предельной
производительности деаэратора от температуры недеаэрированной воды, поступающей
в деаэратор;
1 - деаэрационная колонка; 2 - деаэраторный бак; 3 и 4 - патрубки подвода воды
и пара; 5 и 6 - патрубки
отвода деаэрированной воды и паровоздушной смеси; 7 - водораспределительное
устройство;
8 - 12 - струйные тарелки; 13 - парораспределительное устройство; температура
недеаэрированной воды,
поступающей в деаэратор: I - 97 °С; II - 67 °С и III -
40 °С; IV и V - колонки БКЗ производительностью
200 и 100 т/ч; - - - - предполагаемый характер протекания процесса
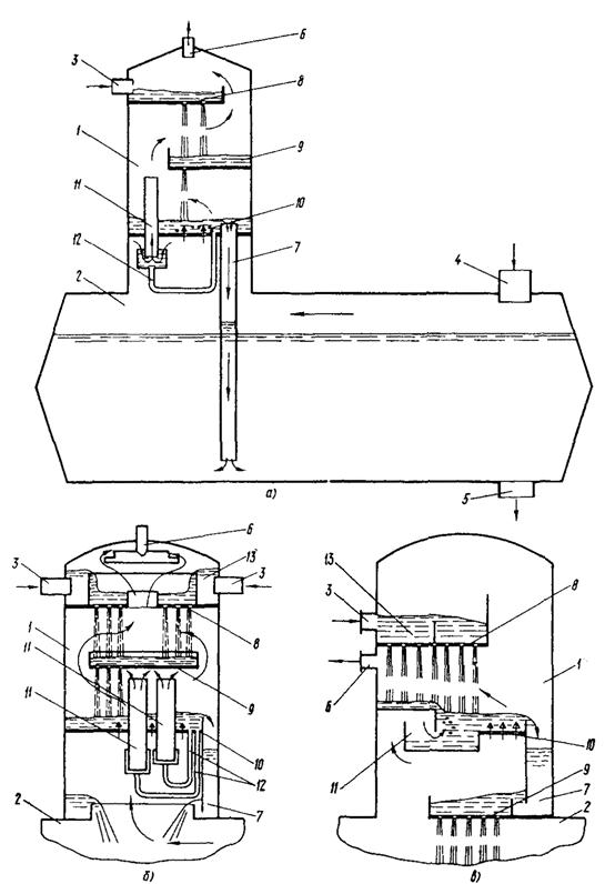
Рис. 3. Атмосферные деаэраторы со струйно-барботажной колонкой производительностью:
а - от 50 до
100 т/ч; б - от 200 до 300 т/ч; в - от 75 до 300 т/ч;
1 - деаэрационная колонка; 2 - деаэраторный бак; 3 и 4 - патрубки подвода воды
и пара;
5 и 6 - патрубки отвода деаэрированной воды и паровоздушной смеси; 7 -
водосливной гидрозатвор;
8 и 9 - струйные тарелки; 10 - барботажная тарелка; 11 - пароперепускной
клапан;
12 - водозаливная труба; 13 - водораспределительное устройство
Таблица 1
|
Вакуумные деаэраторы (рис. 1, а и б) |
Атмосферные деаэраторы с колонкой |
|||
|
струйной (рис. 2) |
струйно-барботажной |
|||
|
(рис. 3, а и б) |
(рис. 3, в) |
|||
|
Диапазон производительности, % номинальной производительности |
30 - 120 |
30 - 100 |
30 - 120 |
30 - 150 |
|
Температура воды, поступающей на деаэрацию, при номинальной производительности, °С |
25 - 55 |
64 - 99 |
54 - 94 |
44 - 94 |
|
Минимальный и максимальный нагревы воды в деаэраторе при номинальной производительности, °С |
15 - 25 |
5 - 40 |
10 - 50 |
10 - 60 |
|
Температура деаэрированной воды, °С |
40 - 60 |
104 |
104 |
104 |
|
Температура перегретой воды, °С |
65 - 180 |
- |
- |
- |
|
Удельный расход выпара, кг/т |
- |
2,0 |
2,0 |
1,5 |
|
Примечания: 1. Удельный расход выпара для вакуумных деаэраторов не лимитирован, так как они оборудованы встроенным охладителем выпара. 2. Под производительностью деаэратора понимается суммарный расход всех потоков воды, поступающих в деаэратор для деаэрации, и сконденсировавшегося в них пара при обеспечении требуемого качества деаэрированной воды. 3. Вакуумный деаэратор, выпускавшийся в период с 1968 г. по 1976 г., реконструирован по разработкам Сибтехэнерго (см. приложение 2). |
||||
1.4. Содержание растворенных газов в подпиточной воде теплосетей (на стороне нагнетания подпиточного насоса перед вводом в обратный коллектор теплосети), согласно нормам ПТЭ, не должно превышать значений, приведенных в табл. 2.
Таблица 2
|
Значение показателя (мг/кг) при максимальной температуре сетевой воды в установках источника тепла, °С |
|||
|
75 и ниже |
75 - 150 вкл. |
Св. 150 - 200 |
|
|
Растворенный кислород |
0,1 |
0,05 |
0,03 |
|
Свободная углекислота |
Отс. |
||
Остаточное содержание свободной углекислоты за деаэратором (если в нормально работающем деаэраторе не происходит полного ее удаления) устраняется путем подщелачивания подпиточной воды.
1.5. Деаэраторы подпитки теплосети один раз в год должны подвергаться внутреннему осмотру через съемные люки, а при необходимости текущему ремонту и чистке деаэрирующих элементов.
1.6. Условные обозначения элементов схем приведены в приложении 3.
2.1. Деаэраторы атмосферного типа должны подвергаться испытанию и техническому освидетельствованию по нормам Госгортехнадзора СССР.
Измененная редакция. Изм. № 1.
2.2. В качестве защитных устройств от недопустимого повышения давления и от переполнения водой в атмосферных и вакуумных деаэраторах применяются гидравлические затворы.
2.3. Давление срабатывания гидрозатвора в атмосферных деаэраторах 0,15 МПа (1,5 кгс/см2), максимально допустимое давление в деаэраторе при работе гидрозатвора 0,17 МПа (1,7 кгс/см2).
2.4. При сливе деаэрированной воды из вакуумного деаэратора в бак атмосферного давления самотеком установка защитных гидравлических затворов не требуется, так как роль защитного затвора выполняет сливной трубопровод. При этом запорная и регулирующая арматура на сливном трубопроводе должна отсутствовать.
2.5. Атмосферные и вакуумные деаэраторы перед включением в работу после монтажа и ремонта, связанного с восстановлением плотности деаэратора, а также по мере необходимости должны подвергаться гидравлическому испытанию избыточным давлением 0,2 МПа (2,0 кгс/см2), но не реже чем через каждые 8 лет.
2.6. Подпорные баки должны быть оборудованы переливной трубой для защиты от переполнения и выравнивания давления внутри и снаружи бака. Пропускная способность переливной трубы должна быть не менее пропускной способности всех труб, подводящих воду к баку. Сечение вестовой трубы для баков атмосферного давления должно обеспечивать свободное поступление в бак и свободный выпуск из бака воздуха, исключающие образование вакуума при откачке воды из бака и повышение давления выше атмосферного при заполнении бака.
2.7. Баки-аккумуляторы должны иметь антикоррозионную защиту, которая может быть осуществлена с помощью:
- герметизирующей жидкости АГ-4 (герметика);
- различных покрытий внутренней поверхности баков;
- катодной защиты.
2.8. Ежегодно определяется состояние баков-аккумуляторов и пригодность их к дальнейшей эксплуатации в соответствии с противоаварийным циркуляром № Ц-08-82 (Т) «О предотвращении внезапных разрушений металлических баков-аккумуляторов горячей воды» (М.: СПО Союзтехэнерго, 1984).
2.9. Деаэрационные колонки, баки, трубопроводы, а также их фланцевые соединения и арматура должны иметь тепловую изоляцию. Температура поверхности изоляции при температуре окружающего воздуха 25 °С не должна превышать 45 °С. Поврежденная изоляция должна своевременно восстанавливаться. Вакуумные деаэраторы и трубопроводы обвязки следует изолировать после проверки их плотности.
2.10. Площадки обслуживания деаэрационной установки и лестницы должны быть в исправном состоянии, чистыми, сухими и не должны загромождаться посторонними предметами.
2.11. Деаэрационная установка должна иметь рабочее и аварийное освещение в соответствии с действующими «Правилами устройства электроустановок».
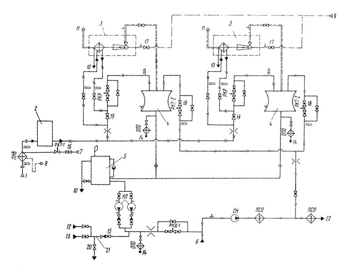
3.1.1. В установке (см. рис. 4) деаэрированная вода сливается в бак-аккумулятор самотеком. Для этого вакуумные деаэраторы устанавливаются выше бака-аккумулятора более чем на 10,0 м, а гидравлическое сопротивление сливного трубопровода при этом должно быть незначительным и не вызывать переполнения деаэраторов водой.
Рис. 4. Схема деаэрационной установки с вакуумными деаэраторами со свободным сливом деаэрированной воды в аккумуляторный бак:
ПНВ - подогреватель недеаэрированной воды; ОПО - охладитель
пробоотборника; ПСО и ПСП - подогреватели сетевой воды основной и пиковый;
НП - насос подпитки теплосети; НС - насос сетевой; РКТ-1 - регулирующий клапан
температуры недеаэрированной воды;
РКТ-2 - регулирующий клапан температуры деаэрированной воды на выходе из
деаэратора; РКР - регулирующий клапан расхода;
РКД - регулирующий клапан давления на стороне всасывания сетевых насосов: 1 -
из городского водопровода; 2 - водоподготовительная установка;
3 - паровой эжектор ЭП-3-25/75; 4 - вакуумный деаэратор; 5 - аккумуляторный
бак; 6 - из теплосети; 7 - из коллектора 1,2 - 2,5 кгс/см2;
8 - в основной цикл ТЭЦ; 9 - из коллектора 6,0 - 10,0 кгс/см2; 10 -
в промливневую канализацию; 11 - в атмосферу; 12 - из водоподготовительной
установки;
13 - от насосов технической воды; 14 - на химический анализ; 15 - 19 -
оперативная арматура; 20 - контрольный кран; 21 - перемычка аварийной подпитки;
22 - в теплосеть
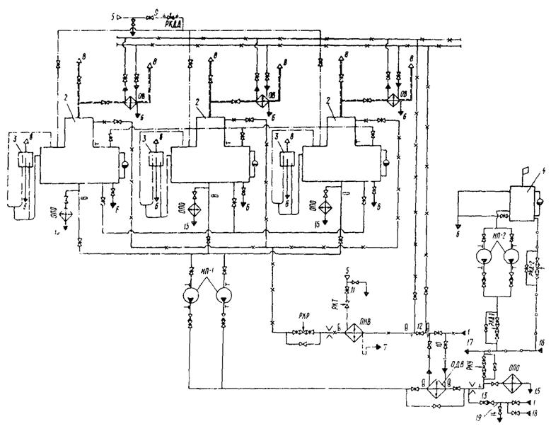
3.1.2. В установках (см. рис. 5 и 6) вся выходящая из деаэраторов вода непосредственно подается на сторону всасывания насоса подпитки теплосети. При этом при малом водоразборе излишки воды теплосети сбрасываются в бак-аккумулятор, а при большом водоразборе вода из бака подается в теплосеть. Такие схемы применяются при малой высоте установки вакуумных деаэраторов или при значительном удалении баков-аккумуляторов от вакуумных деаэраторов.
Рис. 5. Схема деаэрационной установки с вакуумными деаэраторами с атмосферным подпорным баком и выносным баком-аккумулятором:
1 - 22 - см. рис. 4; 23 - подпорный бак НП-1, НП-2 - насосы подпитки
теплосети от вакуумных деаэраторов и от аккумуляторных баков;
РКУ - регулирующий клапан уровня в подпорном баке; РКД-1 и РКД-2 - регулирующие
клапаны давления на стороне всасывания сетевых насосов.
(Остальные обозначения см. рис. 4)
Рис. 6. Схема деаэрационной установки с вакуумным деаэратором, вакуумным подпорным баком и выносным баком-аккумулятором (а) и защитного гидрозатвора (б).
1 - 21 - см. рис. 4; 22 - защитный гидрозатвор; 23
- на стороне всасывания сетевых насосов; 24 - вакуумный подпорный бак;
ППВ - подогреватель перегретой воды. (Остальные обозначения см. рис. 4 и 5)
3.1.3. В установке (см. рис. 6) в качестве греющей среды деаэратора используется деаэрированная вода, взятая со стороны нагнетания подпиточных насосов и подогретая в специально выделенном для этой цели подогревателей. Такая установка по сравнению с установками (см. рис. 4 и 5) в переменных режимах оказывает меньшее влияние на режим работы тепловых сетей, так как в ней прямая сетевая вода не используется в качестве греющей среды.
3.2.1. Перед пуском деаэрационной установки необходимо осмотреть ее и убедиться в выполнении требований пп. 2.9 - 2.12, а также в том, что отключающие заглушки, установленные на период ремонта, из фланцевых соединений трубопроводов удалены.
3.2.2. Контрольные краны на импульсных трубопроводах к приборам установить в рабочее положение.
3.2.4. Дать заявку на сборку электрических схем питания электроприводов запорно-регулирующей арматуры, КИП и насосов.
3.2.5. Дать заявку на подготовку к работе водоподготовительной установки.
3.2.6. В установке (см. рис. 6) заполнить защитный гидрозатвор водой.
3.2.8. Подготовить к работе подогреватель недеаэрированной воды; собрать схемы отвода из подогревателя конденсата, греющего пара и неконденсирующихся газов. Для схемы рис. 6 подготовить к работе подогреватель перегретой воды.
3.2.9. Для установок (см. рис. 5 и 6) проверить наличие смазки подшипников подпиточных насосов НП-1.
3.2.10. Убедиться в закрытии следующих задвижек:
- на линии опорожнения подпорного бака;
- на байпасах регулирующих клапанов;
- на паропроводе перед эжектором;
- на трубопроводе охлаждающей воды перед эжектором и помимо эжектора;
- на трубопроводе перегретой воды перед деаэратором после регулирующего клапана - РКТ-2 (задвижка 18);
- для установок (см. рис. 5 и 6) на напоре подпиточных насосов НП-1;
- на паропроводе перед подогревателем недеаэрированной воды.
3.2.11. Закрыть регулирующие клапаны РКТ-1, РКТ-2, а для установок (см. рис. 5 и 6) дополнительно закрыть РКУ.
3.2.12. Проверить открытие следующих задвижек:
- на отсосе паровоздушной смеси из деаэратора;
- на охлаждающей воде после эжектора;
- отключающих регулирующие клапаны РКР, РКТ-2 (до и после регулирующих клапанов, кроме задвижки 18);
- отключающих регулирующий клапан РКУ для установок (см. рис. 5 и 6);
- для установок (см. рис. 5 и 6) на стороне всасывания подпиточных насосов НП-1;
- на перемычке аварийной подпитки 21 (задвижка 15).
Деаэраторы, входящие в состав одной деаэрационной установки, как правило, пускаются последовательно, однако при необходимости они могут пускаться одновременно.
3.3.1. Предупредить персонал водоподготовительной установки о начале пуска деаэрационной установки.
3.3.2. Включить в работу эжектор, для этого необходимо выполнить следующие операции:
а) открыть задвижку на охлаждающей воде перед эжектором;
б) открытием регулирующего клапана РКР на недеаэрированной воде подать охлаждающую воду через эжектор в количестве 100 - 160 т/ч;
в) плавно открывая задвижку 17 на паропроводе перед эжектором, в течение 10 - 15 мин поднять давление перед соплами эжектора до номинального значения 0,60 МПа (6,0 кгс/см2);
г) создать вакуум в деаэраторе 95 - 97 %.
3.3.3. Включить в работу подогреватель недеаэрированной воды ПНВ, для этого необходимо:
а) открыть задвижку 16 на подводе пара в ПНВ, при этом необходимо следить за температурой воды на выходе из подогревателя, которая не должна превышать 35 °С (по условиям работы водоподготовительной установки);
б) повысить температуру воды на выходе из подогревателя до 30 - 35 °С дистанционным открытием регулирующего клапана РКТ-1 на подаче пара в подогреватель;
в) проворить работу подогревателя;
г) при недостаточном нагреве воды проверить схему отвода неконденсирующихся газов, а при повышении уровня до максимально допустимого значения проверить схему отвода конденсата;
д) проверить работу регулятора температуры недеаэрированной воды, для чего, дистанционно прикрывая регулирующий клапан РКТ-1, понизить температуру воды на выходе из подогревателя до минимально допустимого значения, затем регулятор переключить на автоматическую работу, после чего регулирующий клапан должен начать открываться. Аналогично проверить работу автоматического регулятора при максимально допустимой температуре.
3.3.4. Для установок (см. рис. 5 и 6) при наборе уровня в подпорном баке до 0,5 максимально допустимого значения включить в работу подпиточный насос НП-1, после проверки работы насоса открыть задвижку на стороне нагнетания насоса.
3.3.5. Для установок (см. рис. 5 и 6) проверить работу автоматического регулятора уровня в подпорном баке. Для этого открытием регулирующего клапана РКУ на стороне нагнетания подпиточных насосов понизить уровень в подпорном баке до минимально допустимого значения (при этом необходимо следить за давлением на стороне всасывания сетевых насосов), затем регулятор уровня поставить на автоматическую работу, после чего регулирующий клапан РКУ должен автоматически закрываться. Аналогично проверить работу регулятора уровня при максимально допустимом уровне в баке.
3.3.6. Подать в деаэратор перегретую воду, открыв задвижку 18, затем, открывая клапан РКТ-2, создать необходимый нагрев деаэрируемой воды в деаэраторе 15 - 25 °С. Для схемы (см. рис. 6) включить в работу подогреватель ППВ.
3.3.8. Контролируя давление на стороне всасывания сетевых насосов, плавно увеличить в деаэратор расход недеаэрированной воды до среднесуточного значения одновременным открытием регулирующего клапана РКР на недеаэрированной воде и задвижки 19. Система автоматического регулирования при этом должна поддерживать регулируемые параметры в заданном диапазоне.
Примечания: 1. При пуске установки (см. рис. 4) с опорожненным баком-аккумулятором включать в работу подпиточный насос НП следует только после набора уровня воды в баке-аккумуляторе выше минимально допустимого значения на 1,0 м, после чего подать перегретую воду в деаэратор. 2. Включение в параллельную работу второго деаэратора (установки рис. 4 и 5) производится аналогично включению в работу первого деаэратора в соответствии с пп. 3.3.1, 3.3.2, 3.3.6 - 3.3.9.
3.4.2. Обслуживающий персонал во время работы деаэрационной установки обязан:
а) регулярно, не реже двух раз в смену, обходить оборудование деаэрационной установки, записывать в оперативный журнал все операции, проводимые с оборудованием; записывать в суточную ведомость основные параметры режима работы деаэрационной установки;
б) следить за нормальной работой контрольно-измерительных приборов, средств автоматики;
в) при обнаружении отклонений в показаниях контрольно-измерительных приборов от требуемых значений необходимо выяснить причину и принять меры к их устранению;
г) производить запись в журнале дефектов о неполадках в работе деаэрационной установки, устранение которых силами вахтенного персонала является невозможным;
д) осуществлять ежесменное опробование электрической схемы сигнализации и делать соответствующие записи в оперативном журнале;
е) следить за нормальной работой подпиточных насосов, регулярно пополняя смазку подшипников, следить за вибрацией электродвигателя и насоса, устранять повышенные протечки воды через уплотнения вала насоса. Периодически чередовать в работе резервный и рабочий насосы. Опробование в работе устройств автоматического включения резерва насоса (АВР), а также чередование насосов в работе производить согласно имеющемуся на ТЭЦ графику;
ж) периодически продувать водомерные стекла;
з) периодически (один раз в две недели) проверять исправность перемычки аварийной подпитки 21 расхаживанием задвижек;
и) не реже двух раз в смену определять содержание кислорода и свободной углекислоты в подпиточной воде на стороне нагнетания подпиточных насосов после перемычки аварийной подпитки.
3.4.3. Опыт эксплуатации вакуумных деаэраторов показывает, что минимальный нагрев воды в деаэраторе, при котором обеспечивается содержание кислорода в деаэрированной воде не более 50 мкг/кг, и максимальную производительность деаэратора на каждой ТЭЦ целесообразно определять опытным путем, так как данные характеристики на каждой ТЭЦ могут иметь разные значения (см. рис. 1).
Для деаэрационных установок, не прошедших испытания, контролируемые параметры рекомендуется выдерживать в указанном диапазоне:
- температуру недеаэрированной воды, поступающей в деаэраторы, 30 - 35 °С, при этом производительность деаэратора близка к номинальной. При повышении температуры недеаэрированной воды производительность деаэратора увеличивается, но не более чем до 120 % номинальной производительности. При понижении температуры недеаэрированной воды производительность уменьшается;
- давление в деаэраторе 0,0075 - 0,06 МПа (0,075 - 0,5 кгс/см2);
- нагрев воды в деаэраторе 15 - 25 °С. Максимальный нагрев воды в деаэраторе при производительности менее номинальной превышает 25 °С;
- температуру греющей среды (перегретой воды) в пределах 65 - 120 °С;
- давление на стороне нагнетания подпиточного насоса не менее 95 % номинального значения (режим перегрузки насоса). При давлении менее 98 % включить в работу резервный насос;
- давление пара перед соплами эжектора 0,5 - 0,7 МПа (5,0 - 7,0 кгс/см2). Нагрев охлаждающей воды в эжекторе ЭП-3-25/75 при этом должен составлять 5 - 10 °С. За пределами указанного диапазона нагрева работать не рекомендуется, так как при меньшем нагреве происходит эрозионный износ трубок эжектора из-за больших скоростей воды в трубках, а при большем - запаривается эжектор.
3.5.1. Перед плановым остановом деаэрационной установки необходимо накопить запас деаэрированной воды - полный располагаемый объем аккумуляторных баков.
3.5.2. После получения распоряжения о предстоящем останове подготовить к работе перемычку аварийной подпитки 21;
- закрыть контрольный кран 20;
- открыть задвижку 15.
3.5.3. Для теплосетей с выносными аккумуляторными баками (см. рис. 5 и 6) предупредить персонал, обслуживающий узел подпитки от аккумуляторных баков, о предстоящем увеличении расхода воды на подпитку от аккумуляторных баков.
3.5.4. Плавно прикрывая регулирующий клапан, уменьшить расход недеаэрированной воды в деаэраторы до 30 % номинальной производительности. При этом система автоматического регулирования должна выдерживать регулируемые параметры в заданных пределах. При понижении давления в обратном коллекторе теплосети ниже допустимого и невозможности повысить давление путем увеличения расхода воды от аккумуляторных баков подать на подпитку теплосети химически очищенную недеаэрированную воду через перемычку аварийной подпитки.
3.5.5. Отключить деаэратор по перегретой воде, для этого в схемах (см. рис. 4 и 5) закрыть регулирующий клапан РКТ-2 и задвижку 18 на перегретой воде, а в схеме (см. рис. 6) отключить подогреватель ППВ по пару и затем по воде.
3.5.6. Отключить эжектор по пару, закрыв задвижку 17 на подводе пара к эжектору.
3.5.7. Отключить деаэратор по недеаэрированной воде, закрыв:
- регулирующий клапан РКР;
- задвижки перед эжектором и помимо эжектора на недеаэрированной воде.
3.5.8. Для установок (см. рис. 5 и 6) остановить подпиточный насос НП-1 и затем закрыть задвижки на стороне нагнетания насосов.
3.6.1. Наиболее опасными нарушениями режима работы деаэрационной установки являются: переполнение водой подпорного бака и, как следствие этого, повышение давления в подпорном баке, а также в деаэраторах больше атмосферного. Превышение верхнего предельного уровня воды в подпорном баке, а также превышение атмосферного давления в надводной части подпорного бака не допускается.
Повышение давления в надводной части подпорного бака выше атмосферного может также произойти при подаче в деаэраторы греющей воды с температурой выше 100 °С при полном прекращении подачи в деаэраторы недеаэрированной воды.
Измененная редакция. Изм. № 1.
3.6.2. При нарушении режима нормальной работы деаэрационной установки обслуживающий персонал должен восстановить параметры в соответствии с п. 3.4.3.
3.6.3. При выходе из строя или нарушении нормальной работы средств автоматики или АВР перейти на ручное управление регулирующими органами и ручное включение резервных насосов, принять меры к восстановлению работы средств автоматики и АВР.
Измененная редакция. Изм. № 1.
3.6.4. При невозможности поддержания регулируемых параметров в заданном диапазоне с помощью регулирующих клапанов выполнить подрегулировку с помощью запорных задвижек, обеспечив необходимую точность поддержания параметров.
Измененная редакция. Изм. № 1.
3.6.5. При превышении верхнего предельного уровня воды в подпорном баке прекратить подачу воды в деаэраторы, для чего сначала полностью закрыть клапаны РКТ-2 на подаче в деаэраторы греющей воды, а затем прикрывать клапаны РКР на подаче в деаэраторы недеаэрированной воды, при этом следить, чтобы температура деаэрированной воды после деаэраторов не превысила 95 °С. Если в процессе закрытия клапанов РКР уровень воды в подпорном баке начнет понижаться, то прикрытие клапанов прекратить. Если при полном закрытии клапанов уровень воды продолжает повышаться или находится за пределами измерения из-за превышения допустимого значения (прибор зашкалил), закрыть задвижки на подаче в деаэратор греющей и недеаэрированной воды.
Измененная редакция. Изм. № 1.
3.6.6. При температуре греющей воды более 100 °С при прекращении подачи в деаэраторы недеаэрированной воды для предотвращения повышения давления выше атмосферного в подпорном баке прекратить подачу в деаэраторы греющей воды, для этого закрыть регулирующие клапаны РКТ-2 и задвижки после них.
Измененная редакция. Изм. № 1.
3.6.7. При обнаружении течи из-под края днища, появлении мокрых пятен на отмостке аккумуляторного бака, возникновении трещин в швах поясов корпуса необходимо слить воду из бака и устранить причину течи, для чего прекратить подачу воды в бак путем отключения деаэраторов и откачки воды из бака на подпитку теплосети, при этом подготовить к работа перемычку аварийной подпитки 21.
Измененная редакция. Изм. № 1.
3.6.8. При понижении давления на стороне нагнетания подпиточного насоса до минимально допустимого значения (режим перегрузки насоса) и при отсутствии резервного насоса подать на подпитку теплосети недеаэрированную воду через перемычку аварийной подпитки 21, после чего восстановить номинальное давление на стороне нагнетания насоса прикрытием задвижки на стороне нагнетания насоса.
3.6.9. При понижении уровня воды в аккумуляторных баках до минимально допустимого значения и невозможности повышения уровня за счет увеличения расхода воды в деаэраторы подать на подпитку недеаэрированную воду через перемычку аварийной подпитки.
Каждый случай подачи воды через перемычку аварийной подпитки должен отмечаться в оперативном журнале с указанием количества поданной воды и источника водоснабжения.
3.6.10. При увеличении содержания кислорода в подпиточной воде на стороне нагнетания подпиточных насосов необходимо проверить содержание кислорода в воде после каждого деаэратора.
3.6.11. При нормальном содержании кислорода в деаэрированной воде после каждого деаэратора и повышенном содержании на стороне нагнетания подпиточных насосов необходимо проверить исправность узла отбора пробы:
а) опрессовать весь пробоотборный трубопровод от стороны нагнетания подпиточного насоса избыточным давлением, для этого в штуцер слива деаэрированной воды после холодильника установить пробку и открытием вентиля на пробоотборном трубопроводе поставить под давление пробоотборный трубопровод:
б) опрессовать змеевик холодильника, для этого закрыть вентили на деаэрированной и охлаждающей воде перед холодильником, поставить пробку в штуцере слива охлаждающей воды из холодильника и открытием вентиля на охлаждающей воде поднять давление в корпусе холодильника;
в) убедиться, что через перемычку аварийной подпитки 21 не поступает недеаэрированная вода, для этого контрольный кран 20 между задвижками на перемычке должен быть открыт.
3.6.12. При повышении содержания кислорода в деаэрированной воде после одного из вакуумных деаэраторов обслуживающий персонал должен:
- проверить соответствие контролируемых параметров требуемым по п. 3.4.3 значениям;
- проверить правильность показаний приборов;
- увеличить нагрев воды в деаэраторе до 25 °С;
- опрессовать пробоотборный трубопровод деаэрированной воды после деаэратора в соответствии с п. 3.6.7.
Если в результате проделанных операций обслуживающему персоналу не удается выяснить причину повышения содержания кислорода в деаэрированной воде, то дальнейшую наладку должен проводить специально подготовленный персонал в соответствии с рекомендациями приложения 4.
3.6.13. При появлении гидравлических ударов необходимо прекратить поступление перегретой воды в деаэратор, закрыв регулирующий клапан РКТ-2 на трубопроводе перегретой воды. Причиной возникновения гидравлических ударов в работающем деаэраторе, как правило, является недогрев воды в деаэраторе до температуры насыщения, т.е. повышения давления в деаэраторе без повышения температуры деаэрированной воды. После закрытия регулирующего клапана РКТ-2 персонал должен выяснить причину повышения давления в деаэраторе, для этого проверить:
а) режим работы эжектора (давление пара перед эжектором и нагрев охлаждающей воды в эжекторе установить в соответствии с п. 3.4.3);
б) отсутствие присосов воздуха в вакуумную систему (закрыть вентили на дренажных, водомерных стеклах и т.д.);
в) работу эжектора «на себя», для этого после отключения деаэратора по перегретой воде (закрыв регулирующий клапан РКТ-2 и задвижку 18) закрыть задвижку на линии отсоса из деаэратора. Исправный эжектор при работе «на себя» при давлении пара перед соплами эжектора 0,5 - 0,6 МПа (5,0 - 6,0 кгс/см2) и более должен создавать разрежение 96 - 91 %. Если эжектор не создает указанного разрежения, то необходимо проверить заполнение гидрозатворов эжектора водой, для этого отключить эжектор по пару и затем после повышения давления во всасывающем патрубке эжектора до атмосферного плавно в течение 15 мин повышать давление пара перед соплами эжектора до 0,5 - 0,6 МПа (5,0 - 6,0 кгс/см2), при этом гидрозатворы заполняются водой. Если после заполнения гидрозатворов водой эжектор не создает требуемого разрежения, то он неисправен и для выявления неисправности необходимо его вскрытие.
3.6.14. При выходе воды из сигнального гидрозатвора 7 (рис. 7) и выбросе воды из выхлопного патрубка 3 проверить унос воды отсасываемыми газами из деаэратора. Для предотвращения уноса прикрыть задвижку на линии отсоса из деаэратора на 85 - 95 %. Если при этом выброс воды из эжектора прекратится, то при работе деаэратора задвижку на линии отсоса следует открывать не полностью, а лишь до тех пор, пока давление в деаэраторе и на стороне всасывания эжектора не выровняется.
Измененная редакция. Изм. № 1.
Рис. 7. Трехступенчатый пароструйный эжектор ЭП-3-25/75:
а - схема
расположения патрубков; б - зависимость давления (абсолютного)
всасывания от расхода
воздуха в отсасываемой эжектором ЭП-3-25/75 смеси при отсасывании паровоздушной
смеси с
температурой 20,4 °С и абсолютном давлении рабочего пара 0,51 МПа (5,1
кгс/см2);
1 - патрубок подвода паровоздушной смеси; 2 - патрубок подвода рабочего пара; 3
- патрубок выхода
газов в атмосферу; 4 - патрубок отвода конденсата; 5 и 6 - патрубки подвода и
отвода охлаждающей
воды; 7 - патрубок для сигнализации переполнения водой третьей ступени эжектора
Если при выбросе воды из выхлопного патрубка давление на стороне всасывания эжектора будет меньше, чем давление в деаэраторе над барботажной тарелкой, на 0,02 МПа (0,2 кгс/см2), то из этого следует, что деаэратор заполнен водой и вода из деаэратора поступает в эжектор. Причины заполнения деаэратора водой приведены в приложении 4.
Рис. 8. Схема деаэрационной установки с атмосферными деаэраторами:
1 - из водоподготовительной установки; 2 - деаэрационная колонка с
деаэраторным баком; 3 - защитный гидрозатвор; 4 - бак-аккумулятор;
5 - из коллектора 1,2 - 2,5 кгс/см2; 6 - в промливневую канализацию;
7 - в основной цикл ТЭЦ; 8 - в атмосферу; 9 - 13 - оперативная арматура;
14 - контрольный кран; 15 - на химический анализ; 16 - из теплосети; 17 - на
сторону всасывания сетевых насосов;
18 - от насосов технической воды; 19 - перемычка аварийной подпитки; РКДД -
регулирующий клапан давления в деаэраторах;
РКТ - регулирующий клапан температуры недеаэрированной воды; ОДВ - охладитель
деаэрированной воды; ОВ - охладитель выпара
(остальные обозначения см. рис. 4 и 5)
4.1.1. Подготовка к пуску установки с атмосферными деаэраторами (см. рис. 7) аналогична подготовке к пуску установки с вакуумными деаэраторами (см. рис. 6) и должна быть выполнена в соответствии с пп. 3.2.1 - 3.2.9.
4.1.2. Проверить закрытие задвижек на трубопроводах:
- подвода недеаэрированной воды перед охладителем деаэрированной воды (задвижка 10);
- опорожнения деаэраторных баков;
- подвода пара к деаэраторам (задвижка 9) и к подогревателю недеаэрированной воды (задвижка 11);
- нагнетания подпиточных насосов НП-1;
- перепуска деаэрированной и недеаэрированной воды помимо охладителя деаэрированной воды;
- перепуска воды помимо регулируемых клапанов РКР и РКУ.
4.1.3. Проверить закрытие вентилей на дренажах паропроводах перед задвижками 9 и 11.
4.1.4. Закрыть все регулирующие клапаны, не находящиеся в работе.
4.1.5. Открыть задвижки на трубопроводах выпаров в атмосферу всех деаэраторов.
4.1.6. Открыть на 30 % задвижку 12 на недеаэрированной воде помимо охладителей выпаров.
4.1.7. Проверить открытие задвижек на трубопроводах:
- подвода выпара в охладители выпаров всех деаэраторов;
- охлаждающей воды перед охладителями выпаров и после них;
- уравнительных по пару и воде;
- подвода недеаэрированной воды перед каждым деаэратором;
- отвода деаэрированной воды из деаэраторов;
- подвода пара перед каждым деаэратором;
- перед регулирующими клапанами РКР и РКУ и после них;
- деаэрированной воды перед и после ОДВ;
- недеаэрированной воды перед и после ОДВ;
- всасывания подпиточных насосов.
4.2.1. Включить в работу регулятор давления в деаэраторах, после чего клапан РКД должен открыться.
4.2.2. Прогреть паропровод подвода пара в деаэраторы до задвижки 9, открыв дренажный вентиль перед задвижкой.
4.2.3. Прогреть деаэраторы, плавно открывая задвижку 9. После открытия задвижки 9 закрыть дренажный вентиль перед нею.
При повышении давления в деаэраторах до 0,125 МПа (1,25 кгс/см2) клапан РКДД должен автоматически закрыться. В случае повышения давления в деаэраторах более 0,125 МПа (1,25 кгс/см2) открытие задвижки 9 прекратить, если при этом рост давления не остановится, то задвижку 9 частично прикрыть.
4.2.4. Открыть задвижку 10 на недеаэрированной воде перед ОДВ. При заполнении деаэраторных баков до 0,5 максимально допустимого уровня включить в работу подпиточный насос НП-1. После проверки работы насоса открыть задвижку на стороне нагнетания насоса.
Примечание. При пуске деаэрационной установки с наполненными деаэраторными баками (при уровне воды в баках более 0,5 максимально допустимого значения уровня) перед подачей в деаэраторы недеаэрированной воды следует включать в работу подпиточный насос НП-1.
4.2.5. Подать в деаэраторы недеаэрированную воду (не более 30 % номинальной производительности) открытием регулирующего клапана РКР, после чего задвижку 9 на подводе пара к деаэраторам открыть полностью (если она не полностью была открыта).
4.2.6. Проверить работу автоматического регулятора уровня воды в деаэраторных баках. Для этого открытием регулирующего клапана РКУ на подпитке теплосети понизить уровень воды в деаэраторных баках до минимально допустимого значения (при этом следует контролировать давление на стороне всасывания сетевых насосов). Затем регулятор уровня поставить на автоматическую работу, после чего регулирующий клапан РКУ должен автоматически закрыться. Аналогично проверить работу регулятора уровня при максимально допустимом уровне в баках.
4.2.7. Включить в работу подогреватель недеаэрированной воды ПНВ, для этого необходимо:
а) прогреть паропровод подачи пара в ПНВ до задвижки 10, открыв дренажный вентиль перед задвижкой;
б) открыть задвижку 10 на подводе пара в ПНВ, после чего дренажный вентиль перед задвижкой закрыть;
в) дистанционным открытием клапана РКТ повысить температуру на выходе из подогревателя ПНВ до требуемого в п. 4.4.2 значения;
г) проверить работу подогревателя. При недостаточном нагреве воды в подогревателе проверить схему отвода неконденсирующихся газов, а при повышении уровня до максимально допустимого значения проверить схему отвода конденсата.
4.2.8. Проверить работу регулятора температуры недеаэрированной воды, для этого, прикрывая регулирующий клапан РКТ на подводе пара к подогревателю, понизить температуру воды на выходе из подогревателя для деаэраторов (см. рис. 2) до 94 °С, а для деаэраторов (см. рис. 3) до 89 °С. Затем регулятор переключить на автоматическую работу, после чего регулирующий клапан должен начать закрываться. Аналогично проверить работу автоматического регулятора при максимально допустимой температуре.
4.2.9. Закрыть задвижки на выпаре в атмосферу всех деаэраторов.
4.2.10. Плавно увеличить расход недеаэрированной воды в деаэраторы до среднесуточного значения открытием регулирующего клапана РКР, следя за давлением на стороне всасывания сетевых насосов. Средства автоматического регулирования при этом должны поддерживать регулируемые параметры в заданных пределах.
4.2.11. В установившемся режиме (через 1 ч после пуска) определить содержание кислорода и свободной углекислоты в подпиточной воде на стороне нагнетания подпиточных насосов НП-1.
4.3.1. Убедиться в выполнении пп. 3.2.1 - 3.2.3, 3.2.6 и 3.2.7.
4.3.2. Дать заявку на включение в работу КИП.
4.3.3. Проверить закрытие задвижки на линии опорожнения деаэраторного бака.
4.3.4. Открыть задвижку на выпаре в атмосферу.
4.3.5. Проверить открытие задвижки на выпаре к охладителю выпара.
4.3.6. Включить охладитель выпара по охлаждающей воде, открыв задвижки до и после охладителя выпара.
4.3.7. Подать пар в деаэратор, открыв задвижку на подводе пара к деаэратору.
4.3.8. Открыть задвижку на уравнительном трубопроводе по пару.
4.3.9. Подать в деаэратор воду, открыв задвижку на недеаэрированной воде перед деаэратором на 20 - 30 %.
Примечание. При подключении деаэратора с заполненным деаэраторным баком к параллельно работающим деаэраторам перед подачей в деаэратор недеаэрированной воды следует открыть задвижки на уравнительном трубопроводе по воде и на отводе деаэрированной воды из деаэратора.
4.3.10. При выравнивании уровня воды с другими деаэраторами открыть задвижку на уравнительном трубопроводе по воде.
4.3.11. Открыть задвижку на отводе деаэрированной воды из деаэратора.
4.3.12. Полностью открыть задвижку на подводе недеаэрированной воды в деаэратор.
4.3.13. Закрыть задвижку на выпаре в атмосферу.
4.4.1. При обслуживании деаэрационной установки следует руководствоваться пп. 3.4.1 и 3.4.2.
4.4.2. При работе деаэрационной установки необходимо контролировать следующие параметры, которые должны выдерживаться в указанном диапазоне:
а) давление в деаэраторах 0,115 - 0,125 МПа (1,15 - 1,25 кгс/см2);
б) температура недеаэрированной воды, поступающей в деаэратор, для деаэраторов (см. рис. 2) 94 - 99 °С; для деаэраторов (см. рис. 3) 89 - 94 °С; температура недеаэрированной воды определяется из условия обеспечения необходимого для деаэрации нагрева воды в деаэраторе и минимальных потерь конденсата на ТЭЦ. В связи с этим температура недеаэрированной воды должна иметь максимальное значение, приведенное в табл. 1. При температуре недеаэрированной воды ниже указанного в табл. 1 значения производительности деаэратора меньше номинальной. Для деаэраторов (см. рис. 2, а) в случае невозможности повышения температуры до значений, указанных в табл. 1, необходимо руководствоваться графиками (см. рис. 2, б, в);
в) температура деаэрированной воды на выходе из деаэратора должна равняться температуре насыщения в деаэраторе, что соответствует 103 - 105 °С;
г) производительность деаэратора - в соответствии с табл. 1;
д) уровень воды в деаэраторных баках должен поддерживаться на середине максимально допустимого значения ±0,5 м;
е) расход охлаждающей воды через охладители выпаров должен равняться расчетному значению. При отсутствии расходомера расчетный расход охлаждающей воды определяется приближенно по перепаду давления на входе воды в охладитель выпара и выходе из него в соответствии с паспортными данными охладителя выпара.
4.5.1. Установить расход недеаэрированной воды в деаэраторы в соответствии с производительностью остающихся в работе деаэраторов прикрытием регулирующего клапана РКР.
4.5.2. Закрыть задвижки на трубопроводах перед деаэратором в такой последовательности:
- на недеаэрированной воде;
- на подводе пара в деаэратор;
- на отводе из деаэратора деаэрированной воды;
- на уравнительном трубопроводе по воде;
- на уравнительном трубопроводе по пару;
- на охлаждающей воде перед охладителем выпара и после него.
4.5.3. Опорожнить бак (при необходимости), открыв задвижку на трубопроводе опорожнения.
4.6.1. Перед плановым остановом деаэрационной установки создать запас деаэрированной воды, заполнив аккумуляторные баки.
4.6.2. После получения распоряжения о предстоящем останове подготовить к работе перемычку аварийной подпитки 19; закрыть контрольный кран 14; открыть задвижку 13.
4.6.3. Предупредить персонал, обслуживающий узел подпитки от аккумуляторных баков, о предстоящем увеличении расхода воды от аккумуляторных баков.
4.6.4. Плавно, следя за давлением во всасывающем коллекторе сетевых насосов, уменьшить расход недеаэрированной воды в деаэраторы до 15 - 20 % номинальной производительности прикрытием регулирующего клапана РКР. При этом система автоматического регулирования должна выдержать регулируемые параметры в заданных пределах.
При понижении давления во всасывающем коллекторе ниже допустимого и невозможности повысить давление путем увеличения расхода воды от аккумуляторных баков подать на подпитку теплосети химически очищенную недеаэрированную воду через перемычку 19.
При повышении давления в деаэраторах более 0,125 МПа (1,25 кгс/см2) разгрузку деаэраторов по воде прекратить, при необходимости увеличить в деаэраторы расход недеаэрированной воды для восстановления давления в деаэраторах.
4.6.5. Отключить по пару подогреватель недеаэрированной воды.
4.6.6. Отключить по пару деаэраторы, закрыв регулирующий РКД-1 и задвижку 9 на подводе пара к деаэраторам.
4.6.7. Отключить деаэраторы по воде, закрыв регулирующий клапан РКР на подводе недеаэрированной воды в деаэраторы и задвижку 10 перед охладителем деаэрированной воды.
4.6.8. Остановить подпиточный насос.
4.6.9. Закрыть задвижки на стороне нагнетания подпиточных насосов.
4.6.10. При необходимости опорожнить деаэраторные баки, открыв задвижки на трубопроводах опорожнения баков.
4.7.1. Наиболее опасными нарушениями режима работы деаэрационной установки являются:
- превышение допустимого давления в деаэраторах;
- переполнение водой деаэраторных баков.
Измененная редакция. Изм. № 1.
4.7.6. При нарушении режима нормальной работы деаэрационной установки обслуживающий персонал должен восстановить контролируемые параметры в соответствии с требуемыми значениями по п. 4.4.2. При этом следует руководствоваться пп. 3.6.3, 3.6.4, 3.6.8 - 3.6.10.
Измененная редакция. Изм. № 1.
4.7.7. При повышении давления в деаэраторах свыше 0,125 МПа (1,25 кгс/см2) прикрытием регулирующего клапана РКДД понизить давление в деаэраторах до 0,120 МПа (1,20 кгс/см2). При необходимости прикрыть задвижку 9 (см. рис. 8).
Измененная редакция. Изм. № 1
4.7.8. При достижении максимально допустимого уровня воды в деаэраторных баках прикрытием регулирующего клапана РКР понизить уровень до номинального значения. При необходимости для понижения уровня прикрыть задвижку за клапаном РКР.
Измененная редакция. Изм. № 1
4.7.9. При быстром росте уровня в деаэраторных баках (например, при останове всех насосов подпитки теплосети) уменьшить расход недеаэрированной воды в деаэраторы, контролируя при этом давление в деаэраторах. При повышении давления в деаэраторах более 0,125 МПа (1,25 кгс/см2) поддерживать достигнутый расход недеаэрированной воды, а после восстановления давления закрыть клапан РКДД и, при необходимости, задвижку перед ним. Затем закрыть клапан РКР и задвижку перед ним.
Измененная редакция. Изм. № 1
4.7.10. При выбросе воды через воздушник охладителя выпара следует определить причину, вызвавшую его. Выброс воды может происходить из-за:
- большого уноса влаги из колонки с выпаром, сопровождающимся гидравлическими ударами в трубопроводе выпара. Для предотвращения уноса влаги необходимо уменьшить расход охлаждающей воды через охладители выпаров, приоткрыв задвижку помимо охладителей выпаров. После чего (через 1 ч) проверить содержание кислорода и свободной углекислоты в подпиточной воде;
- засорения трубопровода дренажа охладителя выпара. Признаком засорения трубопровода является понижение температуры дренажа (от 100 °С) до температуры наружного воздуха;
- нарушения плотности трубной системы охладителя выпара. Для определения неплотности следует закрыть задвижку на выпаре перед охладителем выпара. Наличие выброса воды через воздушник или выход воды через трубопровод дренажа указывает на наличие неплотности в трубной системе охладителя выпара.
Измененная редакция. Изм. № 1
АВТОМАТИЗАЦИЯ, СИГНАЛИЗАЦИЯ И АВР ДЕАЭРАЦИОННЫХ УСТАНОВОК
1. В деаэрационной установке автоматически регулируются следующие параметры:
- температура недеаэрированной воды (перед атмосферными деаэраторами и перед водоподготовительной установкой для деаэрационных установок с вакуумными деаэраторами);
- давление в атмосферных деаэраторах;
- температура деаэрированной воды на выходе из вакуумного деаэратора;
- уровень воды в подпорном баке, если подпорный бак не является аккумуляторным баком;
- давление во всасывающем коллекторе сетевых насосов.
2. О предельных значениях режимов деаэрационной установки световая и звуковая сигнализация оповещает при:
- повышении и понижении давления во всасывающем коллекторе сетевых насосов;
- понижении давления на стороне нагнетания подпиточных насосов;
- повышении и понижении уровня воды в подпорном баке;
- повышении температуры воды перед водоподготовительной установкой (для вакуумных деаэраторов);
- повышении и понижении давления в атмосферных деаэраторах.
3. Подпиточные насосы должны быть оснащены системой АВР, которая срабатывает при отключении электродвигателя работающего насоса.
Подпиточные насосы, предназначенные для работы в переменных режимах (как правило, насосы, подающие воду на подпитку от аккумуляторных баков), дополнительно должны быть оснащены системой АВР, которая срабатывает при понижении давления на стороне нагнетания работающего подпиточного насоса.
МЕРОПРИЯТИЯ ПО РЕКОНСТРУКЦИИ ВАКУУМНЫХ ДЕАЭРАТОРОВ ДВ-400, ДВ-800 и ДВ-1200
Вакуумные деаэраторы, выпущенные в период 1968 - 1976 гг., имеют производительность менее проектной. Для доведения производительности деаэратора до проектного значения деаэратор следует реконструировать по разработкам Сибтехэнерго (см. рис. 1, б).
Реконструкция требует:
- демонтировать пароперепускной короб в барботажной тарелке; отверстие от короба заглушить рассверленным листом с такой же степенью перфорации, как и барботажная тарелка; короб в тарелке 5 заглушить на 50 %;
- увеличить площадь отверстий в барботажной тарелке в два раза за счет сверления новых отверстий;
- в деаэраторах ДВ-800 и ДВ-1200 в межсекционной перегородке вырезать уравнительное отверстие площадью 0,15 м2.
|
|
химически очищенная вода; |
|
|
водопроводная вода; |
|
|
деаэрированная подпиточная вода; |
|
|
сетевая вода; |
|
|
пар; |
|
|
конденсат пара; |
|
|
выпар; |
|
|
задвижка; |
|
|
вентиль; |
|
|
регулирующий клапан; |
|
|
обратный клапан; |
|
|
измерение температуры; |
|
|
измерение давления; |
|
|
измерение уровня; |
|
|
подвод воды; |
|
|
отвод воды; |
|
|
подвод пара; |
|
|
отвод пара; |
|
|
расходомерная шайба; |
|
|
фланцевое соединение; |
|
|
вестовая труба. |
РЕКОМЕНДАЦИИ ПО НАЛАДКЕ ВАКУУМНЫХ ДЕАЭРАТОРОВ
1. Наладка вакуумных деаэраторов проводится при повышенном содержании кислорода в деаэрированной воде (более 50 мкг/кг) в режимах, выдержанных в соответствии с п. 3.4.3, после выполнения обслуживающим персоналом операций по пп. 3.6.1 - 3.6.10 настоящей Типовой инструкции.
2. Наладку вакуумных деаэраторов должен проводить специально подготовленный персонал.
3. Основные принципы работы деаэраторов:
3.1. В основе процесса деаэрации воды в деаэраторах лежит закон растворимости газа в жидкости, согласно которому содержание растворенного в жидкости газа пропорционально парциальному давлению газа, соприкасающегося со свободной поверхностью жидкости. Закон растворимости газа приемлем для длительно протекающих процессов. Для кратковременных процессов (таким процессом является деаэрация воды в термических деаэраторах) этот закон справедлив лишь для поверхностного слоя воды, непосредственно соприкасающегося с газами.
3.2. В термических деаэраторах для обеспечения процесса деаэрации парциальное давление газов уменьшается до давления, близкого к нулю, путем заполнения деаэратора водяным паром и отвода выделившихся из воды газов.
3.3. Для повышения интенсивности процесса деаэрации в термических деаэраторах увеличивается поверхность взаимодействия воды с паром, для этого поток воды разбивается на тонкие струи или организуется барботажный слой воды путем пропуска пара через слой воды.
4. Основные причины повышенного содержания кислорода в деаэрированной воде (на выходе из деаэратора):
4.1. Режимные факторы, устраняемые обслуживающим персоналом по пп. 3.6.1 - 3.6.8 настоящей Типовой инструкции.
4.2. Заполнение деаэратора (струйных отсеков) неконденсирующимися газами, вызванное:
- неудовлетворительной работой эжектора;
- повышенными присосами воздуха через неплотности вакуумной системы;
- повышенным содержанием газов, растворенных в недеаэрированной воде, поступающей в деаэратор, и большим поступлением в деаэратор недеаэрированной воды.
4.3. Переполнение деаэратора водой.
4.4. Присосы воздуха в отбираемую для химического анализа воду в пробоотборном трубопроводе.
5. Порядок проведения наладки режима деаэрации:
5.1. Убедиться в выполнении обслуживающим персоналом пп. 3.6.1 - 3.6.10 настоящей Типовой инструкции. Если пробоотборный трубопровод работает под разрежением, то опрессовку его производить в следующем порядке:
а) отключить деаэратор по перегретой воде и повысить давление в деаэраторе до атмосферного, отключив эжектор по пару. Последующие операции выполнять по п. 3.6.7 настоящей Типовой инструкции;
б) если при повышении давления в деаэраторе до атмосферного из пробоотборного трубопровода прекратится поступление воды, то опрессовать пробоотборный трубопровод следует охлаждающей водой. Давление охлаждающей воды при этом должно быть больше высоты столба воды в пробоотборном трубопроводе.
5.2. Определить, каким газом (водяным паром или неконденсирующимися газами) заполнены отсеки деаэратора. На основании п. 3.2 данного приложения для обеспечения протекания процессов деаэрации деаэратор должен быть заполнен водяным паром. Для определения состава газа в отсеках деаэратора следует измерить температуру в отсеке согласно рис. 1. Если температура в отсеке равна температуре деаэрированной воды на выходе из деаэратора или незначительно отличается от нее, то отсек деаэратора заполнен водяным паром. Если температура в отсеке равна температуре недеаэрированной воды, поступающей в деаэратор, или незначительно отличается от нее, а давление в деаэраторе над барботажной тарелкой больше давления во всасывающем патрубке эжектора не более чем на 0,003 - 0,004 МПа (0,03 - 0,04 кгс/см2), то отсек деаэратора заполнен неконденсирующимися газами. Если давление над барботажной тарелкой превышает давление во всасывающем патрубке эжектора на 0,004 МПа (0,04 кгс/см2) и более, то отсек деаэратора заполнен водой. Причины, вызывающие переполнение деаэратора водой, приведены в п. 5.11 данного приложения.
Наличие гидравлических ударов в деаэраторе указывает на то, что отсеки деаэратора заполнены неконденсирующимися газами или водой.
5.3. При заполнении отсеков деаэратора неконденсирующимися газами следует проверить работу эжектора «на себя». Порядок проверки приведен в п. 3.6.9 настоящей Типовой инструкции. Если эжектор нормально работает «на себя», а при отсосе газов из деаэратора не создает требуемого разрежения, то из этого следует, что эжектор перегружается отсасываемыми из деаэратора газами.
5.4. На следующем этапе наладки следует определить, за счет чего перегружается эжектор: за счет присосов воздуха через неплотности вакуумной системы, или за счет большого количества газов, выделившихся в деаэраторе из недеаэрированной воды, или за счет того и другого.
5.5. Присосы воздуха в вакуумную систему деаэрационной установки определяются по скорости роста давления в неработающем деаэраторе при отключенных потоках недеаэрированной и перегретой воды в следующем порядке:
а) включить в работу эжектор и создать давление в деаэраторе 0,0075 - 0,030 МПа (0,075 - 0,30 кгс/см2). При переполнении подпорного бака (для установок рис. 5 и 6) подпиточный насос включать в работу не следует, отводить воду из бака следует через перелив в промливневую канализацию;
б) закрыть задвижку на линии отсоса из деаэратора;
в) отключить эжектор по пару и воде, закрыв задвижку на паропроводе перед соплами эжектора и на охлаждающей воде после эжектора. Если в деаэратор будет подсасываться воздух через эжектор из-за неплотности задвижки на линии отсоса, то эжектор следует заполнить паром, приоткрыв задвижку на паропроводе и создав избыточное давление перед соплами эжектора 0,02 - 0,03 МПа (0,2 - 0,3 кгс/см2).
Скорость повышения давления в деаэраторе, укомплектованном одним эжектором ЭП-3-25/75, должна быть не более, МПа/мин [кгс/(см2 · мин)]:
для деаэратора ДВ-400....................................................... 0,002 (0,02);
для деаэратора ДВ-800....................................................... 0,001 (0,01);
для деаэратора ДВ-1200..................................................... 0,00066 (0,0066).
При данной скорости повышения давления присосы воздуха составляют 10 кг/ч. Для деаэратора ДВ-1200, оборудованного двумя эжекторами, предельная скорость повышения давления в два раза больше, чем для деаэратора ДВ-1200, оборудованного одним эжектором, и составляет 0,00132 МПа/мин [0,0132 кгс/(см2 · мин)]. При скорости повышения давления больше указанного значения необходимо устранить присосы.
5.6. Определение мест приемов воздуха осуществляется путем гидравлического испытания вакуумной системы деаэрационной установки. Для проведения испытаний необходимо установить заглушку во фланцевое соединение трубопровода слива из деаэратора (см. рис. 4 и 5) и перед защитным гидравлическим затвором для установки (см. рис. 6).
Вакуумная система заполняется водой и в деаэраторе создается избыточное давление 0,2 МПа (2,0 кгс/см2).
5.7. Определение перегрузки эжектора газами, выделившимися в деаэраторе из деаэрируемой воды, производится путем увеличения расхода в деаэратор недеаэрированной воды до максимально допустимого значения. При этом целесообразно измерять расход выхлопных газов в выхлопном патрубке эжектора. Для измерения могут быть применены воздухомеры конструкции ХТГЗ, ЛМЗ, ВТИ и др.
Перегрузка эжектора определяется в следующем порядке:
а) включить в работу деаэратор согласно пп. 3.3.2 - 3.3.7 настоящей Типовой инструкции.
При минимальном расходе недеаэрированной воды (в деаэратор поступает только охлаждающая вода эжектора) произвести измерение контролируемых параметров, которые должны выдерживаться в соответствии с п. 3.4.3. настоящей Типовой инструкции, измерить температуру в конце струйного отсека согласно п. 5.2 данного приложения и определить содержание кислорода в деаэрированной воде (на выходе из деаэратора) не менее трех раз в течение опыта;
б) увеличивая расход недеаэрированной воды в деаэратор на 100 т/ч в каждом опыте, определить, при каком расходе недеаэрированной воды эжектор начинает перегружаться газами.
Если расход выхлопных газов эжектора с увеличением расхода недеаэрированной воды в деаэраторе меняется пропорционально расходу недеаэрированной воды, то весь отсасываемый газ поступает в деаэратор с недеаэрированной водой, а присосы воздуха в вакуумную систему отсутствуют.
Если с увеличением расхода недеаэрированной воды в деаэратор в несколько раз (например, в два раза) расход выхлопных газов эжектора увеличится менее чем в два раза при условии, что качество деаэрированной воды осталось прежним, то из этого следует, что в деаэратор поступает большое количество газов через неплотности вакуумной системы.
Перегрузка эжектора может быть определена также по расходу выхлопных газов эжектора. Согласно рис. 8, б, эжектор перегружается при расходе 100 кг/ч.
5.8. При перегрузке эжектора газами, выделившимися в деаэраторе из воды, следует увеличить производительность газоотсасывающего устройства, установив дополнительный эжектор, или перевести существующий эжектор на пар более высокого давления. Предельное давление пара перед соплами ЭП-3-25/75 1,0 МПа (10,0 кгс/см2).
5.9. Если по п. 5.2 данного приложения будет определено, что отсек деаэратора между тарелками 4 и 5 (см. рис. 1, а и б) заполнен паром, то повышенное содержание кислорода в деаэрированной воде может быть вызвано неисправностью деаэратора (разрушением деаэрирующих элементов, засорением отверстий дырчатых тарелок и т.д.), для определения которой необходим внутренний осмотр деаэратора.
5.10. Для определения переполнения деаэратора водой по п. 3.6.10 настоящей Типовой инструкции и п. 5.2 данного приложения необходимо установить водомерное стекло длиной 0,6 - 1,0 м над барботажной тарелкой (в конце тарелки или после нее, см. рис. 1, а и б). При нормальной работе деаэратора уровень воды над барботажной тарелкой не должен превышать 0,3 - 0,4 м.
5.11. Переполнение деаэратора в установках (см. рис. 4 и 5) может происходить по следующим причинам:
а) при разности высот между максимальным уровнем воды в подпорном баке и деаэратором менее 10,0 м (недостаток проекта);
б) при большом гидравлическом сопротивлении трубопровода слива из деаэратора. Для выяснения причины переполнения необходимо сделать гидравлический расчет сливного трубопровода. При отклонении действительного гидравлического сопротивления от расчетного произвести внутренний осмотр трубопровода, выборочно вырезая отверстия в стенке трубопровода;
в) при отсутствии уклона (в сторону движения воды) на горизонтальном участке сливного трубопровода, расположенного на расстоянии менее 10,0 м от деаэратора. Для предотвращения переполнения горизонтальный участок сливного трубопровода следует устанавливать с уклоном по ходу воды, если это невозможно, то необходимо верхнюю точку, расположенную в конце горизонтального участка сливного трубопровода, соединить уравнительным трубопроводом диаметром 20 - 30 мм с паровой частью деаэратора;
г) для установки (см. рис. 6) переполнение деаэратора может происходить при переполнении подпорного бака из-за неправильного выполнения защитного гидрозатвора. Для предотвращения переполнения деаэратора гидрозатвор следует выполнять согласно рис. 6, б.
СОДЕРЖАНИЕ