Скачать РД 34.37.102-92 Методические указания по проектированию обессоливающих установок с противоточными фильтрамиДата актуализации: 01.01.2021
|
| Обозначение: | РД 34.37.102-92 |
| Обозначение англ: | RD 34.37.102-92 |
| Статус: | действует |
| Название рус.: | Методические указания по проектированию обессоливающих установок с противоточными фильтрами |
| Название англ.: | Procedural Guidelines for Design of Desalination Units with Counterflow Filters |
| Дата добавления в базу: | 01.09.2013 |
| Дата актуализации: | 01.01.2021 |
| Дата введения: | 01.07.1993 |
| Область применения: | Методические указания устанавливают основные требования по проектированию новых и реконструкции действующих обессоливающих установок с использованием противоточных ионитных фильтров. |
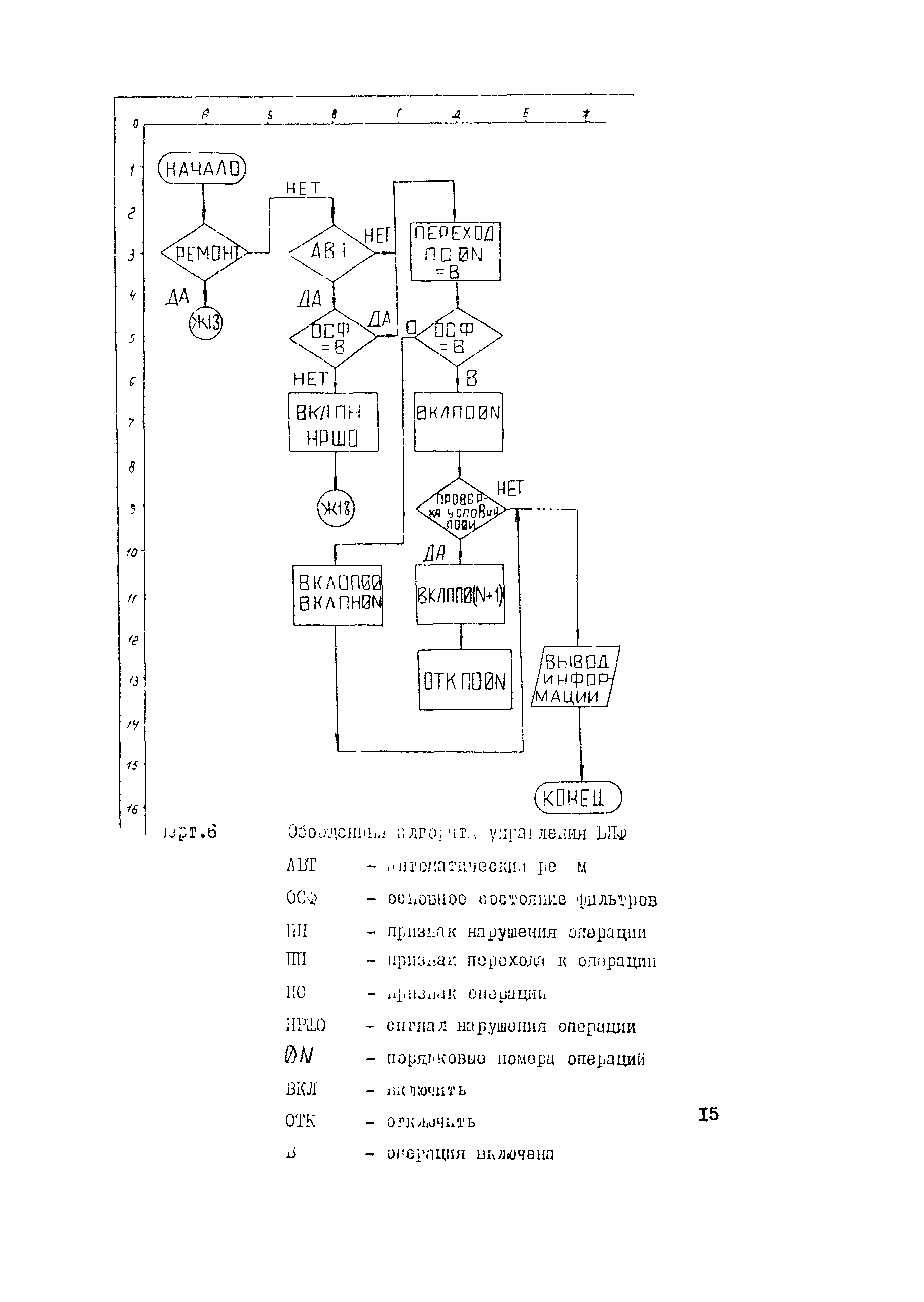
| Оглавление: | 1 Основные требования к проектированию 2 Исходные данные для проектирования 3 Основные требования к автоматизации БПФ 4 Алгоритм управления БПФ Приложение 1 Режимная карта эксплуатации Приложение 2 Перечень нормативно-технических документов, на которые имеются ссылки |
| Разработан: | ВТИ |
| Утверждён: | 18.11.1991 Минэнерго СССР (USSR Minenergo ) |
| Издан: | ВТИ (1992 г. ) |





















