Скачать ГОСТ 10888-93 Изделия высокоогнеупорные периклазохромитовые для кладки сводов сталеплавильных печей. Технические условия

Дата актуализации: 01.01.2021

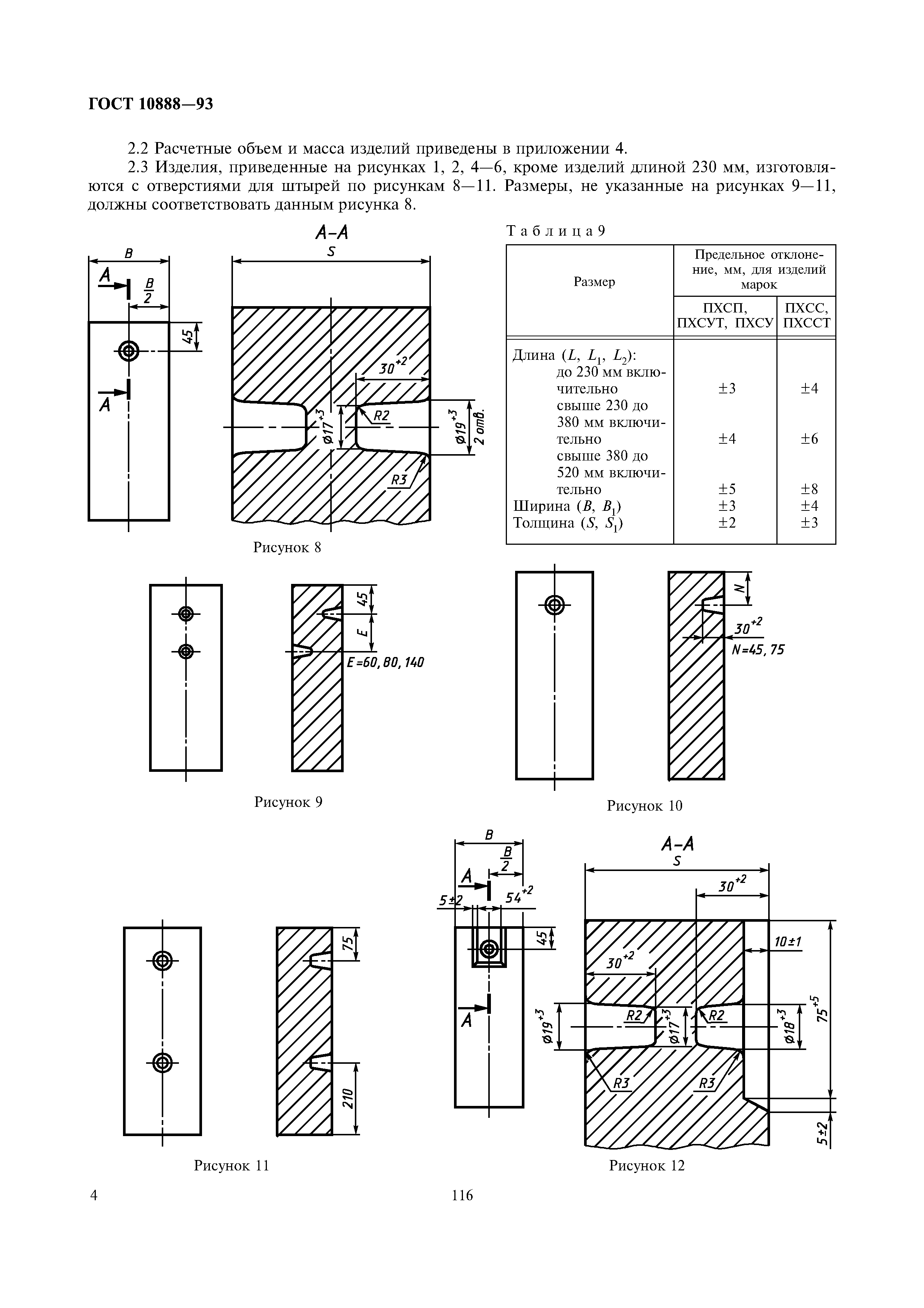
ГОСТ 10888-93

Изделия высокоогнеупорные периклазохромитовые для кладки сводов сталеплавильных печей. Технические условия

Обозначение: ГОСТ 10888-93
Обозначение англ: GOST 10888-93
Статус:взамен
Название рус.:Изделия высокоогнеупорные периклазохромитовые для кладки сводов сталеплавильных печей. Технические условия
Название англ.:Periclasechromite refractories products for the steelmelting furnace roofs. Specifications
Дата добавления в базу:01.09.2013
Дата актуализации:01.01.2021
Дата введения:01.01.1998
Область применения:Стандарт распространяется на высокоогнеупорные обожженные периклазохромитовые изделия, предназначенные для кладки сводов мартеновских, двухванных и электросталеплавильных печей.
Оглавление:1 Марки
2 Форма и размеры
3 Технические требования
4 Правила приемки
5 Методы испытаний
6 Маркировка, упаковка, транспортирование и хранение
Приложение 1 (рекомендуемое)
Приложение 2 (рекомендуемое)
Приложение 3 (рекомендуемое)
Приложение 4 (сравочное)
Разработан: ТК Огнеупоры Украины
Утверждён:17.02.1993 Межгосударственный Совет по стандартизации, метрологии и сертификации (Inter-Governmental Council on Standardization, Metrology, and Certification )
21.05.1997 Государственный комитет Российской Федерации по стандартизации, метрологии и сертификации (186)
Издан: ИПК Издательство стандартов (1997 г. )
ИПК Издательство стандартов (2002 г. )
Заменяет собой:
Нормативные ссылки:
ГОСТ 10888-93ГОСТ 10888-93ГОСТ 10888-93ГОСТ 10888-93ГОСТ 10888-93ГОСТ 10888-93ГОСТ 10888-93ГОСТ 10888-93ГОСТ 10888-93ГОСТ 10888-93ГОСТ 10888-93ГОСТ 10888-93ГОСТ 10888-93ГОСТ 10888-93ГОСТ 10888-93ГОСТ 10888-93ГОСТ 10888-93