Скачать ГОСТ 11031-76 Бегунки металлические для колец прядильных и крутильных машин. Технические условияДата актуализации: 01.01.2021
|
| Обозначение: | ГОСТ 11031-76 |
| Обозначение англ: | GOST 11031-76 |
| Статус: | взамен |
| Название рус.: | Бегунки металлические для колец прядильных и крутильных машин. Технические условия |
| Название англ.: | Metal travellers for rings of spinning and ring-doubling frams. Specifications |
| Дата добавления в базу: | 01.09.2013 |
| Дата актуализации: | 01.01.2021 |
| Дата введения: | 01.07.1978 |
| Область применения: | Стандарт распространяется на металлические бегунки для колец прядильных и крутильных машин, а также на металлические бегунки, предназначенные для экспорта. |
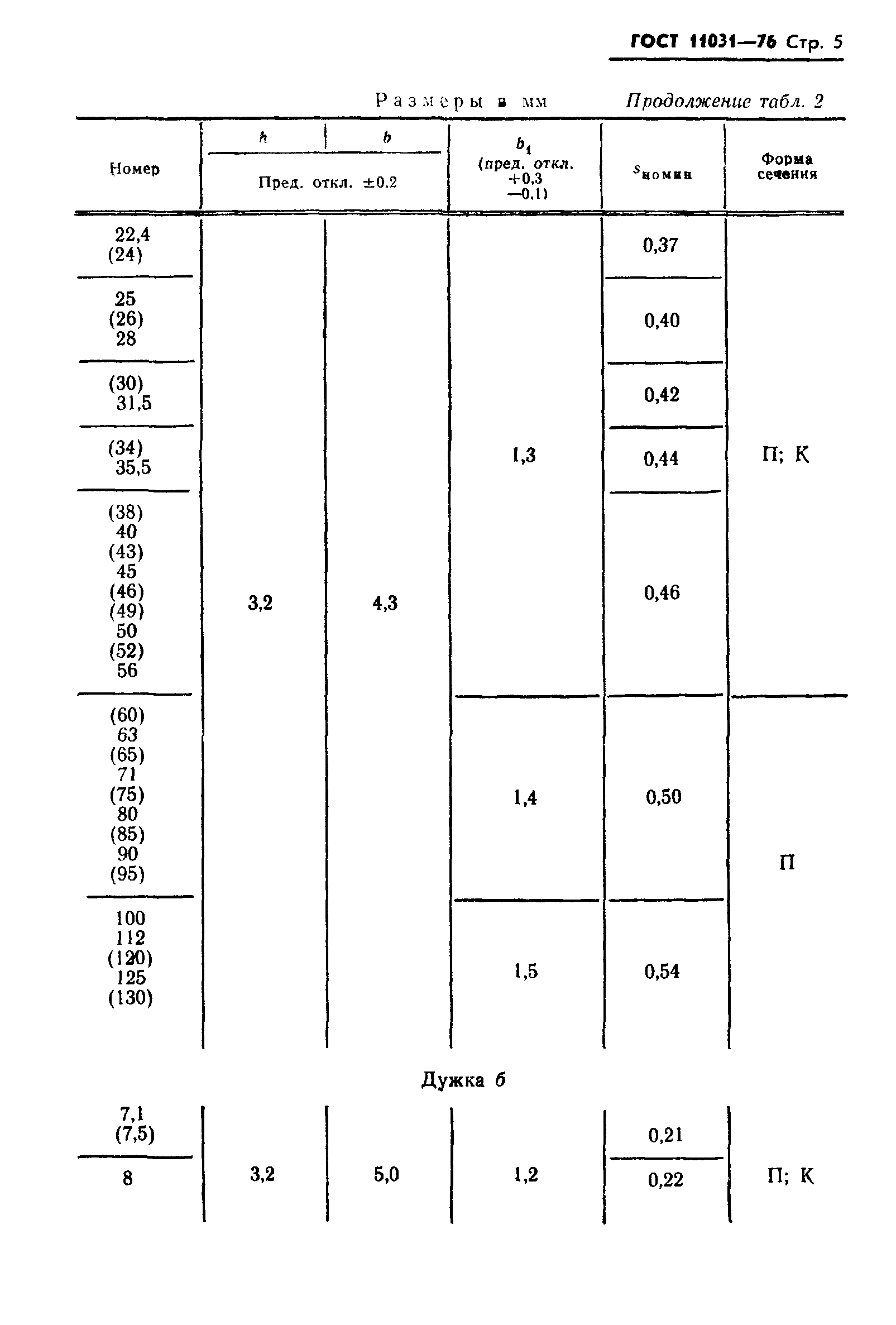
| Оглавление: | 1. Типы и основные размеры 2. Технические требования 3. Правила приемки 4. Методы контроля 5. Маркировка, упаковка, транспортирование и хранение 6. Гарантии изготовителя Приложение (обязательное). Выбор бегунков в зависимости от типа кольца |
| Утверждён: | 03.08.1976 Государственный комитет стандартов Совета Министров СССР (USSR National Committee on Standards at the Cabinet of Ministers 1874) |
| Издан: | Издательство стандартов (1983 г. ) |
| Список изменений: |
|
| Заменяет собой: |
|
| Нормативные ссылки: |
|

























































Текстовое изменение № 3 от 01.06.1985

Текстовое изменение № 4 от 01.01.1986
Текстовое изменение № 5 от 01.01.1990






