Скачать ГОСТ 13.1.703-91 Репрография. Микрография. Тест-объекты для контроля качества изображения в системах вывода информации из ЭВМ на микроформу. Общие требования и нормыДата актуализации: 01.01.2021
|
| Обозначение: | ГОСТ 13.1.703-91 |
| Обозначение англ: | GOST 13.1.703-91 |
| Статус: | введен впервые |
| Название рус.: | Репрография. Микрография. Тест-объекты для контроля качества изображения в системах вывода информации из ЭВМ на микроформу. Общие требования и нормы |
| Название англ.: | Reprography. Micrography. Test-charts for image quality inspection computer output microform |
| Дата добавления в базу: | 01.09.2013 |
| Дата актуализации: | 01.01.2021 |
| Дата введения: | 01.01.1993 |
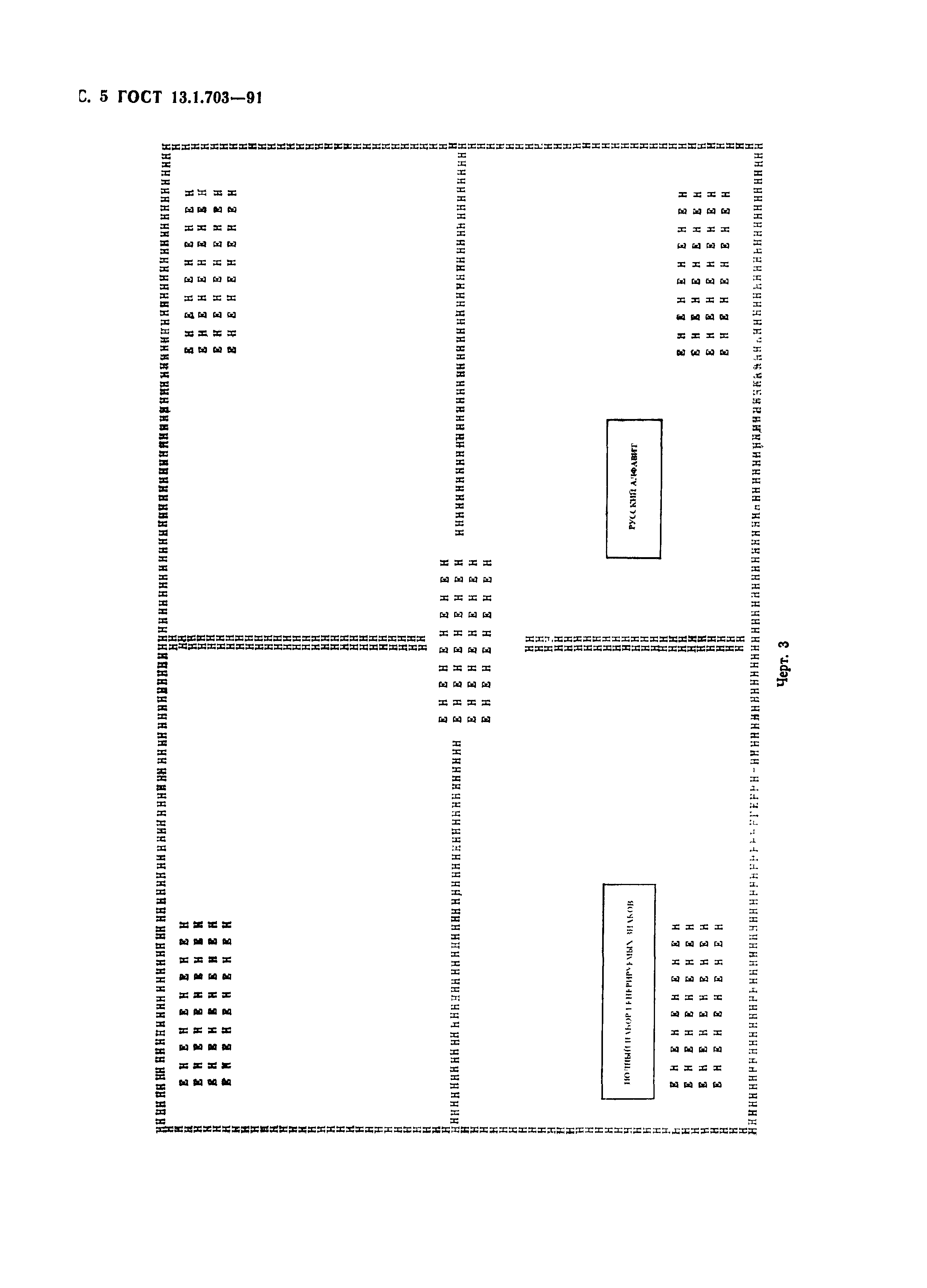
| Область применения: | Стандарт распространяется на тест-слайд и тест-элементы, записанные на магнитном носителе, используемые для настройки и контроля изобразительной системы в устройствах вывода информации из ЭВМ на микроформу (КОМ). Стандарт устанавливает основной тип контрольного изображения, используемого в системах КОМ с плотностью записи 132 знака в строке и 64 строки алфавитно-цифровой информации. |
| Оглавление: | 1. Общие требования 2. Требования к оригиналу для изготовления тест-слайда 3. Требования к тест-слайду 4. Контроль качества тест-слайда 5. Требования к данным на магнитном носителе Приложение. Термины, применяемые в настоящем стандарте, и их пояснения |
| Утверждён: | 27.12.1991 Комитет стандартизации и метрологии СССР (USSR Committee on Standardization and Metrology 2181) |
| Издан: | Издательство стандартов (1992 г. ) |
| Нормативные ссылки: |









