Скачать ГОСТ 13113-83 Штампы для листовой штамповки. Плиты-заготовки для штампов с осевым расположением направляющих узлов. Конструкция и размеры

Дата актуализации: 01.01.2021

ГОСТ 13113-83

Штампы для листовой штамповки. Плиты-заготовки для штампов с осевым расположением направляющих узлов. Конструкция и размеры

Обозначение: ГОСТ 13113-83
Обозначение англ: GOST 13113-83
Статус:взамен
Название рус.:Штампы для листовой штамповки. Плиты-заготовки для штампов с осевым расположением направляющих узлов. Конструкция и размеры
Название англ.:Sheet stamping dies. Plates-blanks for dies with axially positioned guide assemblies. Design and dimensions
Дата добавления в базу:01.09.2013
Дата актуализации:01.01.2021
Дата введения:01.07.1984
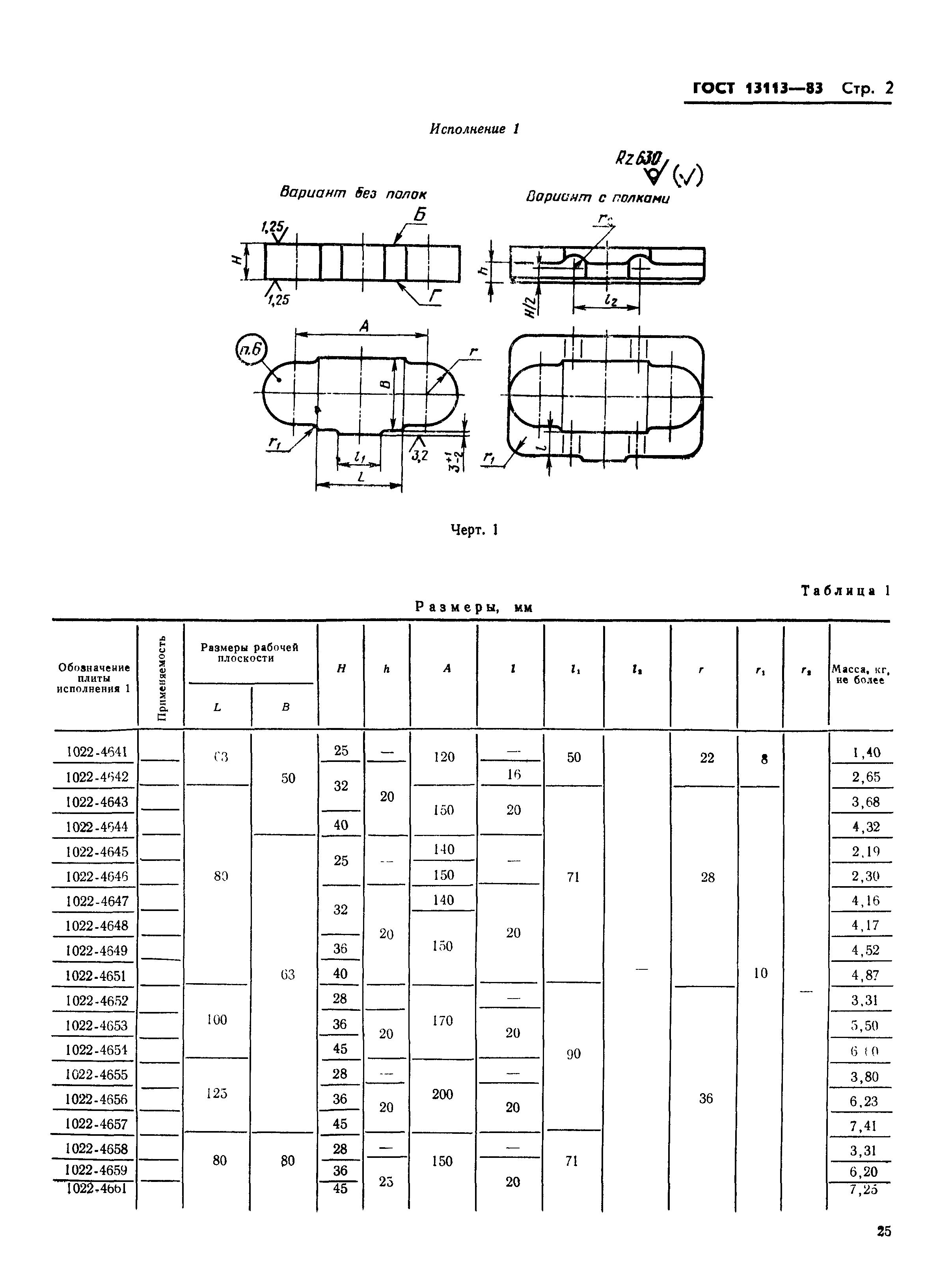
Область применения:Стандарт распространяется на заготовки плит из чугунного и стального литья для штампов с осевым расположением направляющих узлов.
Утверждён:22.09.1983 Государственный комитет СССР по стандартам (USSR National Committee on Standards 4494)
Издан: Издательство стандартов (1986 г. )
Список изменений:
Заменяет собой:
  • ГОСТ 13113-75 «Плиты-заготовки для штампов листовой штамповки с осевым расположением направляющих колонок и втулок. Конструкция и размеры»
Нормативные ссылки:
ГОСТ 13113-83ГОСТ 13113-83ГОСТ 13113-83ГОСТ 13113-83ГОСТ 13113-83ГОСТ 13113-83ГОСТ 13113-83ГОСТ 13113-83

Текстовое изменение Поправка

Поправка