Скачать ГОСТ 13484-85 Соединение бортового штуцера с наконечником аэродромных кондиционеров и подогревателей. Типы и размеры

Дата актуализации: 01.01.2021

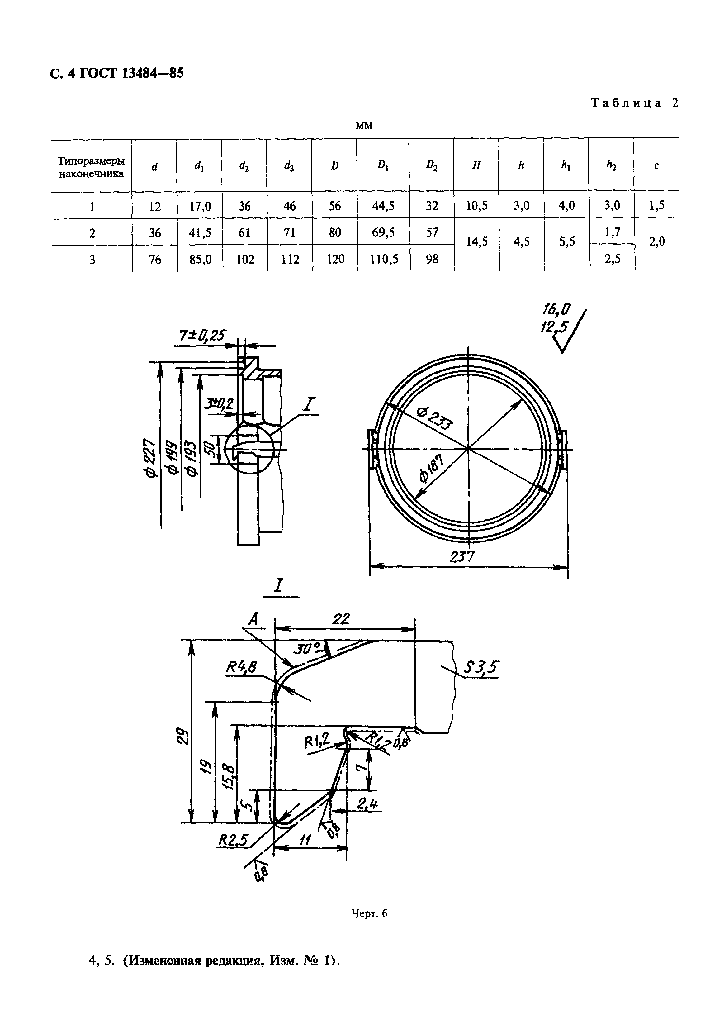
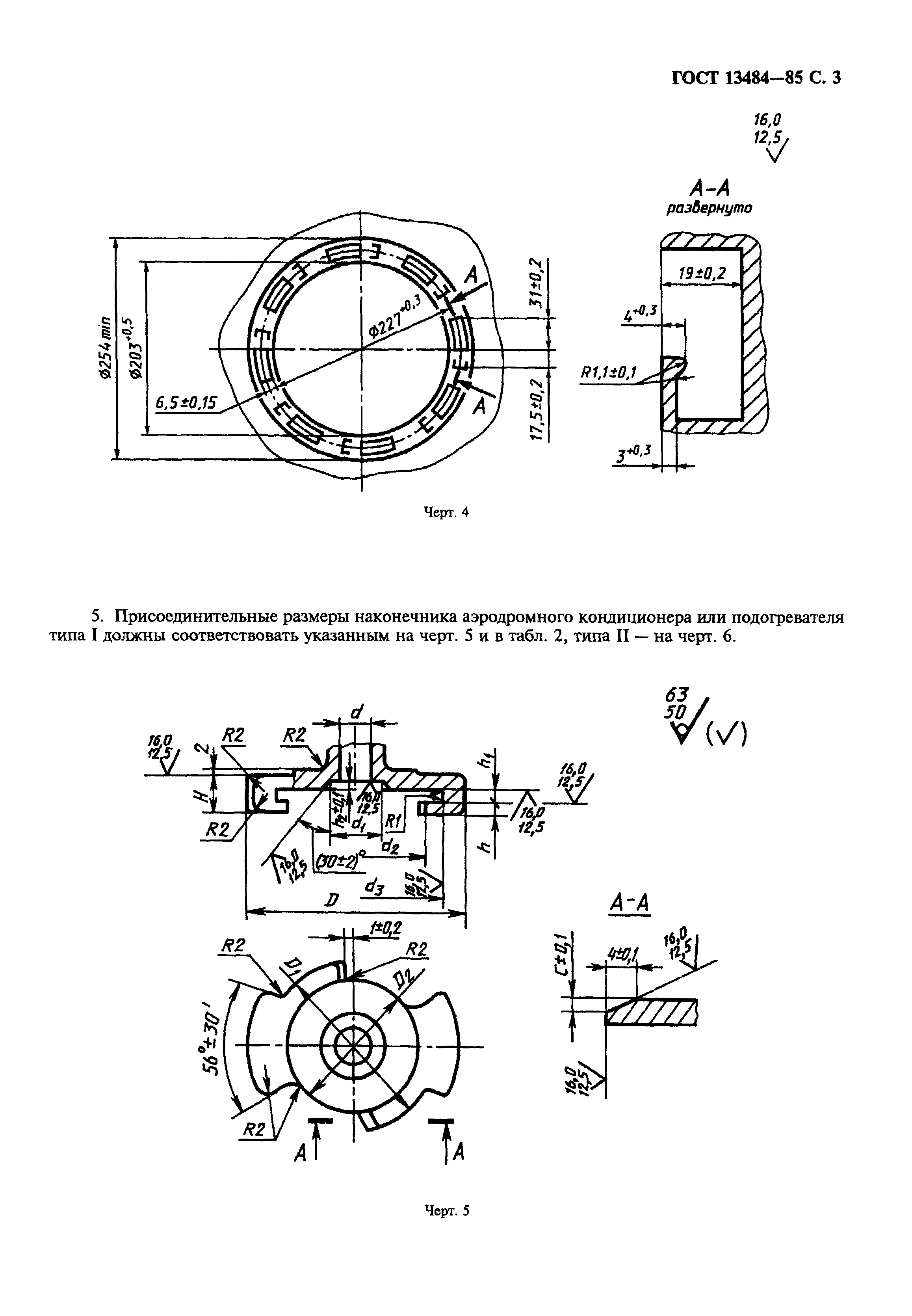
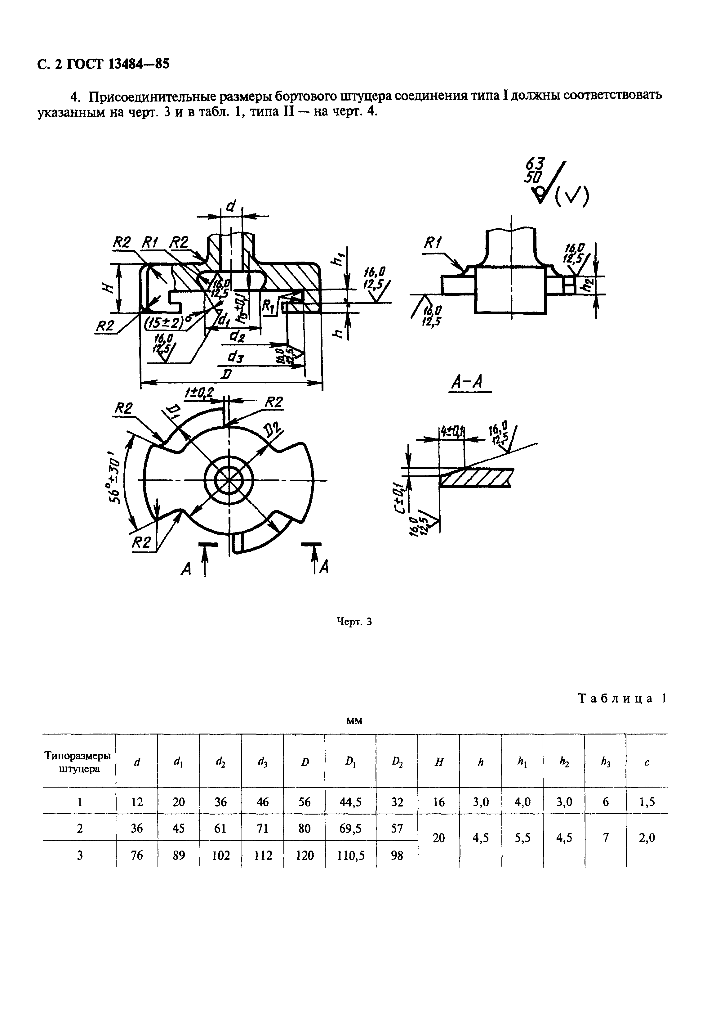
ГОСТ 13484-85

Соединение бортового штуцера с наконечником аэродромных кондиционеров и подогревателей. Типы и размеры

Обозначение: ГОСТ 13484-85
Обозначение англ: GOST 13484-85
Статус:действует
Название рус.:Соединение бортового штуцера с наконечником аэродромных кондиционеров и подогревателей. Типы и размеры
Название англ.:Board pipe tip connections for ground air-conditioning units and heaters. Types and dimensions
Дата добавления в базу:01.09.2013
Дата актуализации:01.01.2021
Дата введения:01.07.1986
Область применения:Стандарт распространяется на соединения бортовых штуцеров с наконечниками аэродромных кондиционеров и подогревателей, предназначенных для нагнетания охлажденного или подогретого воздуха в кабины, салоны и отсеки самолетов и вертолетов, в защитное снаряжение экипажей и мотогондолы двигателей.
Утверждён:30.01.1985 Госстандарт СССР (USSR Gosstandart 209)
Издан: Издательство стандартов (1985 г. )
ИПК Издательство стандартов (1999 г. )
Заменяет собой:
  • ГОСТ 13484-68 «Разъемы для подсоединения наземных кондиционеров и подогревателей к самолетам и вертолетам. Типы и размеры»
ГОСТ 13484-85ГОСТ 13484-85ГОСТ 13484-85ГОСТ 13484-85ГОСТ 13484-85ГОСТ 13484-85ГОСТ 13484-85