ГОСТ 13484-85
МЕЖГОСУДАРСТВЕННЫЙ СТАНДАРТ
СОЕДИНЕНИЕ БОРТОВОГО ШТУЦЕРА
С НАКОНЕЧНИКОМ АЭРОДРОМНЫХ
КОНДИЦИОНЕРОВ И ПОДОГРЕВАТЕЛЕЙ
ТИПЫ И РАЗМЕРЫ
ИПК ИЗДАТЕЛЬСТВО СТАНДАРТОВ
Москва
МЕЖГОСУДАРСТВЕННЫЙ СТАНДАРТ
|
СОЕДИНЕНИЕ БОРТОВОГО ШТУЦЕРА С НАКОНЕЧНИКОМ АЭРОДРОМНЫХ КОНДИЦИОНЕРОВ И ПОДОГРЕВАТЕЛЕЙ Типы и размеры Board pipe tip connections for ground
air-conditioning units and heaters. |
ГОСТ |
Дата введения 01.07.86
1. Настоящий стандарт распространяется на соединения бортовых штуцеров с наконечниками аэродромных кондиционеров и подогревателей, предназначенных для нагнетания охлажденного или подогретого воздуха в кабины, салоны и отсеки самолетов и вертолетов, в защитное снаряжение экипажей и мотогондолы двигателей.
Стандарт соответствует международному стандарту ИСО 1034-73 в части соединения диаметром 203 мм (8 дюймов).
2. В зависимости от конструктивного исполнения и назначения соединения подразделяют на два типа:
I - с байонетным соединением штуцера и наконечника для нагнетания воздуха в защитное снаряжение, кабины и салоны самолетов и вертолетов объемом до 50 м3;
II - с соединением штуцера и наконечника с помощью захватов для нагнетания воздуха в кабины и отсеки самолетов и вертолетов объемом свыше 50 м3, а также в мотогондолы двигателей.
3. Соединение типа I должно соответствовать указанному на черт. 1, типа II - на черт. 2.
|
* Размеры для справок. 1 - бортовой штуцер; 2 - наконечник аэродромного кондиционера или подогревателя; 3 - уплотнительное кольцо Черт. 1 |
1 - бортовой штуцер; 2 - наконечник аэродромного кондиционера или подогревателя; 3 - захват; 4 - уплотнительное кольцо Черт. 2 |
4. Присоединительные размеры бортового штуцера соединения типа I должны соответствовать указанным на черт. 3 и в табл. 1, типа II - на черт. 4.
Черт. 3
Таблица 1
мм
|
d |
d1 |
d2 |
d3 |
D |
D1 |
D2 |
H |
h |
h1 |
h2 |
h3 |
с |
|
|
1 |
12 |
20 |
36 |
46 |
56 |
44,5 |
32 |
16 |
3,0 |
4,0 |
3,0 |
6 |
1,5 |
|
2 |
36 |
45 |
61 |
71 |
80 |
69,5 |
57 |
20 |
4,5 |
5,5 |
4,5 |
7 |
2,0 |
|
3 |
76 |
89 |
102 |
112 |
120 |
110,5 |
98 |
Черт. 4
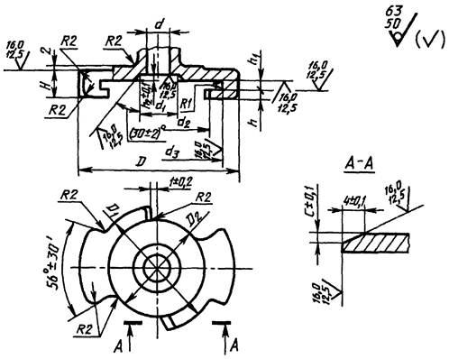
5. Присоединительные размеры наконечника аэродромного кондиционера или подогревателя типа I должны соответствовать указанным на черт. 5 и в табл. 2, типа II - на черт. 6.
Черт. 5
Таблица 2
мм
|
d |
d1 |
d2 |
d3 |
D |
D1 |
D2 |
H |
h |
h1 |
h2 |
с |
|
|
1 |
12 |
17,0 |
36 |
46 |
56 |
44,5 |
32 |
10,5 |
3,0 |
4,0 |
3,0 |
1,5 |
|
2 |
36 |
41,5 |
61 |
71 |
80 |
69,5 |
57 |
14,5 |
4,5 |
5,5 |
1,7 |
2,0 |
|
3 |
76 |
85,0 |
102 |
112 |
120 |
110,5 |
98 |
2,5 |
Черт. 6
4, 5. (Измененная редакция, Изм. № 1).
6. Неуказанные предельные
отклонения размеров: отверстий Н12, валов h12, остальных ![]()
7а. Для обеспечения уплотнения соединения бортового штуцера и наконечника аэродромного кондиционера и подогревателя захват (см. черт. 6) должен иметь ход вдоль продольной оси не менее 7 мм.
7б. Острые кромки по контуру А скруглить R 0,3+0,1.
7а, 7б. (Введены дополнительно, Изм. № 1).
7. Размеры уплотнительного кольца соединения типа I должны соответствовать указанным на черт. 7 и в табл. 3, типа II - на черт. 8.
Черт. 7
Таблица 3
мм
|
d |
D |
|
|
±0,5 |
±0,5 |
|
|
1 |
12 |
23,5 |
|
2 |
36 |
48,0 |
|
3 |
76 |
92,0 |
Черт. 8
(Измененная редакция, Изм. № 1).
8. Зоны свободного подхода установки бортового штуцера соединений указаны в приложении.
Пример условного обозначения соединения типа I типоразмера 2:
Соединение 1-2 ГОСТ 13484-85
Обязательное
ЗОНЫ СВОБОДНОГО ПОДХОДА УСТАНОВКИ БОРТОВОГО ШТУЦЕРА СОЕДИНЕНИЙ

Черт. 1

Черт. 2
мм
|
Типоразмеры соединения |
Dmin |
Lmax |
|
1 |
75 |
40 |
|
2 |
100 |
50 |
|
3 |
140 |
ИНФОРМАЦИОННЫЕ ДАННЫЕ
1. УТВЕРЖДЕН И ВВЕДЕН В ДЕЙСТВИЕ Постановлением Государственного комитета СССР по стандартам от 30.01.85 № 209
2. ВЗАМЕН ГОСТ 13484-68
3. ПЕРЕИЗДАНИЕ (март 1999 г.) с Изменением № 1, утвержденным в марте 1989 г. (ИУС 6-89)