Скачать ГОСТ 15518-87 Аппараты теплообменные пластинчатые. Типы, параметры и основные размерыДата актуализации: 01.01.2021 ГОСТ 15518-87
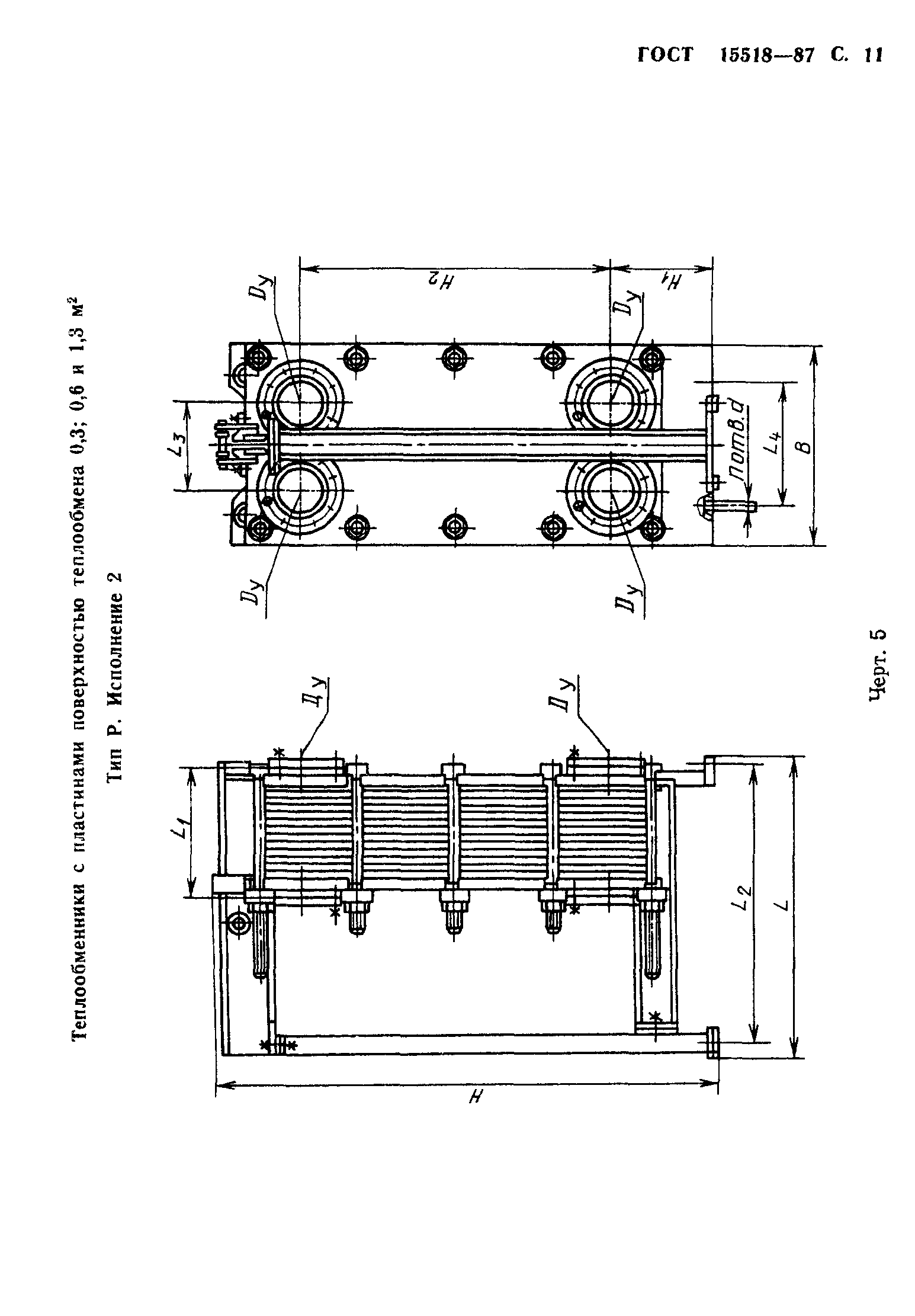
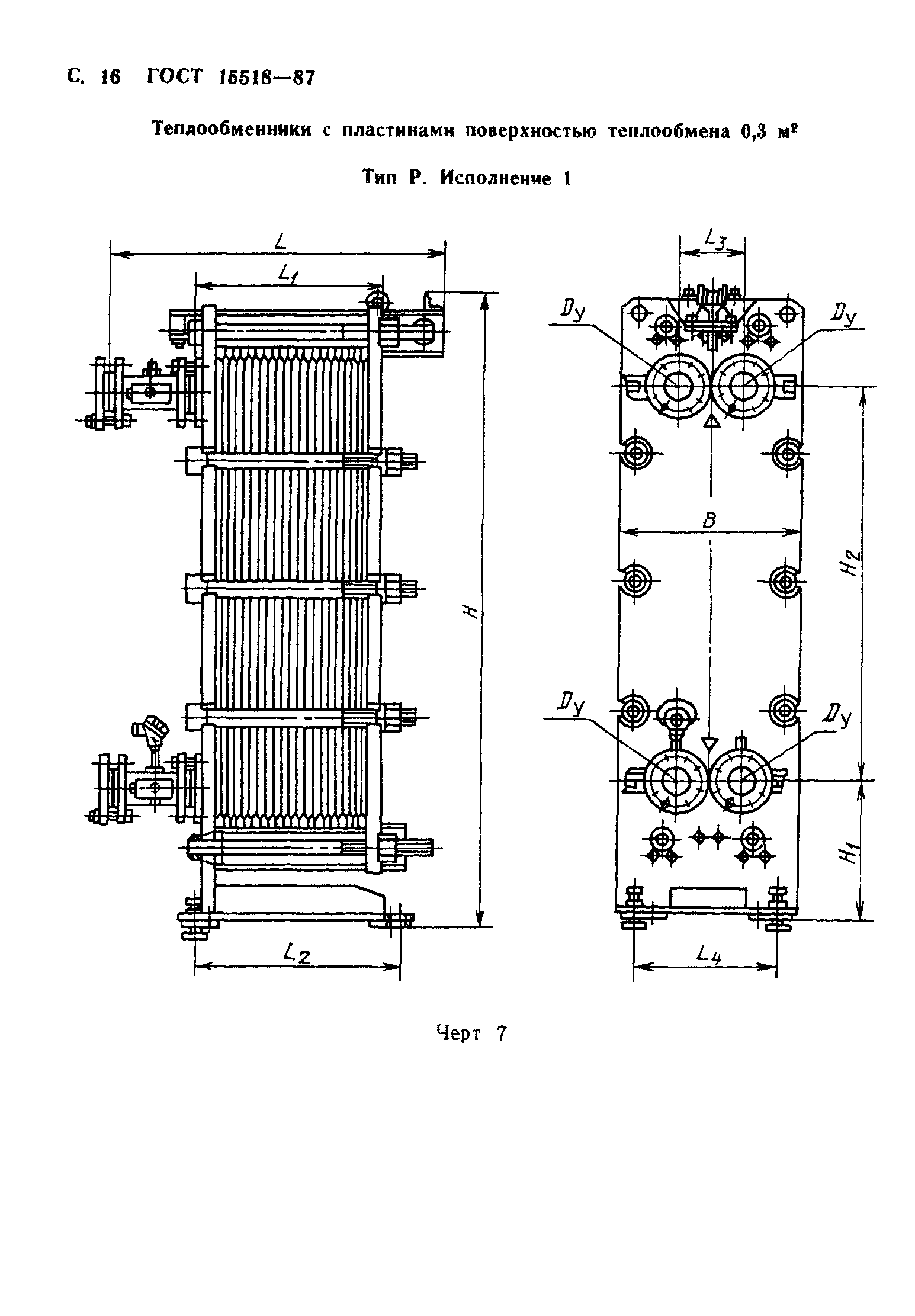
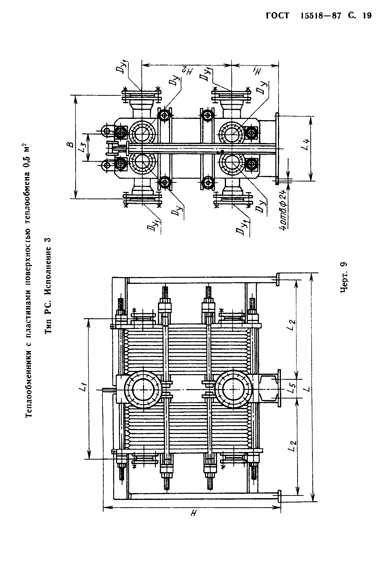
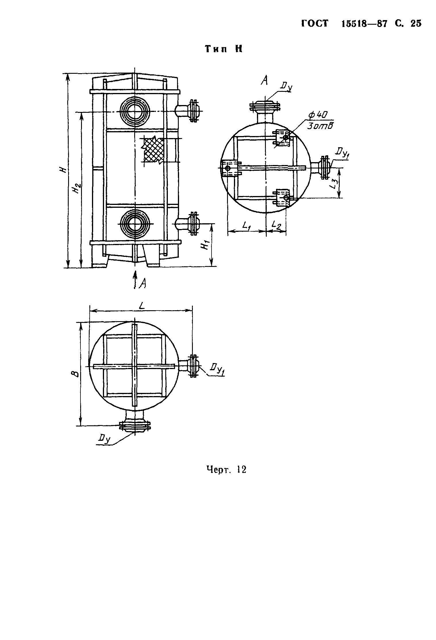
Аппараты теплообменные пластинчатые. Типы, параметры и основные размеры| Обозначение: | ГОСТ 15518-87 | | Обозначение англ: | GOST 15518-87 | | Статус: | действует | | Название рус.: | Аппараты теплообменные пластинчатые. Типы, параметры и основные размеры | | Название англ.: | Plate heat exchanges. Types, parameters and basic dimensions | | Дата добавления в базу: | 01.09.2013 | | Дата актуализации: | 01.01.2021 | | Дата введения: | 01.01.1990 | | Область применения: | Стандарт распространяется на теплообменные пластинчатые аппараты поверхностью теплообмена от 1 до 800 м кв, работающие при избыточном давлении не ниже 0,002 МПа и температурах рабочих сред от минус 70 до плюс 200 град. С. | | Разработан: | ТК 260 Оборудование химическое и нефтеперерабатывающее
| | Утверждён: | 28.09.1987 Госстандарт СССР (USSR Gosstandart 3714)
| | Издан: | Издательство стандартов (1987 г. ) ИПК Издательство стандартов (1999 г. )
| | Заменяет собой: | | | Нормативные ссылки: | |
                             
|