Скачать ГОСТ 18065-91 Станки зубофрезерные горизонтальные для цилиндрических колес. Основные параметры и размеры. Нормы точностиДата актуализации: 01.01.2021
|
| Обозначение: | ГОСТ 18065-91 |
| Обозначение англ: | GOST 18065-91 |
| Статус: | действует |
| Название рус.: | Станки зубофрезерные горизонтальные для цилиндрических колес. Основные параметры и размеры. Нормы точности |
| Название англ.: | Horisontal gear-hobbing machines for spur gears. Basic parameters and dimensions. Standards of accuracy |
| Дата добавления в базу: | 01.09.2013 |
| Дата актуализации: | 01.01.2021 |
| Дата введения: | 01.01.1993 |
| Область применения: | Стандарт распространяется на горизонтальные зубофрезерные станки общего назначения классов точности Н, П. В, А и С (в том числе на станки вспомогательного производства), работающие червячной фрезой по ГОСТ 9324, предназначенные для обработки цилиндрических колес и валов-шестерен с наибольшим диаметром до 1250 мм, изготовляемые для нужд народного хозяйства и экспорта. Стандарт не распространяется на специальные и специализированные станки, а также на станки для цилиндрических мелкомодульных колес. |
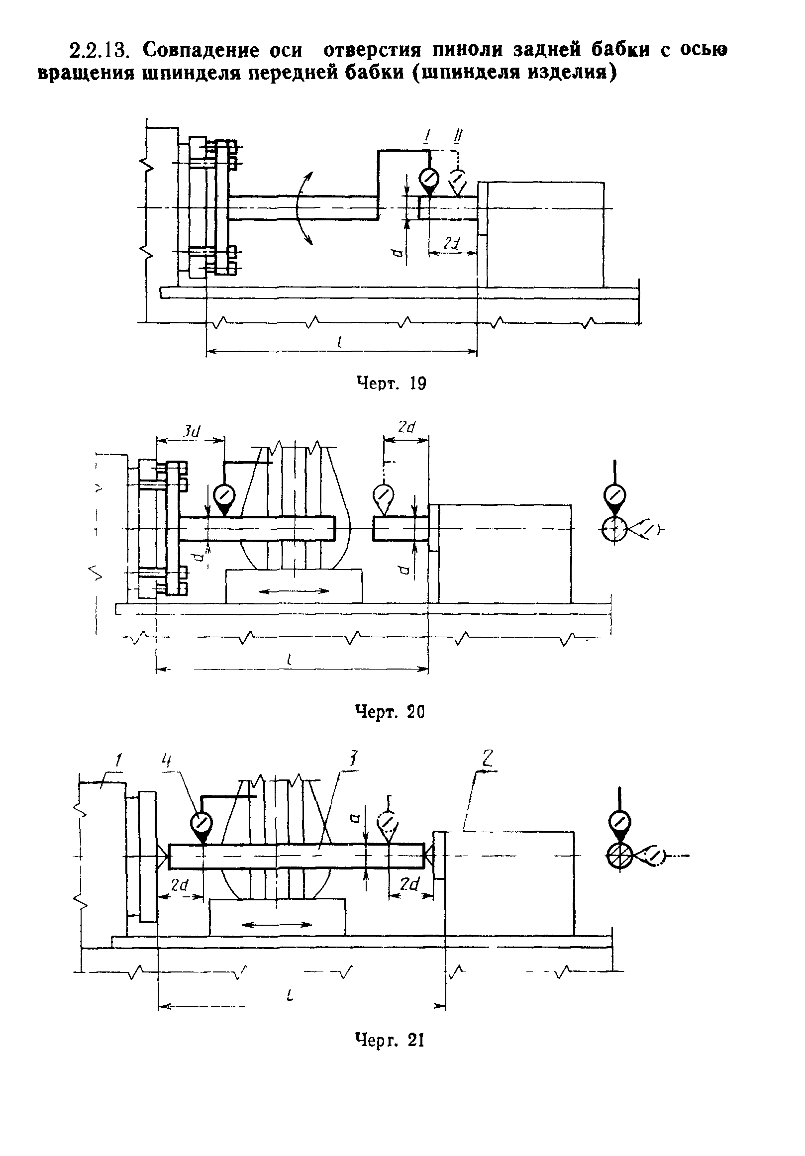
| Оглавление: | 1 Основные параметры и размеры 2 Точность станка 3 Точность образца-изделия Приложение (справочное) Пример определения отклонения от постоянства положения оси вращения шпинделя передней бабки (п. 2.2.3) Приложение (рекомендуемое) Точность кинематической цепи взаимосвязанного поворота шпинделя передней бабки (шпинделя изделия) относительно шпинделя фрезы |
| Разработан: | ТК 70 Станки |
| Утверждён: | 26.06.1991 Госстандарт России (Russian Federation Gosstandart 1030) |
| Издан: | Издательство стандартов (1992 г. ) |
| Заменяет собой: |
|
| Нормативные ссылки: |
|





























