Скачать ГОСТ 18812-81 Штампы для листовой штамповки. Державки для направляющих ступенчатых колонок и направляющих втулок. Конструкция и размеры

Дата актуализации: 01.01.2021

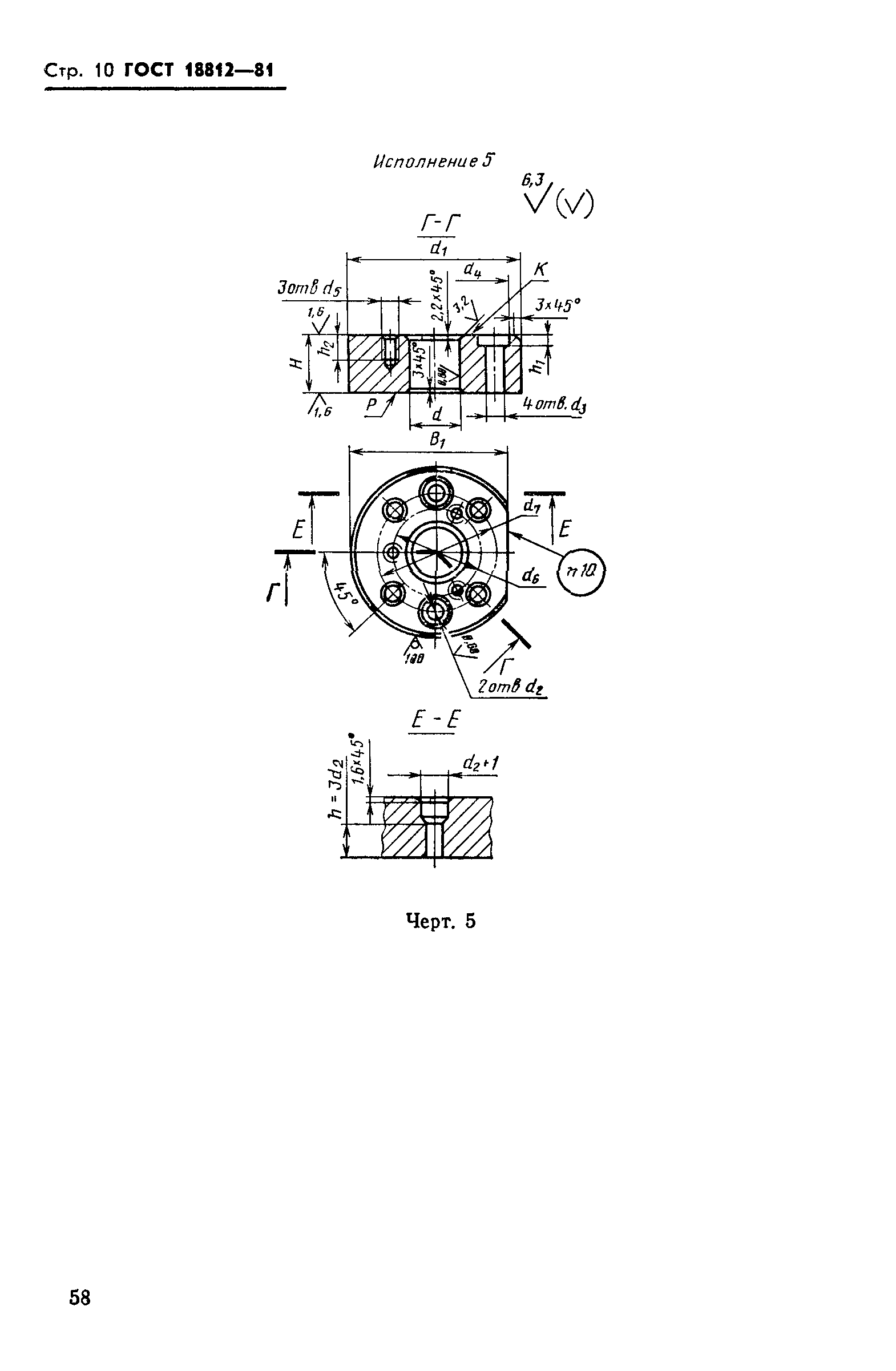
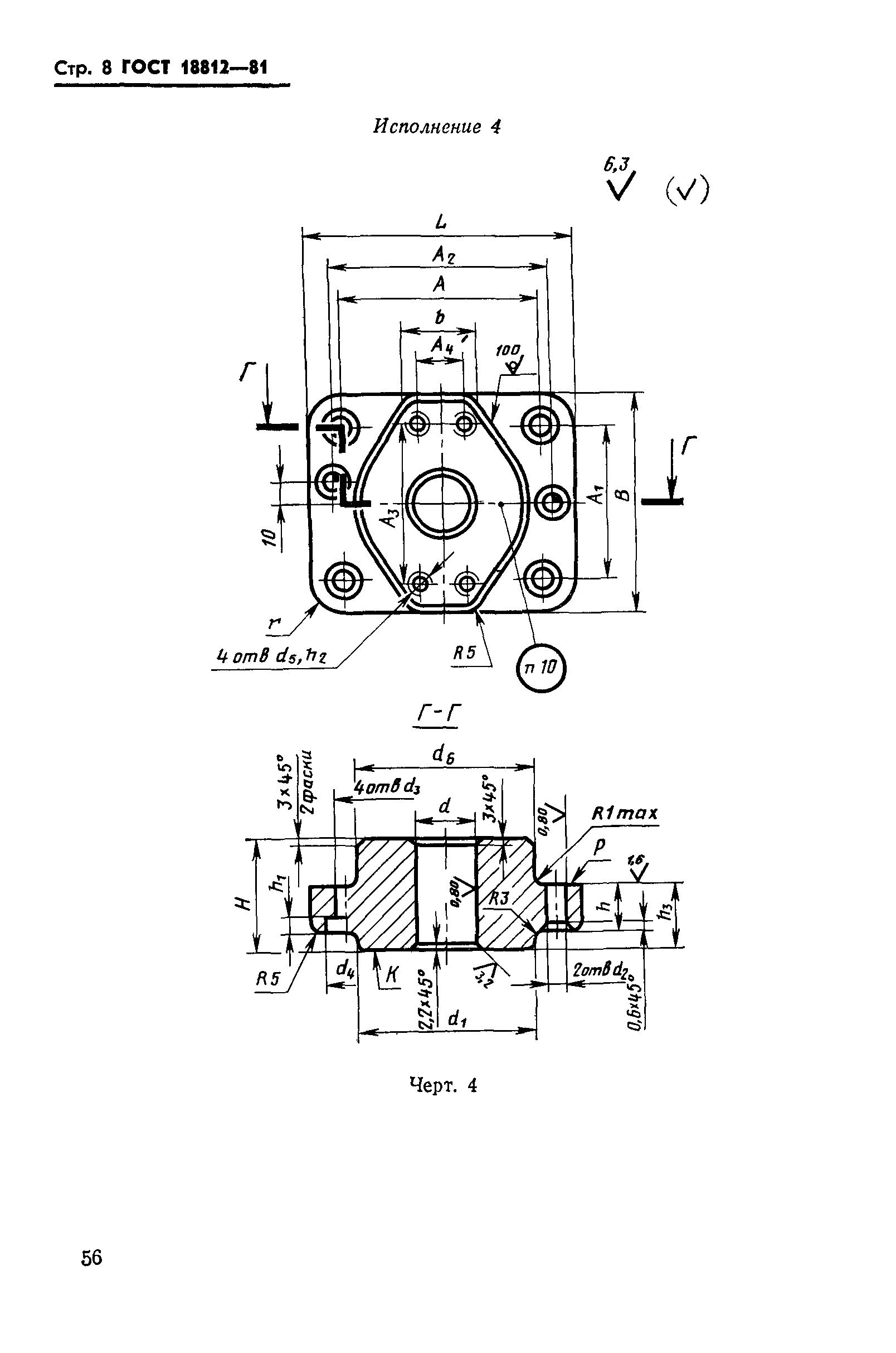
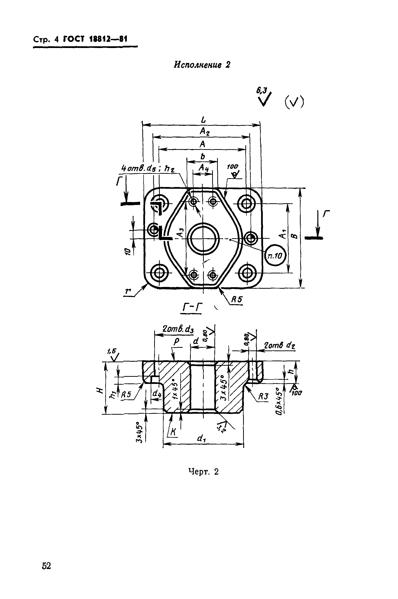
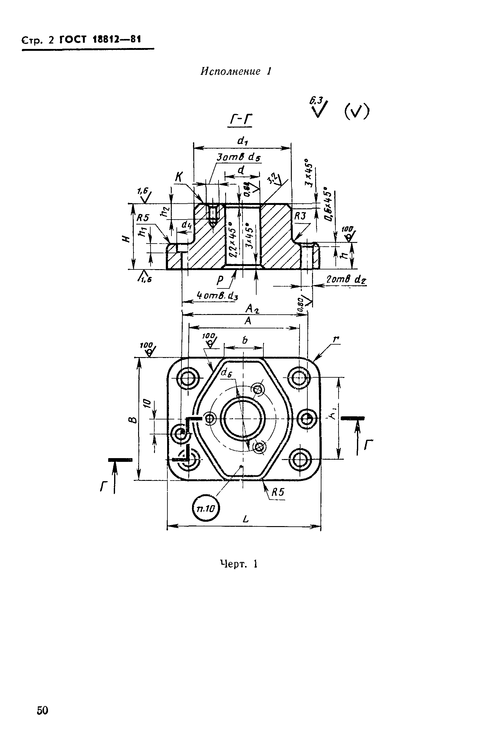
ГОСТ 18812-81

Штампы для листовой штамповки. Державки для направляющих ступенчатых колонок и направляющих втулок. Конструкция и размеры

Обозначение: ГОСТ 18812-81
Обозначение англ: GOST 18812-81
Статус:взамен
Название рус.:Штампы для листовой штамповки. Державки для направляющих ступенчатых колонок и направляющих втулок. Конструкция и размеры
Название англ.:Sheet stamping dies. Holders for guide posts with flute and guide bushes. Design and dimensions
Дата добавления в базу:01.09.2013
Дата актуализации:01.01.2021
Дата введения:01.01.1982
Оглавление:Приложение (Справочное)
Утверждён:27.01.1981 Государственный комитет СССР по стандартам (USSR National Committee on Standards 255)
Издан: Издательство стандартов (1987 г. )
Заменяет собой:
Нормативные ссылки:
ГОСТ 18812-81ГОСТ 18812-81ГОСТ 18812-81ГОСТ 18812-81ГОСТ 18812-81ГОСТ 18812-81ГОСТ 18812-81ГОСТ 18812-81ГОСТ 18812-81ГОСТ 18812-81ГОСТ 18812-81ГОСТ 18812-81ГОСТ 18812-81ГОСТ 18812-81