Скачать ГОСТ 13119-81 Штампы для листовой штамповки. Колонки направляющие ступенчатые. Конструкция и размерыДата актуализации: 01.01.2021 ГОСТ 13119-81
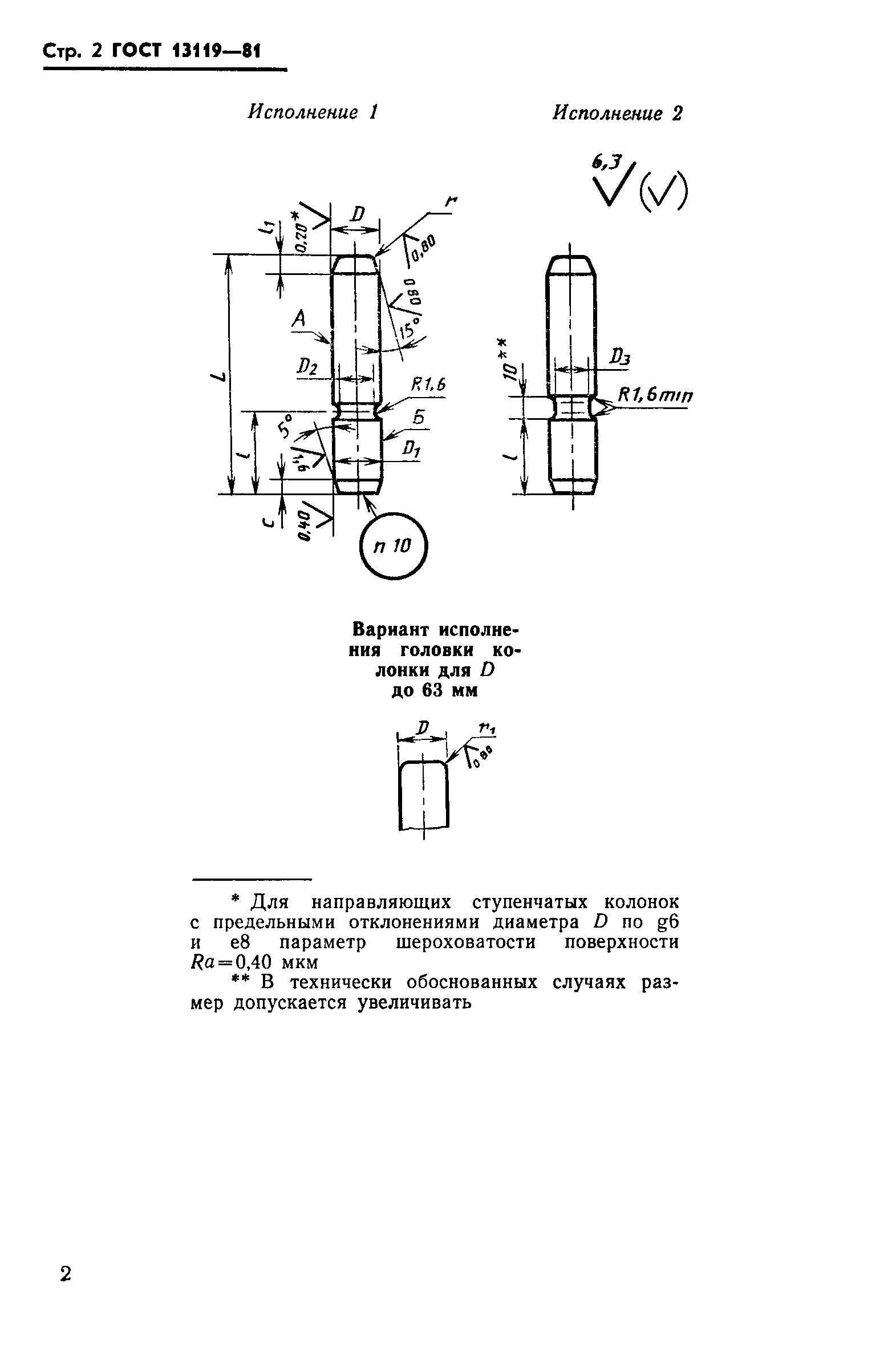
Штампы для листовой штамповки. Колонки направляющие ступенчатые. Конструкция и размеры| Обозначение: | ГОСТ 13119-81 | | Обозначение англ: | GOST 13119-81 | | Статус: | действует | | Название рус.: | Штампы для листовой штамповки. Колонки направляющие ступенчатые. Конструкция и размеры | | Название англ.: | Die posta with flute for cold plastic working dies. Construction and dimensions | | Дата добавления в базу: | 01.09.2013 | | Дата актуализации: | 01.01.2021 | | Дата введения: | 01.01.1982 | | Утверждён: | 27.01.1981 Госстандарт СССР (USSR Gosstandart 252)
|
                                 
|