Скачать ГОСТ 19934-74 Блок универсальный для быстросменных пакетов пресс-форм литья под давлением. Конструкция и размеры

Дата актуализации: 01.01.2021

ГОСТ 19934-74

Блок универсальный для быстросменных пакетов пресс-форм литья под давлением. Конструкция и размеры

Обозначение: ГОСТ 19934-74
Обозначение англ: GOST 19934-74
Статус:взамен
Название рус.:Блок универсальный для быстросменных пакетов пресс-форм литья под давлением. Конструкция и размеры
Название англ.:General-duty unit for quick-changeable die sets of dies for die casting. Design and dimensions
Дата добавления в базу:01.09.2013
Дата актуализации:01.01.2021
Дата введения:01.07.1975
Область применения:Стандарт распространяется на универсальный блок для быстросменного пакета по ГОСИ 19935-74, применяемый при литье под давлением деталей из цветных сплавов на машинах с горизонтальной камерой прессования.
Оглавление:1 Конструкция и размеры универсального блока для быстросменных пакетов
2 Конструкция и размеры неподвижной плиты крепления
3 Конструкция и размеры прижима
4 Конструкция и размеры прижима
5 Конструкция и размеры подвижной обоймы
6 Конструкция и размеры неподвижной обоймы
7 Конструкция и размеры подкладной плиты
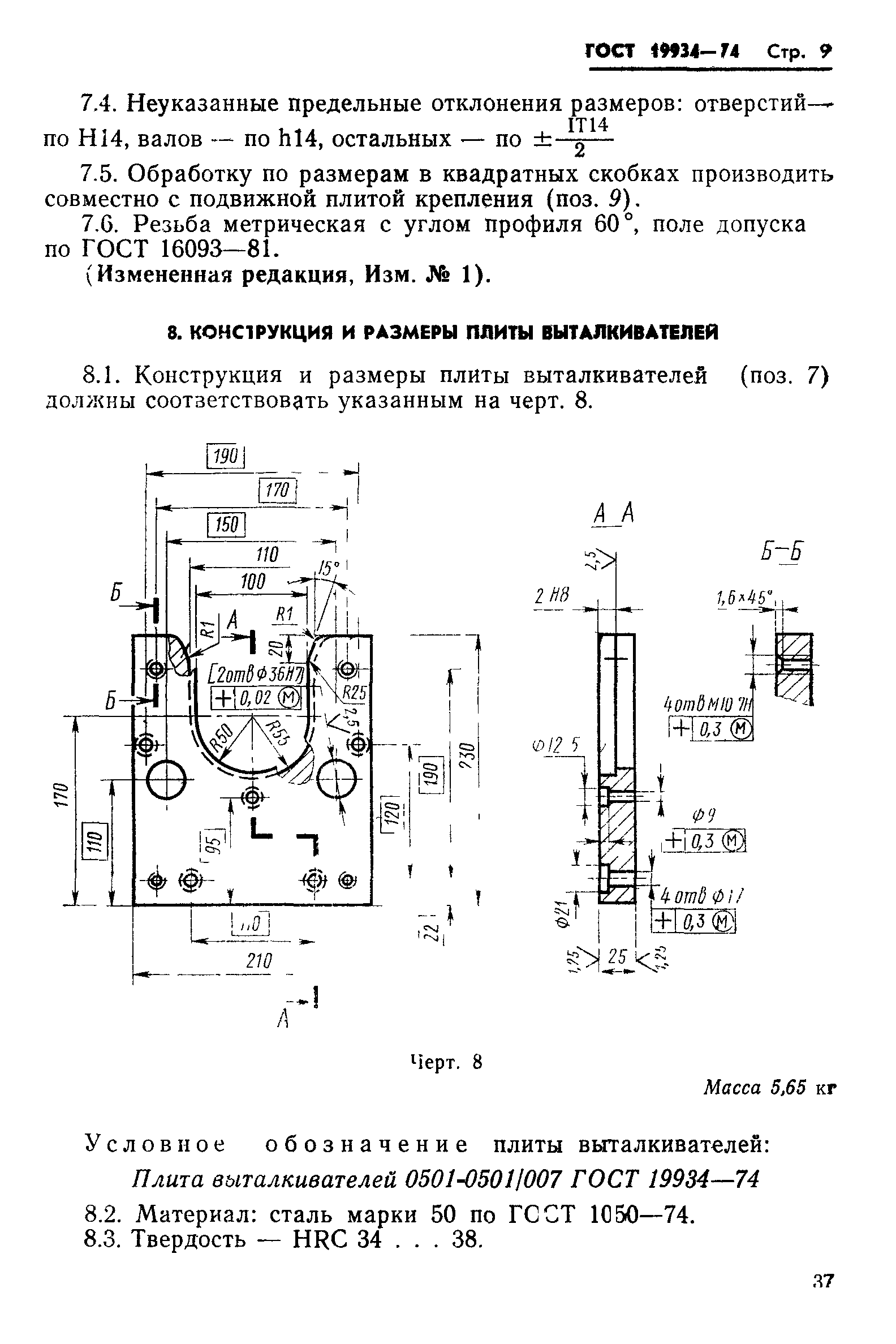
8 Конструкция и размеры плиты выталкивателей
9 Конструкция и размеры плиты съема
10 Конструкция и размеры подвижной плиты крепления
11 Конструкция и размеры стойки
12 Конструкция и размеры трубы
13 Конструкция и размеры опоры
14 Конструкция и размеры втулки
15 Конструкция и размеры крышки
Утверждён:24.07.1974 Государственный комитет стандартов Совета Министров СССР (USSR National Committee on Standards at the Cabinet of Ministers 1760)
Заменяет собой:
  • МН 1559-61 (Сведения из перечня "Указатель государственных стандартов СССР 1980 г.", Издательство стандартов 1980)
Нормативные ссылки:
ГОСТ 19934-74ГОСТ 19934-74ГОСТ 19934-74ГОСТ 19934-74ГОСТ 19934-74ГОСТ 19934-74ГОСТ 19934-74ГОСТ 19934-74ГОСТ 19934-74ГОСТ 19934-74ГОСТ 19934-74ГОСТ 19934-74ГОСТ 19934-74ГОСТ 19934-74ГОСТ 19934-74ГОСТ 19934-74ГОСТ 19934-74ГОСТ 19934-74