Скачать ГОСТ 20454-85 Изоляторы керамические проходные на напряжение свыше 1000 В. Типы, основные параметры и размеры

Дата актуализации: 01.01.2021

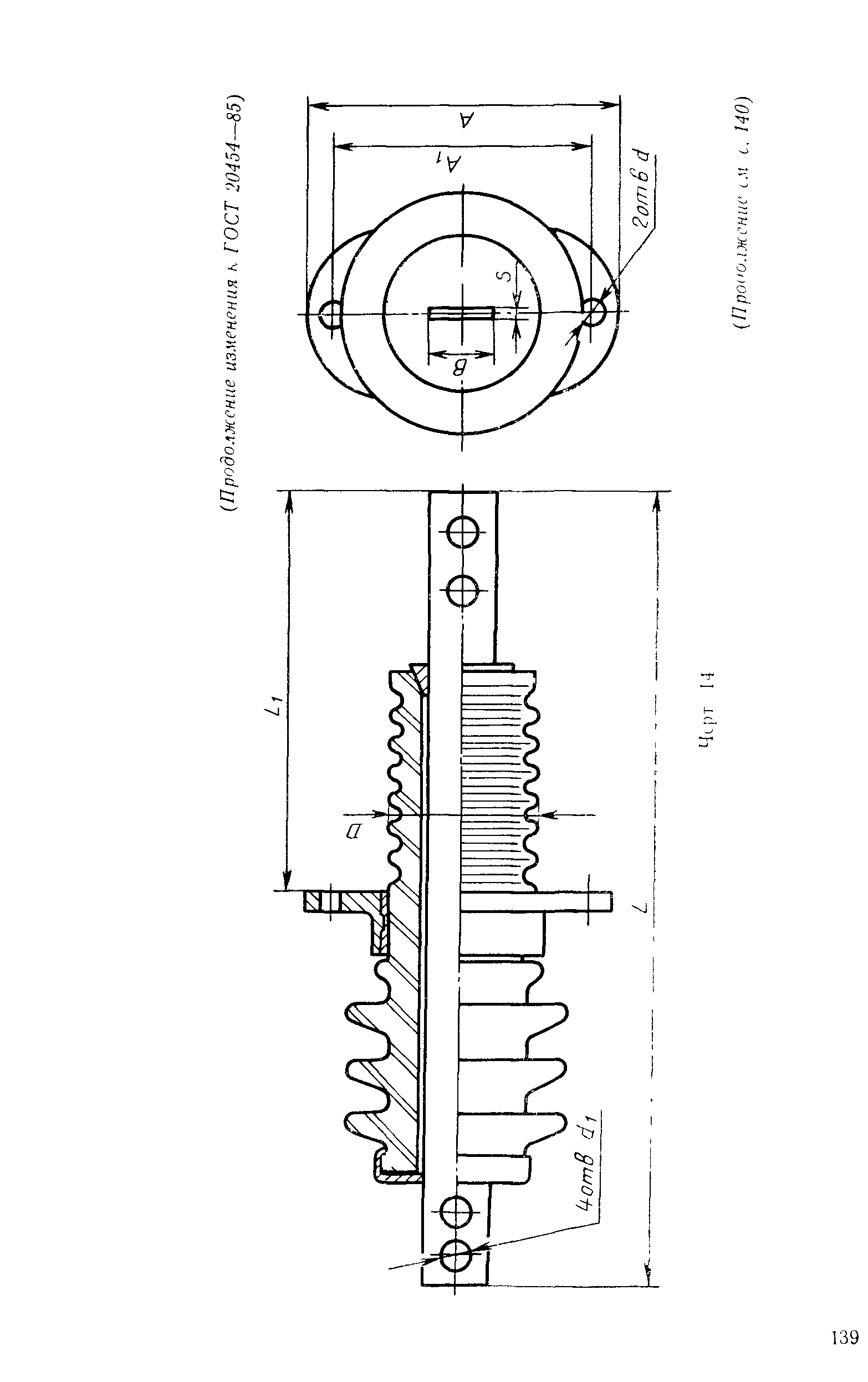
ГОСТ 20454-85

Изоляторы керамические проходные на напряжение свыше 1000 В. Типы, основные параметры и размеры

Обозначение: ГОСТ 20454-85
Обозначение англ: GOST 20454-85
Статус:взамен
Название рус.:Изоляторы керамические проходные на напряжение свыше 1000 В. Типы, основные параметры и размеры
Название англ.:Ceramic through insulators of nominal voltage over 1000 V. Types, main parameters and dimensions
Дата добавления в базу:01.09.2013
Дата актуализации:01.01.2021
Дата введения:01.01.1987
Область применения:Стандарт распространяется на керамические армированные проходные изоляторы, предназначенные для проведения и соединения токоведущих элементов в электрических аппаратах и распределительных устройствах электрических станций и подстанций переменного напряжения свыше 1000 В частоты до 100 Гц и устанавливает требования к изоляторам, изготовленным для нужд народного хозяйства и для экспорта. Стандарт распространяется на изоляторы с токопроводом и без токопровода с внешней изоляцией категорий А и Б.
Разработан: Министерство электротехнической промышленности СССР
Утверждён:29.11.1985 Государственный комитет СССР по стандартам (USSR National Committee on Standards 3769)
Издан: Издательство стандартов (1986 г. )
Список изменений:
Заменяет собой:
  • ГОСТ 20454-79 «Изоляторы проходные армированные фарфоровые на напряжение от 6 до 35 кВ для работы в помещении. Типы, основные параметры и размеры»
  • ГОСТ 20479-79 «Изоляторы проходные армированные фарфоровые для наружно-внутренних установок на напряжение от 10 до 35 кВ. Типы, основные параметры и размеры»
Нормативные ссылки:
ГОСТ 20454-85ГОСТ 20454-85ГОСТ 20454-85ГОСТ 20454-85ГОСТ 20454-85ГОСТ 20454-85ГОСТ 20454-85ГОСТ 20454-85ГОСТ 20454-85ГОСТ 20454-85ГОСТ 20454-85ГОСТ 20454-85ГОСТ 20454-85

Текстовое изменение № 1 от 01.07.1987

№ 1№ 1

Текстовое изменение № 2 от 01.01.1990

№ 2№ 2№ 2№ 2№ 2№ 2№ 2№ 2№ 2№ 2№ 2