Скачать ГОСТ 20801-75 Пальто мужское ведомственного назначения. Технические условия

Дата актуализации: 01.01.2021

ГОСТ 20801-75

Пальто мужское ведомственного назначения. Технические условия

Обозначение: ГОСТ 20801-75
Обозначение англ: GOST 20801-75
Статус:действует
Название рус.:Пальто мужское ведомственного назначения. Технические условия
Название англ.:Men's uniform coats. Specifications
Дата добавления в базу:01.09.2013
Дата актуализации:01.01.2021
Дата введения:01.07.1976
Область применения:Стандарт распространяется на мужские пальто ведомственного назначения для личного состава ведомственной военизированной охраны, профессиональной пожарной охраны и военизированных подразделений вневедомственной охраны МВД СССР, изготовляемые по госзаказу.
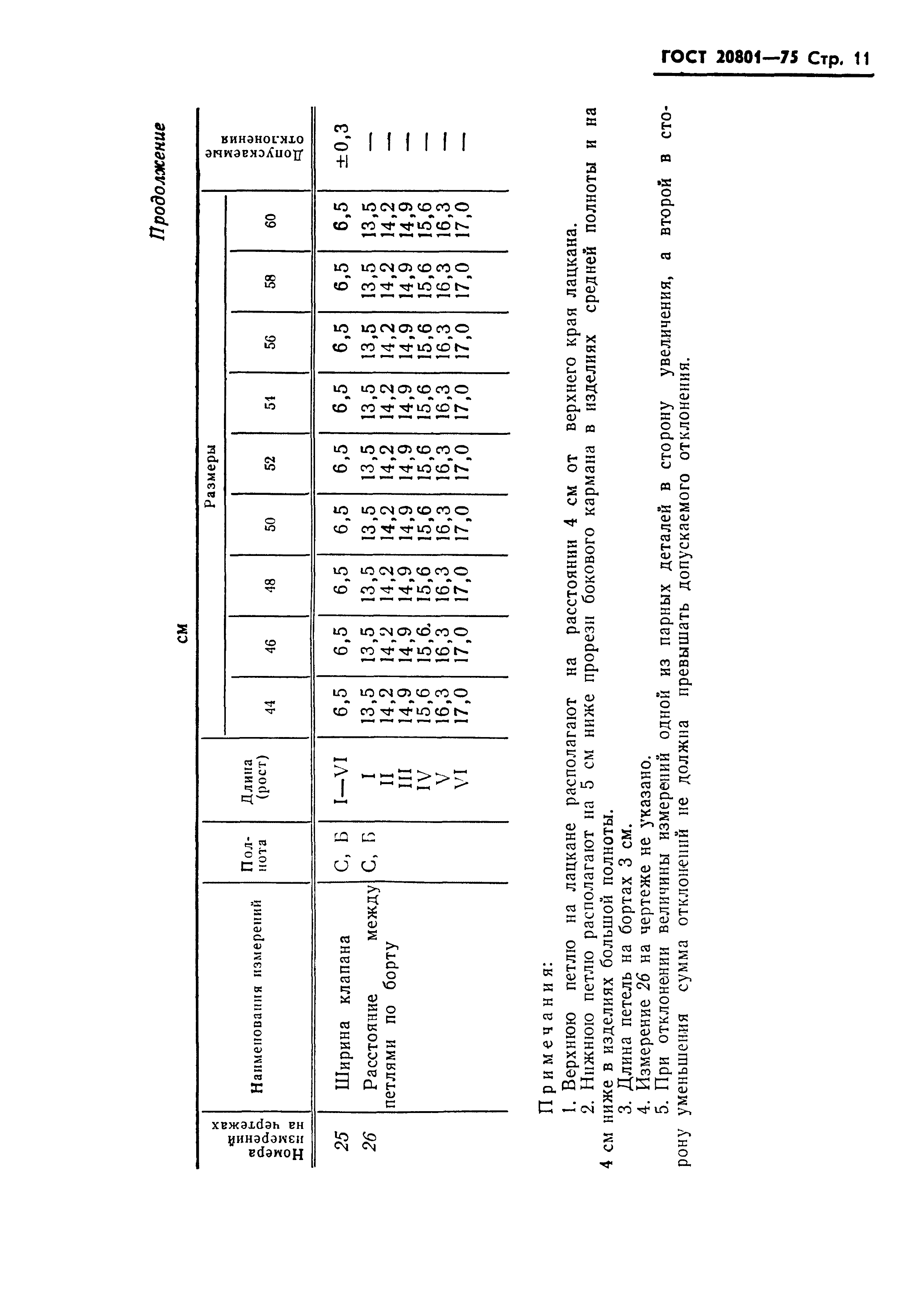
Оглавление:1 Основные размеры
2 Технические требования
3 Правила приемки
4 Маркировка, упаковка, транспортирование и хранение
Приложение 1 Пособие для построения чертежей лекал пальто мужского ведомственного назначения
Приложение 2 Особенности обработки пальто
Разработан: ЦНИИ швейной промышленности
Утверждён:06.05.1975 Госстандарт СССР (USSR Gosstandart 1173)
Издан: Издательство стандартов (1975 г. )
Нормативные ссылки:
ГОСТ 20801-75ГОСТ 20801-75ГОСТ 20801-75ГОСТ 20801-75ГОСТ 20801-75ГОСТ 20801-75ГОСТ 20801-75ГОСТ 20801-75ГОСТ 20801-75ГОСТ 20801-75ГОСТ 20801-75ГОСТ 20801-75ГОСТ 20801-75ГОСТ 20801-75ГОСТ 20801-75ГОСТ 20801-75ГОСТ 20801-75ГОСТ 20801-75ГОСТ 20801-75ГОСТ 20801-75ГОСТ 20801-75ГОСТ 20801-75ГОСТ 20801-75ГОСТ 20801-75ГОСТ 20801-75ГОСТ 20801-75ГОСТ 20801-75ГОСТ 20801-75ГОСТ 20801-75ГОСТ 20801-75ГОСТ 20801-75ГОСТ 20801-75ГОСТ 20801-75ГОСТ 20801-75ГОСТ 20801-75ГОСТ 20801-75ГОСТ 20801-75ГОСТ 20801-75ГОСТ 20801-75ГОСТ 20801-75ГОСТ 20801-75ГОСТ 20801-75ГОСТ 20801-75ГОСТ 20801-75ГОСТ 20801-75ГОСТ 20801-75ГОСТ 20801-75ГОСТ 20801-75ГОСТ 20801-75ГОСТ 20801-75ГОСТ 20801-75ГОСТ 20801-75ГОСТ 20801-75