Скачать ГОСТ 20958-80 Лента магнитная без записи шириной 12,7 мм с катушкой. Общие технические условияДата актуализации: 01.01.2021
|
| Обозначение: | ГОСТ 20958-80 |
| Обозначение англ: | GOST 20958-80 |
| Статус: | действует |
| Название рус.: | Лента магнитная без записи шириной 12,7 мм с катушкой. Общие технические условия |
| Название англ.: | Unrecorded 12,7 mm magnetic tapes with bobbin for computers. General specifications |
| Дата добавления в базу: | 01.09.2013 |
| Дата актуализации: | 01.01.2021 |
| Дата введения: | 01.01.1982 |
| Область применения: | Стандарт распространяется на магнитные ленты без записи шириной 12,7 мм с катушкой, предназначенные для записи информации с плотностью 32 и 356 переходов потока на 1 мм (п.п./мм) способом без возвращения к нулю или 126 п.п./мм способом фазокодирования с продольной намагниченностью в накопителях на магнитных лентах для электронных вычислительных машин. |
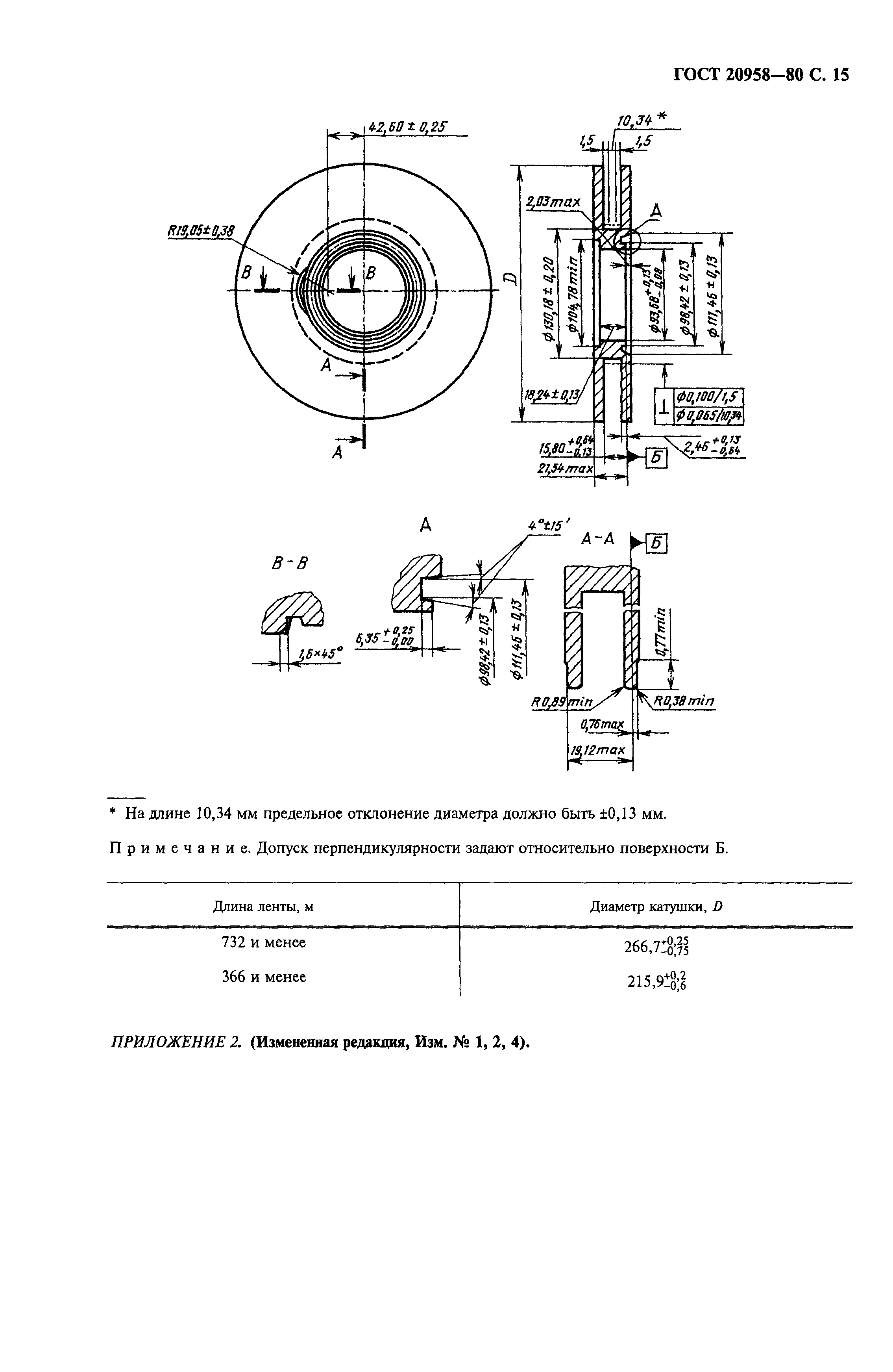
| Оглавление: | 1 Основные размеры 2 Технические требования 3 Правила приемки 4 Методы испытаний 5 Маркировка, упаковка, транспортирование и хранение 6 Указание по эксплуатации 7 Гарантии изготовителя Приложение 1 (справочное) Термины, используемые в стандарте, и их пояснения Приложение 2 (обязательное) Основные требования к катушкам, контейнерам и предохранительным пояскам Приложение 3 (Исключено, Изм. № 2) Приложение 4 (рекомендуемое) Указания по эксплуатации |
| Разработан: | Министерство химической и нефтеперерабатывающей промышленности |
| Утверждён: | 21.07.1980 Государственный комитет СССР по стандартам (USSR National Committee on Standards 3735) |
| Издан: | Издательство стандартов (1980 г. ) ИПК Издательство стандартов (2000 г. ) |
| Список изменений: |
|
| Нормативные ссылки: |
|



















Текстовое изменение № 4 от 01.09.1991



Текстовое изменение № 3 от 01.09.1988


