Скачать ГОСТ 21331-75 Винты с накатанной высокой головкой. Конструкция и размерыДата актуализации: 01.01.2021
|
| Обозначение: | ГОСТ 21331-75 |
| Обозначение англ: | GOST 21331-75 |
| Статус: | действует |
| Название рус.: | Винты с накатанной высокой головкой. Конструкция и размеры |
| Название англ.: | Screws with high knurled heads. Construction and dimensions |
| Дата добавления в базу: | 01.09.2013 |
| Дата актуализации: | 01.01.2021 |
| Дата введения: | 01.01.1977 |
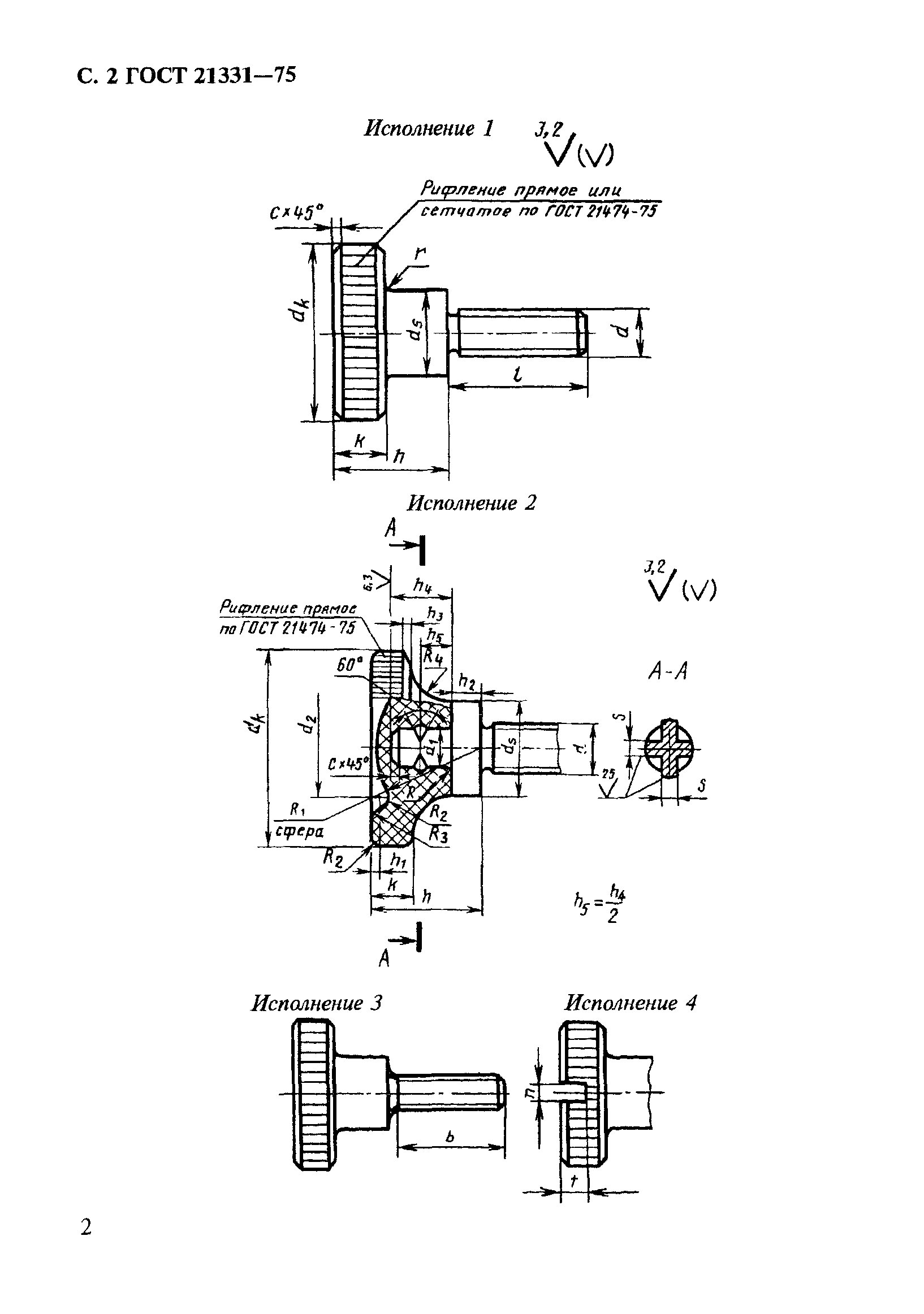
| Область применения: | Стандарт распространяется на цельные и составные винты с металлической или пластмассовой накатанной высокой головкой классов точности А и В с диаметром резьбы от 1 до 12 мм. |
| Оглавление: | Приложение 1 Приложение 2 |
| Утверждён: | 08.12.1975 Госстандарт СССР (USSR Gosstandart 3800) |
| Издан: | Издательство стандартов (1975 г. ) ИПК Издательство стандартов (1997 г. ) |
| Заменяет собой: |
|
| Нормативные ссылки: |
|









