Скачать ГОСТ 21337-75 Винты с накатанной низкой головкой и цилиндрическим концом. Конструкция и размеры

Дата актуализации: 01.01.2021

ГОСТ 21337-75

Винты с накатанной низкой головкой и цилиндрическим концом. Конструкция и размеры

Обозначение: ГОСТ 21337-75
Обозначение англ: GOST 21337-75
Статус:действует
Название рус.:Винты с накатанной низкой головкой и цилиндрическим концом. Конструкция и размеры
Название англ.:Screws with low knurled heads and full dog point. Construction and dimensions
Дата добавления в базу:01.09.2013
Дата актуализации:01.01.2021
Дата введения:01.01.1977
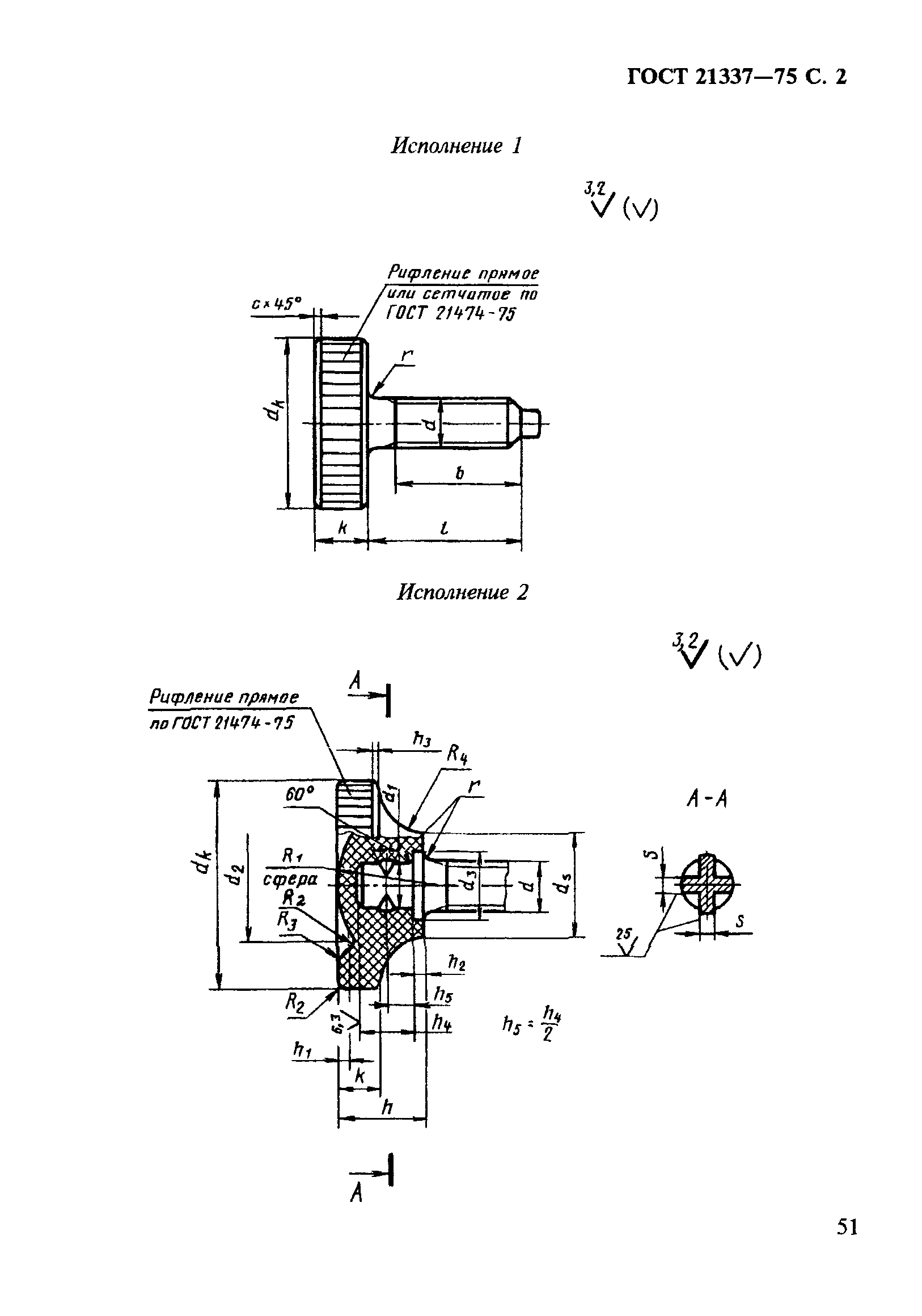
Область применения:Стандарт распространяется на цельные и составные винты с металлической или пластмассовой низкой головкой и цилиндрическим концом классов точности А и В с диаметром резьбы от 2 до 12 мм.
Оглавление:Приложение 1
Приложение 2
Утверждён:08.12.1975 Госстандарт СССР (USSR Gosstandart 3800)
Издан: Издательство стандартов (1997 г. )
Заменяет собой:
  • ГОСТ 10492-63 «Винты с накатанной низкой головкой. Размеры» (в части варианта с цилиндрическим концом)
Нормативные ссылки:
ГОСТ 21337-75ГОСТ 21337-75ГОСТ 21337-75ГОСТ 21337-75ГОСТ 21337-75ГОСТ 21337-75ГОСТ 21337-75