Скачать ГОСТ 22327-93 Крепления скобовые для деревянных разъемных стержневых ящиков. Конструкция

Дата актуализации: 01.01.2021

ГОСТ 22327-93

Крепления скобовые для деревянных разъемных стержневых ящиков. Конструкция

Обозначение: ГОСТ 22327-93
Обозначение англ: GOST 22327-93
Статус:взамен
Название рус.:Крепления скобовые для деревянных разъемных стержневых ящиков. Конструкция
Название англ.:Cramp fixtures for wooden split core boxes. Design
Дата добавления в базу:01.09.2013
Дата актуализации:01.01.2021
Дата введения:01.01.1995
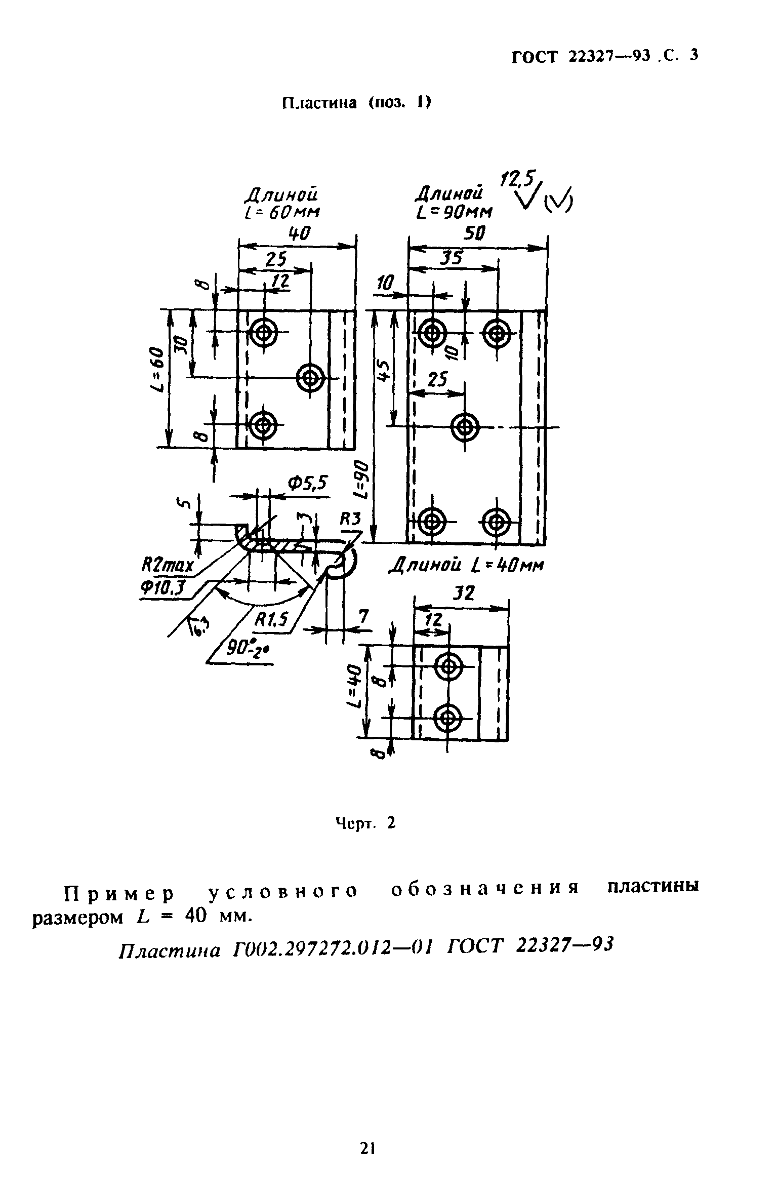
Область применения:Стандарт устанавливает конструкцию и размеры скобовых креплений.
Разработан: Госстандарт России
Утверждён:21.10.1993 Межгосударственный Совет по стандартизации, метрологии и сертификации (Inter-Governmental Council on Standardization, Metrology, and Certification )
02.06.1994 Комитет Российской Федерации по стандартизации, метрологии и сертификации (160)
Издан: ИПК Издательство стандартов (1995 г. )
Заменяет собой:
  • ГОСТ 22327-77 «Крепления скобовые для деревянных разъемных стержневых ящиков. Конструкция и размеры» (ИУС 5-94)
Нормативные ссылки:
ГОСТ 22327-93ГОСТ 22327-93ГОСТ 22327-93ГОСТ 22327-93ГОСТ 22327-93ГОСТ 22327-93ГОСТ 22327-93