Скачать ГОСТ 22343-90 Клемма раздельного рельсового скрепления железнодорожного пути. Технические условияДата актуализации: 01.01.2021
|
| Обозначение: | ГОСТ 22343-90 |
| Обозначение англ: | GOST 22343-90 |
| Статус: | заменен |
| Название рус.: | Клемма раздельного рельсового скрепления железнодорожного пути. Технические условия |
| Название англ.: | Clamp of indirect rail fastening of railway. Specifications |
| Дата добавления в базу: | 01.09.2013 |
| Дата актуализации: | 01.01.2021 |
| Дата введения: | 01.07.1991 |
| Дата окончания срока действия: | 01.07.2015 |
| Область применения: | Стандарт распространяется на жесткие клеммы ПК, применяемые для скрепления железнодорожных рельсов в раздельных рельсовых скреплениях на железобетонных и деревянных шпалах. |
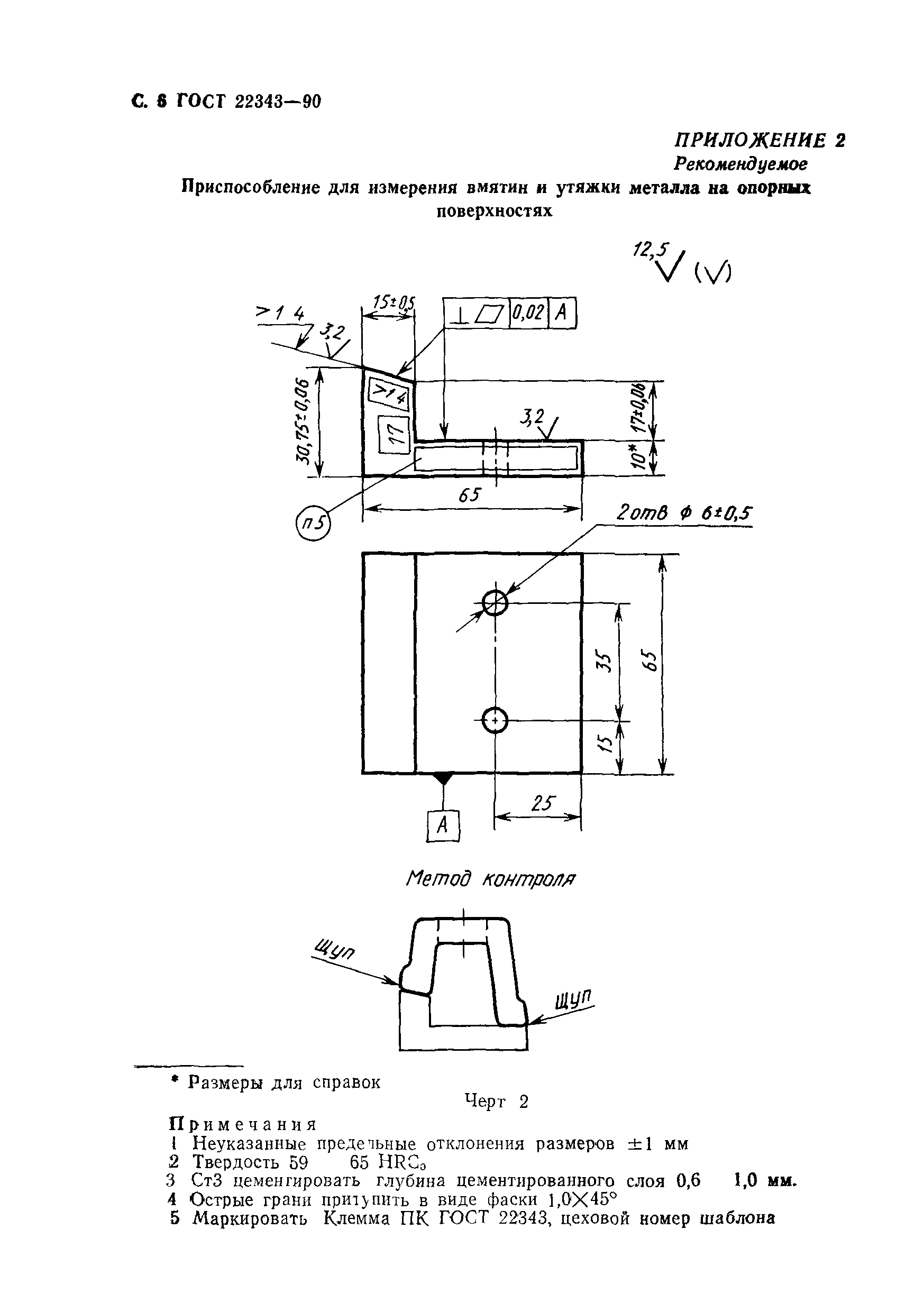
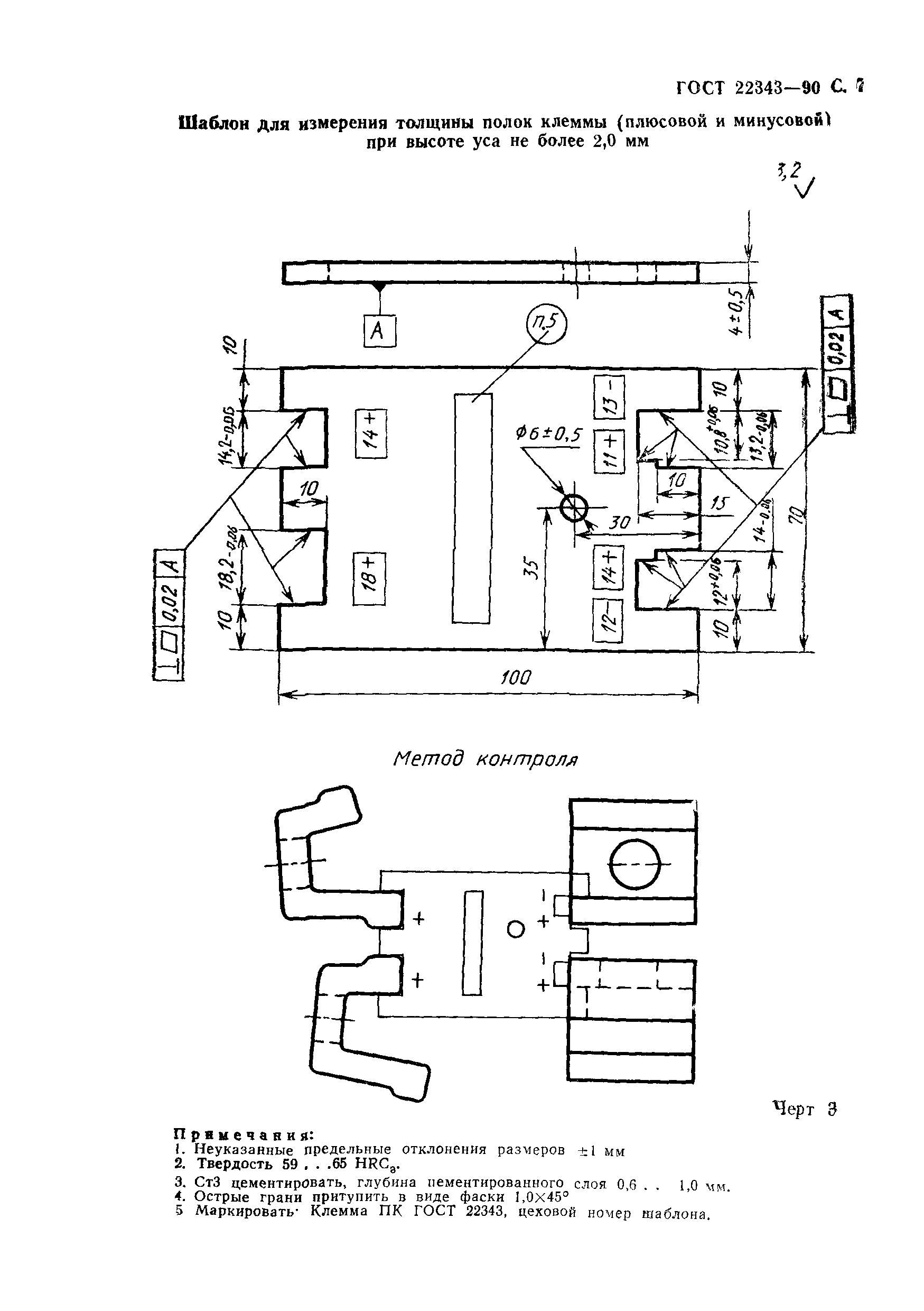
| Оглавление: | 1 Конструкция и размеры 2 Технические требования 3 Приемка 4 Методы контроля 5 Маркировка, упаковка и транспортирование Приложение 1 (справочное) Площадь сечения и масса клемм Приложение 2 (рекомендуемое) Приспособление для измерения вмятин и утяжки металла на опорных поверхностях |
| Разработан: | Министерство металлургии СССР Министерство путей сообщения СССР |
| Утверждён: | 27.06.1990 Государственный комитет СССР по управлению качеством продукции и стандартам (USSR National Committee on Standards and Product Quality Management 1902) |
| Издан: | Издательство стандартов (1990 г. ) |
| Заменяет собой: |
|
| Нормативные ссылки: |
|










