Скачать ГОСТ 22442-77 Изделия огнеупорные для стабилизирующих камер газовых горелок. Технические условия

Дата актуализации: 01.01.2021

ГОСТ 22442-77

Изделия огнеупорные для стабилизирующих камер газовых горелок. Технические условия

Обозначение: ГОСТ 22442-77
Обозначение англ: GOST 22442-77
Статус:введен впервые
Название рус.:Изделия огнеупорные для стабилизирующих камер газовых горелок. Технические условия
Название англ.:Refractory and high-refractory articles for stabilizing gas burner chambers. Specification
Дата добавления в базу:01.09.2013
Дата актуализации:01.01.2021
Дата введения:01.07.1978
Область применения:Стандарт распространяется на огнеупорные изделия для стабилизирующих камер газовых горелок. Имеющих среднюю скорость выхода воздуха из носика горелки не более 45 м/с (температуре воздуха 20 °С. Стандарт не распространяется на огнеупорные изделия для стабилизиирующих камер скоростных, радиационных и плоскосимметричных корелок.
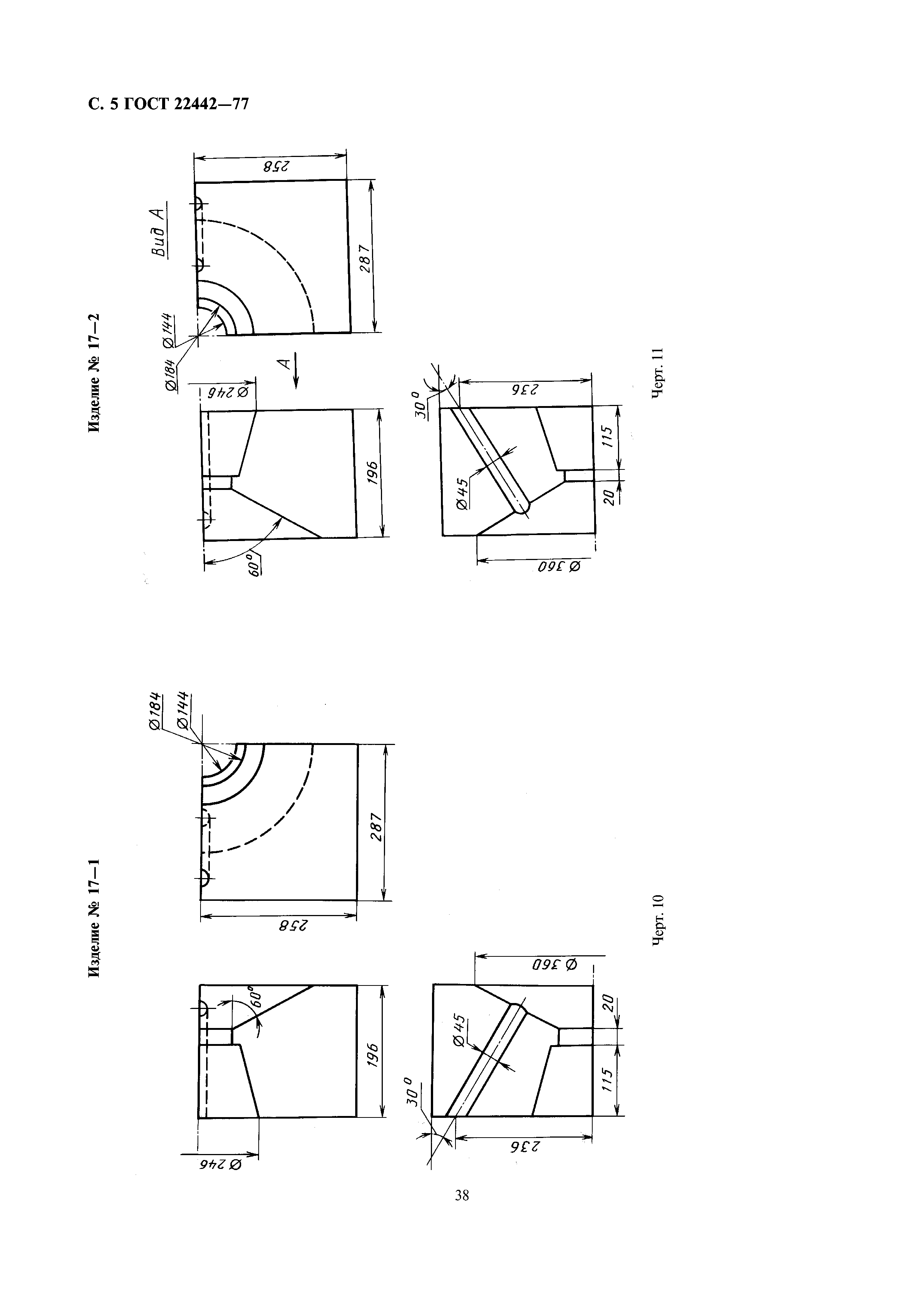
Оглавление:1 Марки
2 Основные параметры и размеры
3 Технические требования
4 Правила приемки
5 Методы испытаний
6 Маркировка, упаковка, транспортирование и хранение
Приложение 1 (справочное) Кажущаяся плотность изделий
Приложение 2 (справочное)
Разработан: Министерство газовой промышленности
Утверждён:17.09.1977 Государственный комитет стандартов Совета Министров СССР (USSR National Committee on Standards at the Cabinet of Ministers 761)
Издан: Издательство стандартов (1990 г. )
ИПК Издательство стандартов (2004 г. )
Нормативные ссылки:
ГОСТ 22442-77ГОСТ 22442-77ГОСТ 22442-77ГОСТ 22442-77ГОСТ 22442-77ГОСТ 22442-77ГОСТ 22442-77ГОСТ 22442-77ГОСТ 22442-77ГОСТ 22442-77ГОСТ 22442-77ГОСТ 22442-77ГОСТ 22442-77ГОСТ 22442-77