| Обозначение: | ГОСТ 2287-88 |
| Обозначение англ: | GOST 2287-88 |
| Статус: | взамен |
| Название рус.: | Гребенки резьбонарезные плоские. Технические условия |
| Название англ.: | Flat thread chasers. Specification |
| Дата добавления в базу: | 01.09.2013 |
| Дата актуализации: | 01.01.2021 |
| Дата введения: | 01.01.1990 |
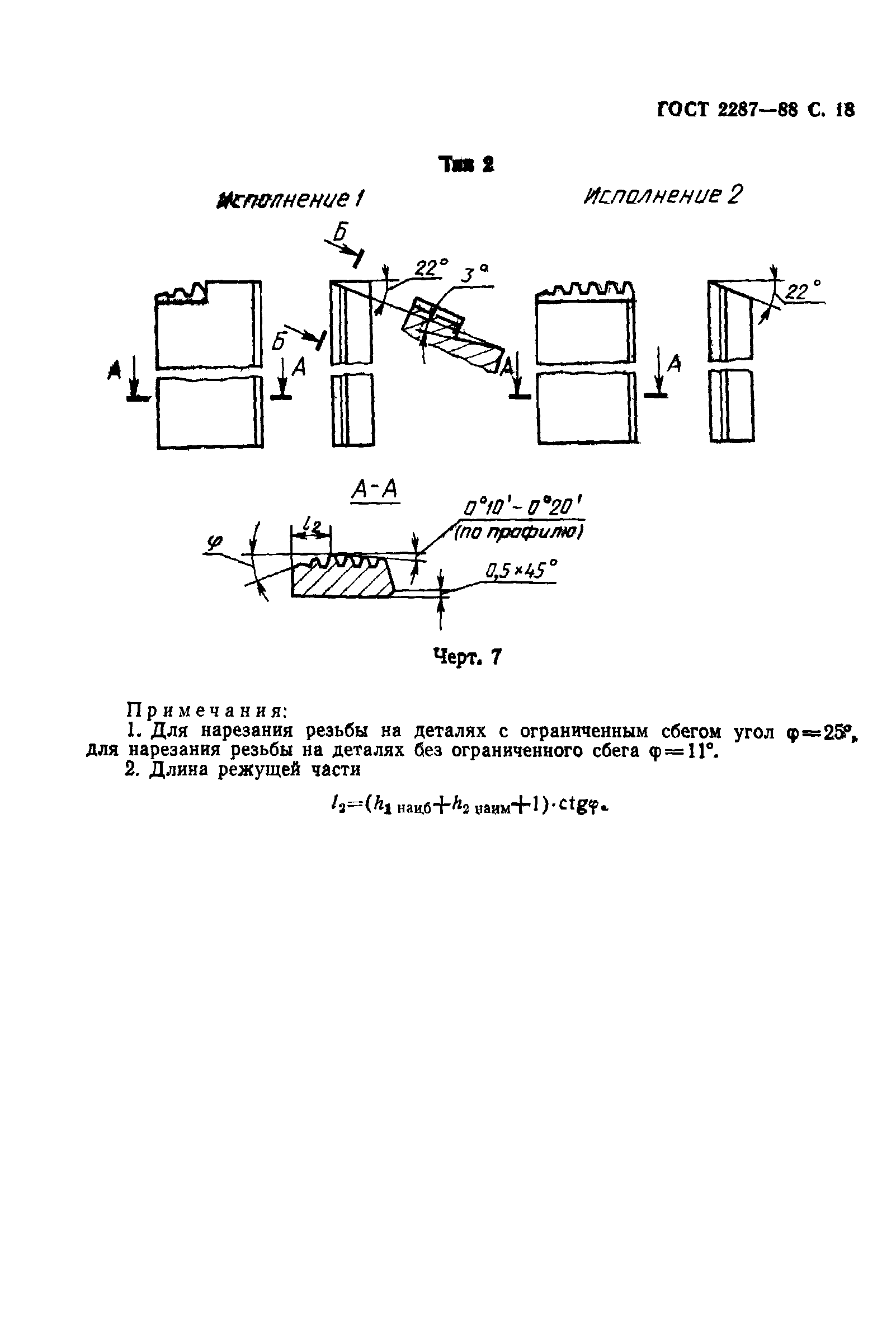
| Область применения: | Стандарт расрпостраняется на плоские гребенки в комплекте из 4 штук с вышлифованным и нешлифованным профилем, предназначенные для нарезания метрической резьбы , трубной цилиндрической резьбы и дюймовой резьбы. |
| Оглавление: | 1 Основные размеры 2 Технические требования 3 Приемка 4 Методы контроля 5 Транспортирование и хранение Приложение (рекомендуемое) Элементы конструкции и геометрические параметры гребенок |
| Разработан: | Министерство станкостроительной и инструментальной промышленности СССР
|
| Утверждён: | 20.09.1988 Государственный комитет СССР по стандартам (USSR National Committee on Standards 3189)
|
| Издан: | Издательство стандартов (1988 г. )
|
| Заменяет собой: | |
| Нормативные ссылки: |   ГОСТ 9.014-78 «Единая система защиты от коррозии и старения. Временная противокоррозионная защита изделий. Общие требования»  ГОСТ 24705-81 «Основные нормы взаимозаменяемости. Резьба метрическая. Основные размеры»  ГОСТ 4543-71 «Прокат из легированной конструкционной стали. Технические условия»  ГОСТ 2789-73 «Шероховатость поверхности. Параметры и характеристики»  ГОСТ 16093-81 «Основные нормы взаимозаменяемости. Резьба метрическая. Допуски. Посадки с зазором»  ГОСТ 1412-85 «Чугун с пластинчатым графитом для отливок. Марки»  ГОСТ 1759.2-82 «Болты, винты и шпильки. Дефекты поверхности и методы контроля» ГОСТ 18088-83 «Инструмент металлорежущий, алмазный, дереворежущий, слесарно-монтажный и вспомогательный. Упаковка, маркировка, транспортирование и хранение»  ГОСТ 19265-73 «Прутки и полосы из быстрорежущей стали. Технические условия» ГОСТ 23726-79 «Инструмент металлорежущий и дереворежущий. Приемка» ГОСТ 25706-83 «Лупы. Типы, основные параметры. Общие технические требования»  ГОСТ 6357-81 «Основные нормы взаимозаменяемости. Резьба трубная цилиндрическая»  ГОСТ 8.051-81 «Государственная система обеспечения единства измерений. Погрешности, допускаемые при измерении линейных размеров до 500 мм»  ГОСТ 9013-59 «Металлы. Метод измерения твердости по Роквеллу» ОСТ НКТП 1261 «Допуски для дюймовой резьбы по ОСТ НКТП 1260, 2-й класс точности» ОСТ НКТП 1262 «Допуски для дюймовой резьбы по ОСТ НКТП 1260, 3-й класс точности»  ОСТ НКТП 1260 «Дюймовая резьба с углом профиля 55 градусов» ГОСТ 1050-74 «Сталь углеродистая качественная конструкционная. Технические условия» ГОСТ 2287-61 «Гребенки резьбонарезные плоские»
|