Скачать ГОСТ 23046-78 Соединения паяные. Метод испытаний на ударДата актуализации: 01.01.2021
|
| Обозначение: | ГОСТ 23046-78 |
| Обозначение англ: | GOST 23046-78 |
| Статус: | действует |
| Название рус.: | Соединения паяные. Метод испытаний на удар |
| Название англ.: | Brazing and soldering joints. Method of impact tests |
| Дата добавления в базу: | 01.09.2013 |
| Дата актуализации: | 01.01.2021 |
| Дата введения: | 01.07.1979 |
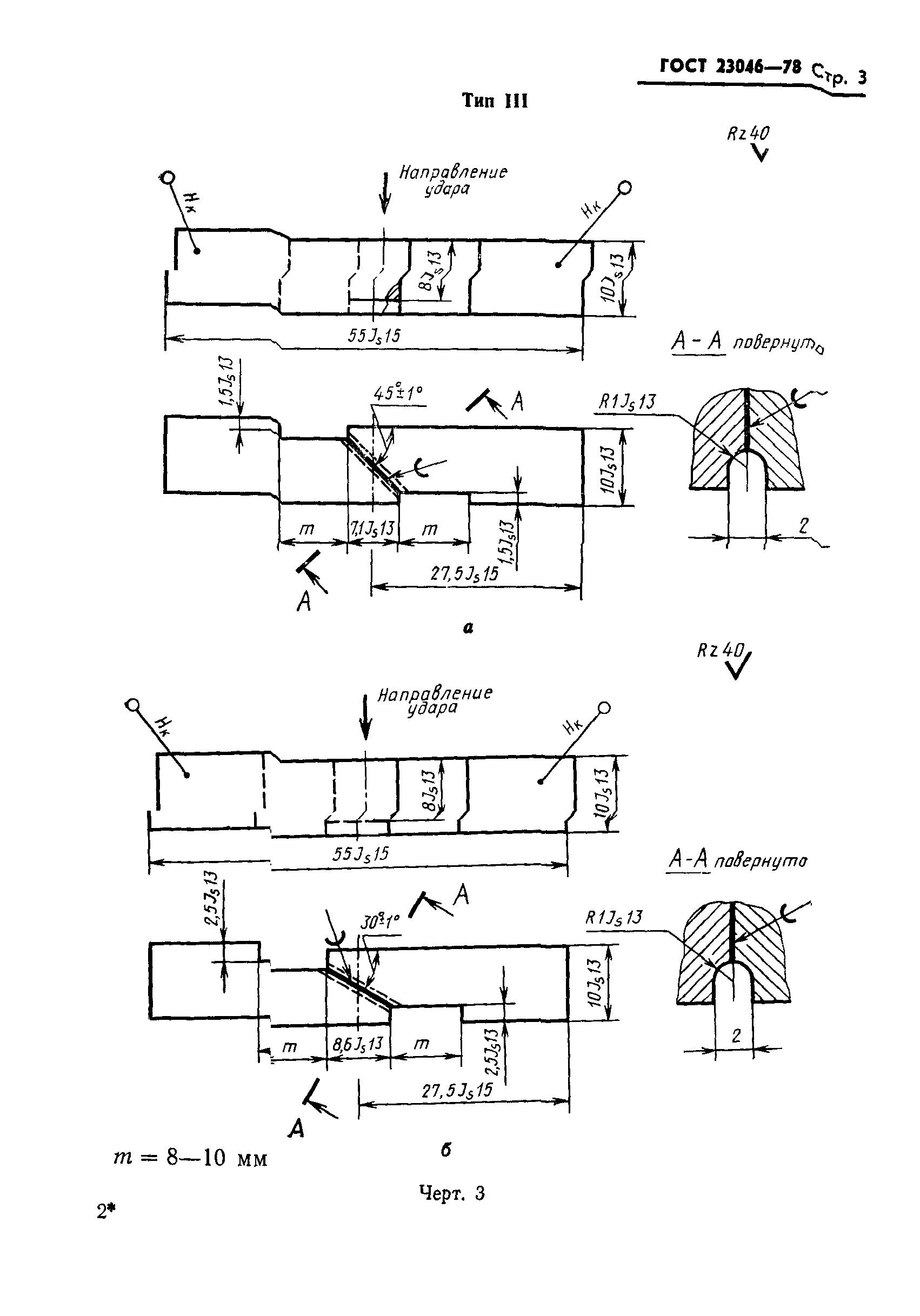
| Область применения: | Стандарт распространяется на паяные соединения из металлов и сплавов, которые подвергаются ударным нагрузкам, и устанавливает метод испытаний для определения относительной работы разрушения. Испытания проводят при определении качества паяных соединений, пригодности способов, режимов и материалов, применяемых при пайке. |
| Оглавление: | 1 Отбор образцов 2 Подготовка к испытаниям 3 Аппаратура 4 Проведение испытаний 4.1 Проведение испытаний паяных образцов наударный изгиб 4.2 Проведение испытаний паяных образцов на ударный срез 5 Обработка результатов Приложения |
| Утверждён: | 31.03.1978 Госстандарт СССР (USSR Gosstandart 913) |
| Издан: | Издательство стандартов (1979 г. ) |
| Список изменений: |
|
| Нормативные ссылки: |














