Скачать ГОСТ 23211-78 Блоки универсальных штампов совмещенного действия для обрезки облоя и пробивки отверстия у круглых в плане штампованных поковок на кривошипных прессах. Конструкция и размерыДата актуализации: 01.01.2021
|
| Обозначение: | ГОСТ 23211-78 |
| Обозначение англ: | GOST 23211-78 |
| Статус: | действует |
| Название рус.: | Блоки универсальных штампов совмещенного действия для обрезки облоя и пробивки отверстия у круглых в плане штампованных поковок на кривошипных прессах. Конструкция и размеры |
| Название англ.: | Units of universal compound dies for clipping and piercing of round in plan vien die fordinds on crank presses. Design and dimensions |
| Дата добавления в базу: | 01.09.2013 |
| Дата актуализации: | 01.01.2021 |
| Дата введения: | 01.07.1979 |
| Область применения: | Стандарт распространяется на блоки универсальных штампов для обрезки облоя и пробивки отверстия у круглых в плане штампованных поковок на однокривошипных закрытых прессах простого действия по ГОСТ 10026—75. |
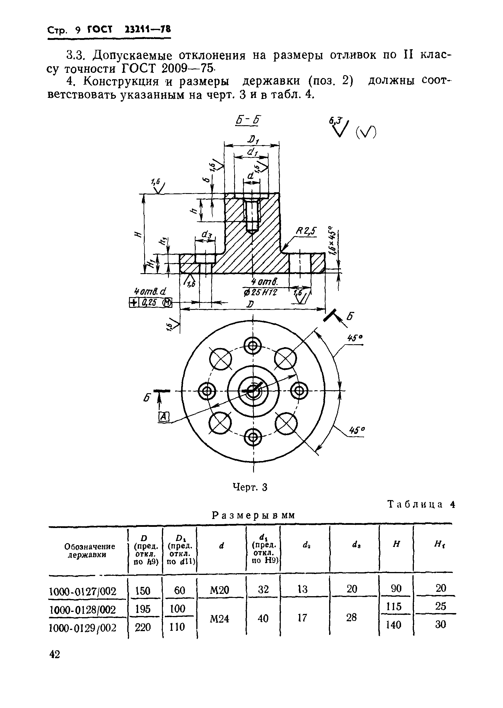
| Оглавление: | Приложение 1 (справочное) Компоновка блока универсального штампа для обрезки облоя и пробивки отверстия у круглых в плане штампованных поковок на кривошипных прессах с гидропневматической подушкой Приложение 3 (справочное) Компоновка блока универсального штампа для обрезки облоя и пробивки отверстия у поковок круглых в плане на кривошипных прессах с буферным устройством с тарельчатыми пружинами Приложение 4 (справочное) Компоновка блока универсального штампа для обрезки облоя и пробивки отверстия у поковок круглых в плане на кривошипных прессах с буферным устройством с винтовыми цилиндрическими пружинами |
| Утверждён: | 12.07.1978 Госстандарт СССР (USSR Gosstandart 1874) |
| Список изменений: |
|



























Текстовое изменение № 1 от 01.10.1984
