Скачать ГОСТ 23586-79 Монтаж электрический радиоэлектронной аппаратуры и приборов. Технические требования к жгутам и их креплению

Дата актуализации: 01.01.2021

ГОСТ 23586-79

Монтаж электрический радиоэлектронной аппаратуры и приборов. Технические требования к жгутам и их креплению

Обозначение: ГОСТ 23586-79
Обозначение англ: GOST 23586-79
Статус:заменен
Название рус.:Монтаж электрический радиоэлектронной аппаратуры и приборов. Технические требования к жгутам и их креплению
Название англ.:Mounting of electric radioelectronic equipment and instruments. Technical requirements for braids and their fastening
Дата добавления в базу:01.10.2014
Дата актуализации:01.01.2021
Дата введения:01.07.1980
Дата окончания срока действия:01.07.2001
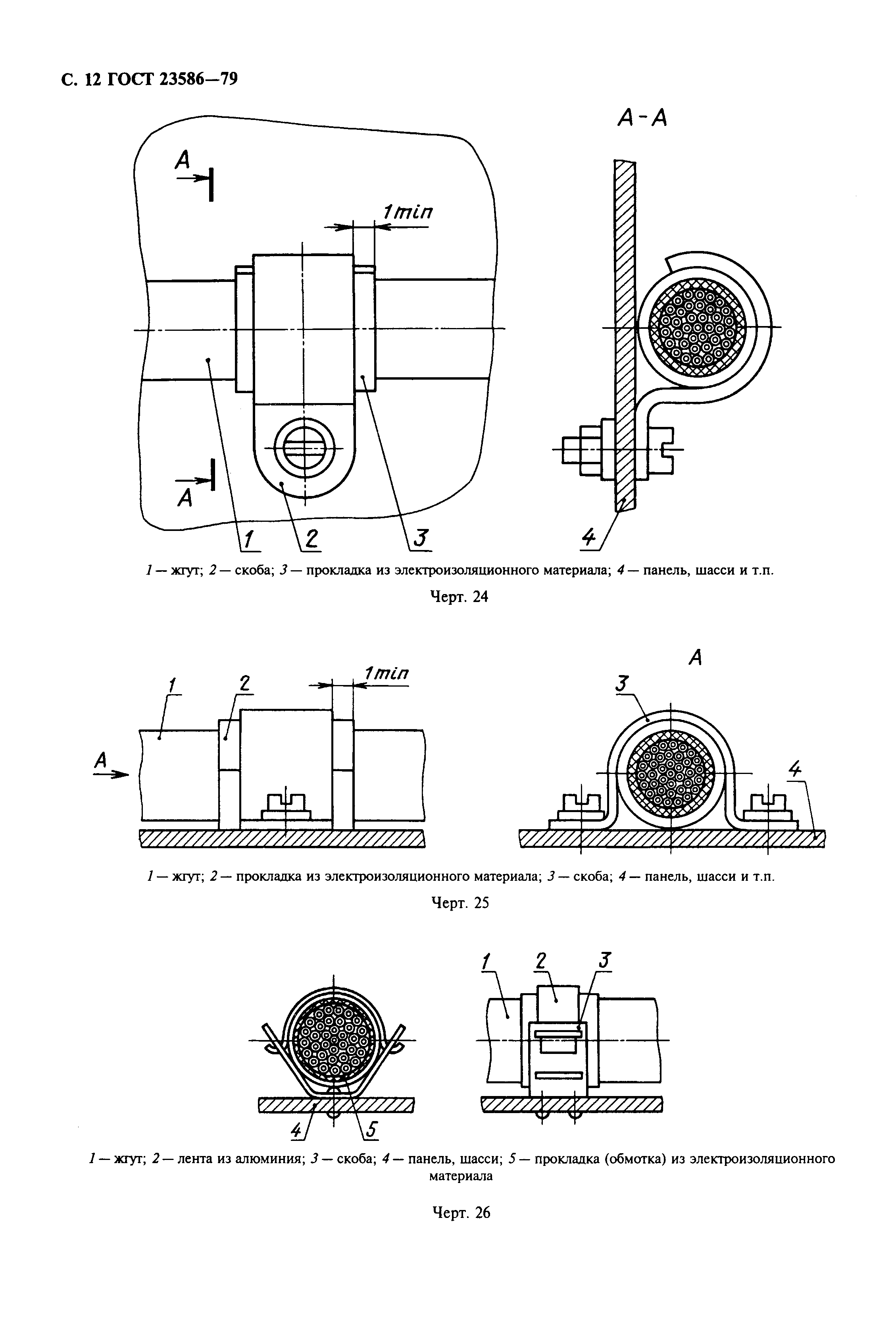
Область применения:Стандарт устанавливает технические требования к конструкциям жгутов, применяемых при электрическом монтаже, выполняемом внутри радиоэлектронной аппаратуры, приборов и устройств и отвечающим общим техническим требованиям нормативной документации. Стандарт не распространяется на технические требования к технологическому процессу изготовления и крепления жгутов.
Утверждён:26.04.1979 Государственный комитет СССР по стандартам (USSR National Committee on Standards 1532)
Издан: Издательство стандартов (1979 г. )
ИПК Издательство стандартов (1998 г. )
Нормативные ссылки:
ГОСТ 23586-79ГОСТ 23586-79ГОСТ 23586-79ГОСТ 23586-79ГОСТ 23586-79ГОСТ 23586-79ГОСТ 23586-79ГОСТ 23586-79ГОСТ 23586-79ГОСТ 23586-79ГОСТ 23586-79ГОСТ 23586-79ГОСТ 23586-79ГОСТ 23586-79ГОСТ 23586-79ГОСТ 23586-79ГОСТ 23586-79ГОСТ 23586-79ГОСТ 23586-79ГОСТ 23586-79ГОСТ 23586-79