Скачать ГОСТ 2379-77 Пластины из быстрорежущей стали к резцам. Формы и размеры

Дата актуализации: 01.01.2021

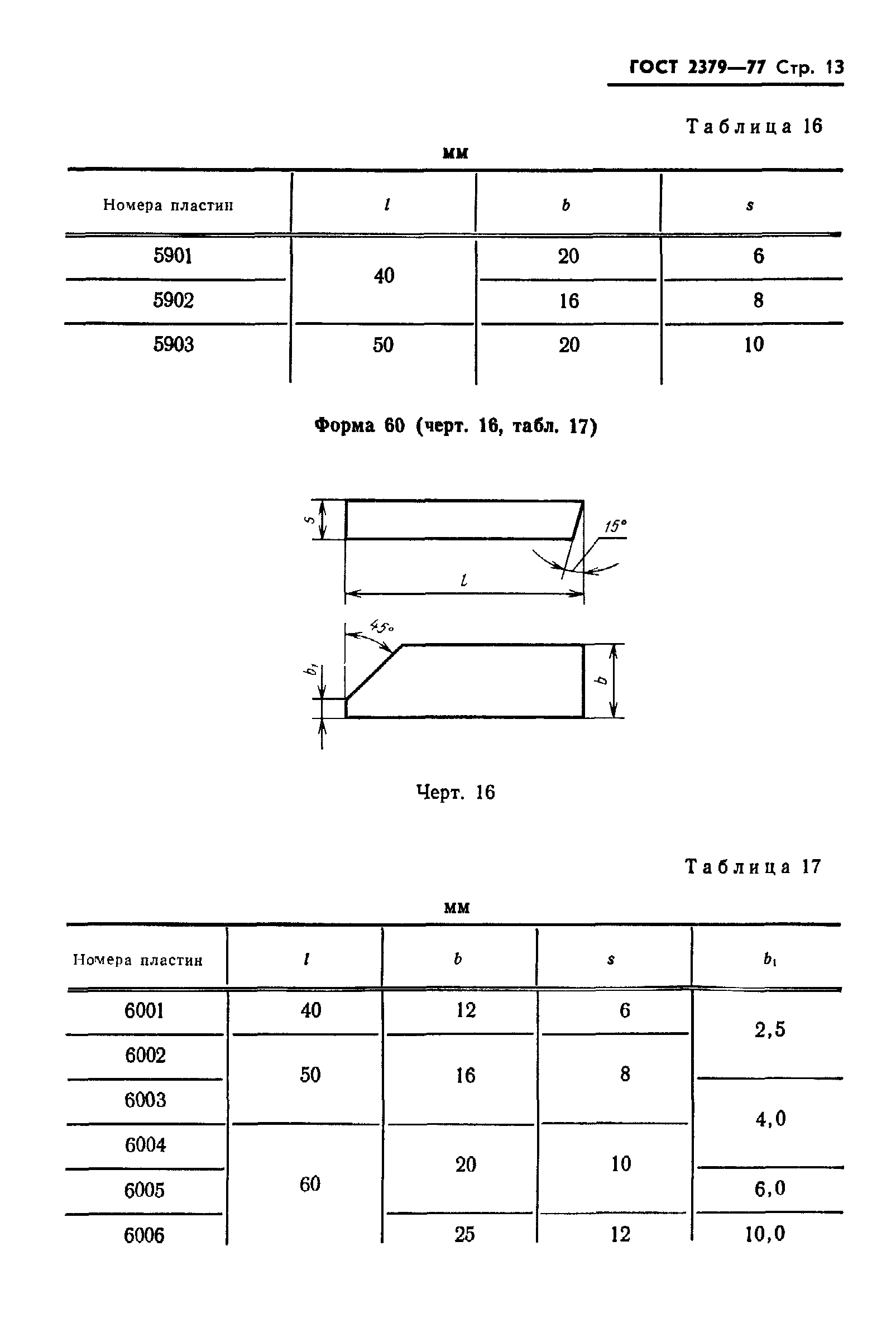
ГОСТ 2379-77

Пластины из быстрорежущей стали к резцам. Формы и размеры

Обозначение: ГОСТ 2379-77
Обозначение англ: GOST 2379-77
Статус:взамен
Название рус.:Пластины из быстрорежущей стали к резцам. Формы и размеры
Название англ.:Hss tool tips. Shapes and dimensions
Дата добавления в базу:01.09.2013
Дата актуализации:01.01.2021
Дата введения:01.07.1978
Оглавление:Приложение Примерное назначение пластин и размеры сечения резцов
Утверждён:16.03.1977 Госстандарт СССР (USSR Gosstandart 653)
Издан: Издательство стандартов (1985 г. )
Список изменений:
Заменяет собой:
  • ГОСТ 2379-67 «Пластинки из быстрорежущей стали к резцам. Формы и размеры»
Нормативные ссылки:
ГОСТ 2379-77ГОСТ 2379-77ГОСТ 2379-77ГОСТ 2379-77ГОСТ 2379-77ГОСТ 2379-77ГОСТ 2379-77ГОСТ 2379-77ГОСТ 2379-77ГОСТ 2379-77ГОСТ 2379-77ГОСТ 2379-77ГОСТ 2379-77ГОСТ 2379-77ГОСТ 2379-77ГОСТ 2379-77ГОСТ 2379-77ГОСТ 2379-77ГОСТ 2379-77ГОСТ 2379-77ГОСТ 2379-77ГОСТ 2379-77ГОСТ 2379-77ГОСТ 2379-77ГОСТ 2379-77

Текстовое изменение Поправка

Поправка