Скачать ГОСТ 25010-81 Соколы для штукатурных работ. Технические условия

Дата актуализации: 01.01.2021

ГОСТ 25010-81

Соколы для штукатурных работ. Технические условия

Обозначение: ГОСТ 25010-81
Обозначение англ: GOST 25010-81
Статус:отменен в рф
Название рус.:Соколы для штукатурных работ. Технические условия
Название англ.:Howks for plastering. Specifications
Дата добавления в базу:01.10.2014
Дата актуализации:01.01.2021
Дата введения:01.01.1983
Дата окончания срока действия:01.07.1995
Область применения:Стандарт распространяется на соколы для штукатурных работ, предназначаемые для переноса раствора перед нанесением его на обрабатываемую поверхность.
Оглавление:1 Основные размеры и параметры
2 Технические требования
3 Правила приемки
4 Методы контроля
5 Маркировка, упаковка, транспортирование и хранение
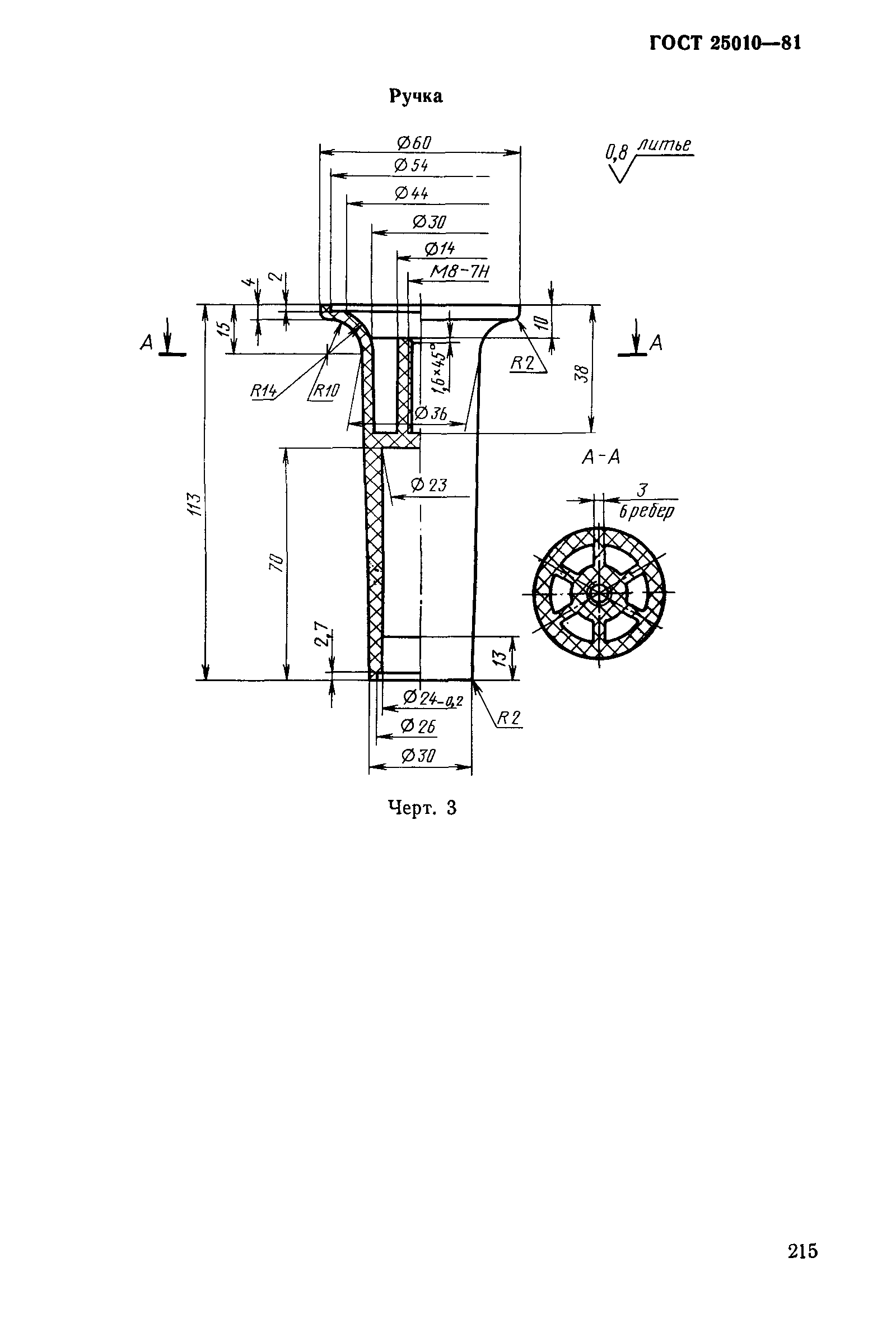
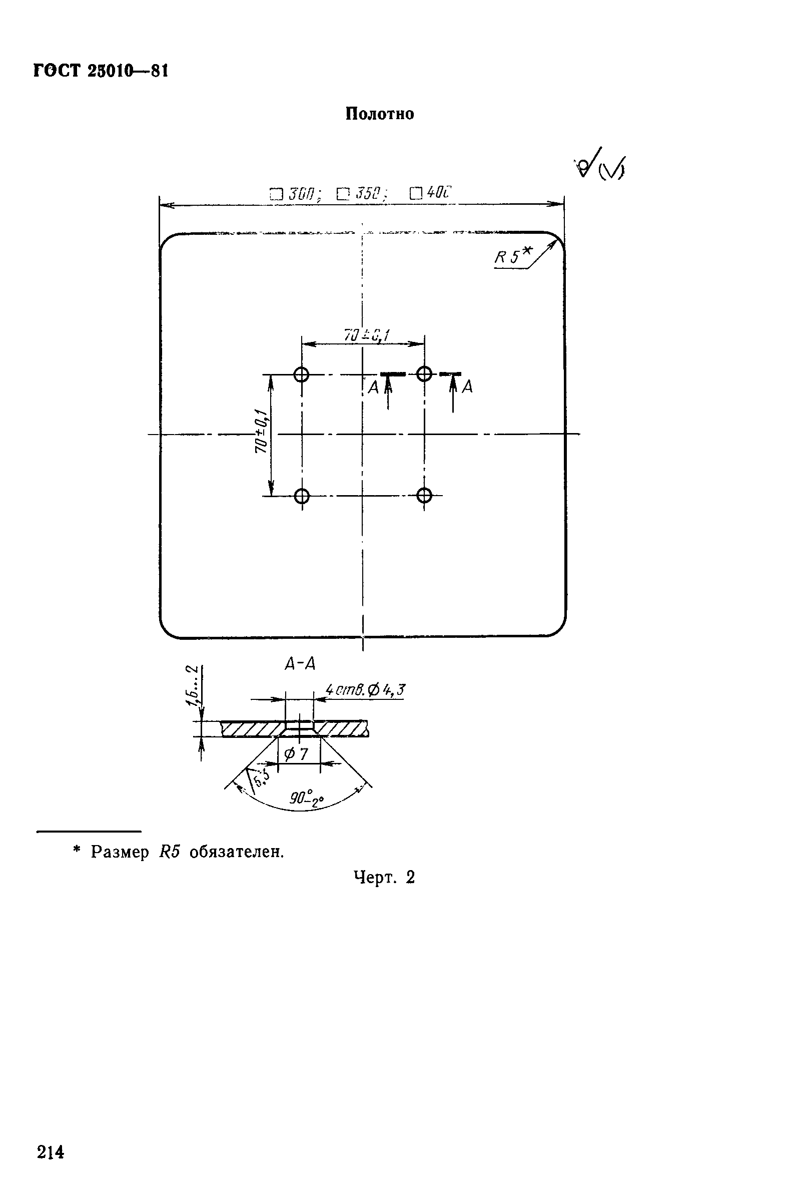
Приложение (рекомендуемое) Конструкция и размеры деталей сокола
Разработан: Министерство строительного, дорожного и коммунального машиностроения
Утверждён:08.10.1981 Государственный комитет СССР по делам строительства (172)
Издан: Издательство стандартов (1994 г. )
Список изменений:
Нормативные ссылки:
ГОСТ 25010-81ГОСТ 25010-81ГОСТ 25010-81ГОСТ 25010-81ГОСТ 25010-81ГОСТ 25010-81ГОСТ 25010-81ГОСТ 25010-81ГОСТ 25010-81ГОСТ 25010-81ГОСТ 25010-81ГОСТ 25010-81ГОСТ 25010-81

Текстовое изменение Поправка

Поправка